- Partiron
- OEM Parts
- Yamaha
- motorcycle
- 2006
- XV17ATVC (ROAD STAR SILVERADO CA) 5VPB 2006
REAR MASTER CYLINDER
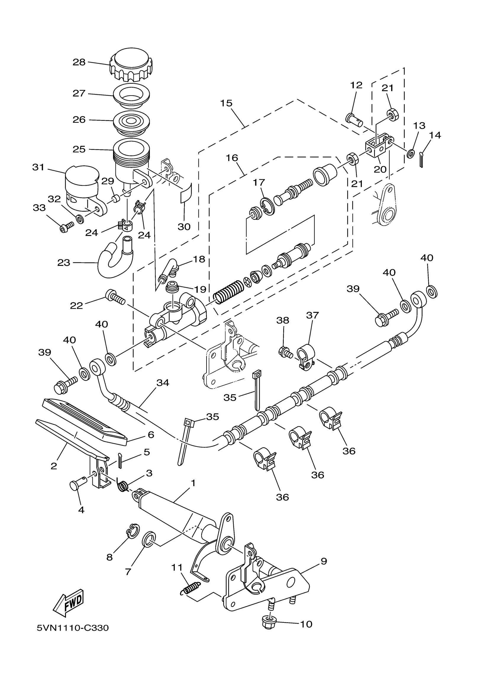
Yamaha XV17ATVC (ROAD STAR SILVERADO CA) 5VPB 2006 REAR MASTER CYLINDER Diagram
#
1
PEDAL, BRAKE
4WM-27211-00-00
Unavailable
2
PEDAL, BRAKE
4WM-27242-00-00
Unavailable
6
CAP
4WM-27285-00-00
Unavailable
9
BRACKET 4
4WM-2741L-00-00
Unavailable
14
PIN, COTTER
91490-16020-00
Unavailable
16
CYLINDER KIT, MASTER
3TU-W0042-51-00
Unavailable
17
CIRCLIP, MASTER CYLINDER
3LN-2585G-00-00
Unavailable
18
JOINT
4BP-2582A-00-00
Unavailable
19
O-RING
4BP-2585F-01-00
Unavailable
20
JOINT
4BP-27222-02-00
Unavailable
21
NUT
90170-08010-00
Unavailable
22
BOLT, BUTTON HEAD(3YF)
92014-08025-00
Unavailable
23
HOSE, RESERVOIR
4WM-25895-00-00
Unavailable
24
CLIP (5K4)
90467-14057-00
Unavailable
25
TANK, RESERVOIR
31A-25894-10-00
Unavailable
26
DIAPHRAGM, RESERVER
360-25854-01-00
Unavailable
27
BUSH,DIAPHRAGM
2GU-25855-00-00
Unavailable
28
CAP, RESERVOIR
2KF-25852-50-00
Unavailable
29
COLLAR
90387-06072-00
Unavailable
30
SEAL
1UF-15379-00-00
Unavailable
31
COVER, RESERVOIR TANK
4NK-25888-00-00
Unavailable
32
WASHER, PLATE(52G)
90201-064J1-00
Unavailable
33
BOLT, BUTTON HEAD
92014-06020-00
Unavailable
34
HOSE, BRAKE 4
5VN-2581J-00-00
Unavailable
35
BAND
1UA-82591-00-00
Unavailable
36
CLAMP(4HM)
90464-15192-00
Unavailable
37
CLAMP 1
90461-08031-00
Unavailable
38
BOLT, FLANGE
95817-06012-00
Unavailable
39
BOLT, UNION(3GM)
90401-10159-00
Unavailable
40
WASHER, PLATE(481)
90201-10118-00
Unavailable
