- Partiron
- OEM Parts
- Yamaha
- motorcycle
- 2009
- XV17ATSYG (ROAD STAR SILVERADO S) 2D9F 2009
REAR MASTER CYLINDER
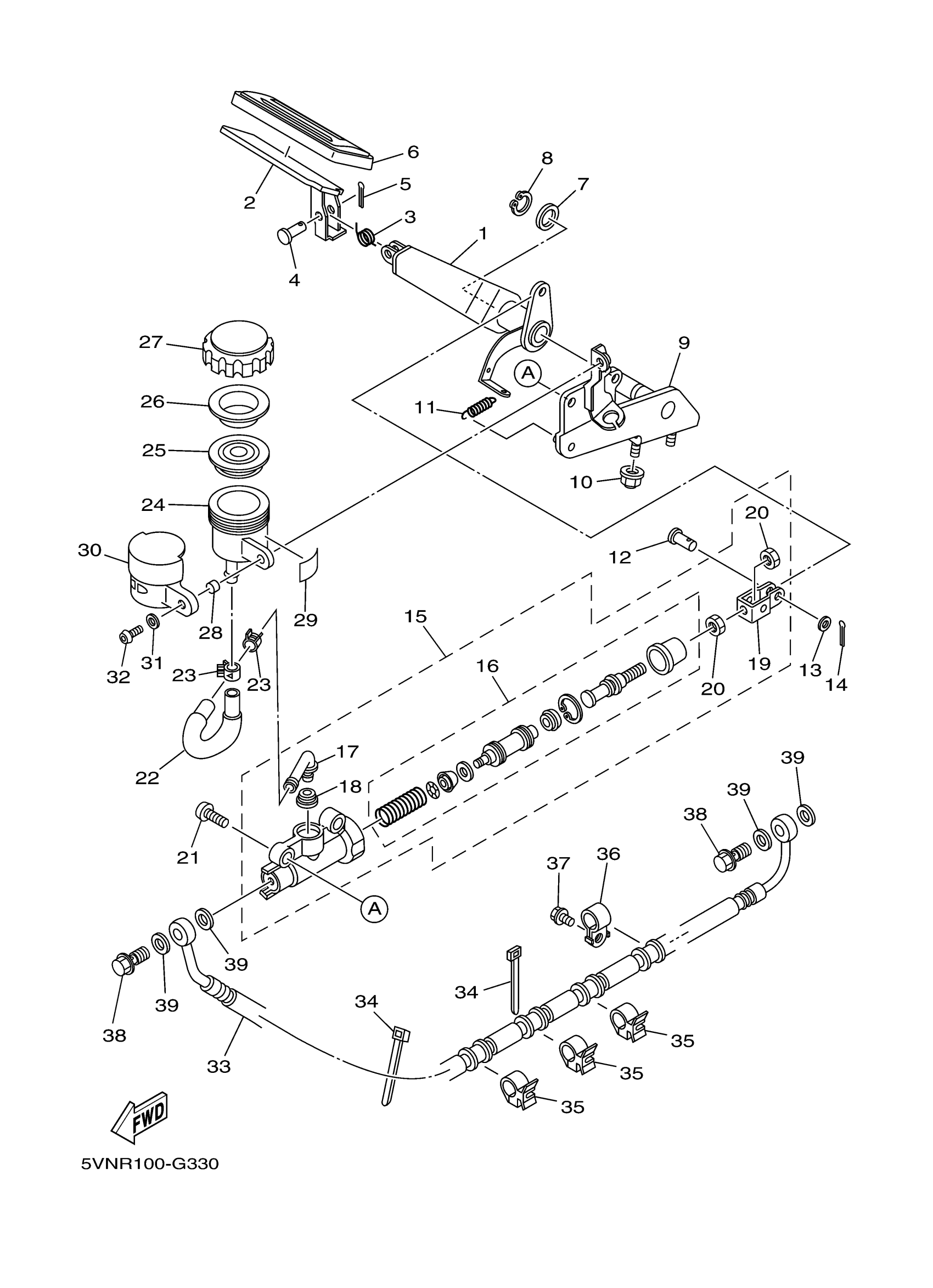
Yamaha XV17ATSYG (ROAD STAR SILVERADO S) 2D9F 2009 REAR MASTER CYLINDER Diagram
#
1
PEDAL, BRAKE
4WM-27211-00-00
Unavailable
2
PEDAL, BRAKE
4WM-27242-00-00
Unavailable
6
CAP
4WM-27285-00-00
Unavailable
9
BRACKET SUB ASSY (LEFT)
5VN-2740A-00-00
Unavailable
14
PIN, COTTER
91490-16020-00
Unavailable
16
CYLINDER KIT, MASTER
3TU-W0042-51-00
Unavailable
17
JOINT
4BP-2582A-00-00
Unavailable
18
O-RING
4BP-2585F-01-00
Unavailable
19
JOINT
4BP-27222-02-00
Unavailable
20
NUT
90170-08010-00
Unavailable
21
BOLT, BUTTON HEAD(3YF)
92014-08025-00
Unavailable
22
HOSE, RESERVOIR
4WM-25895-00-00
Unavailable
23
CLIP (5K4)
90467-14057-00
Unavailable
24
TANK, RESERVOIR
31A-25894-10-00
Unavailable
25
DIAPHRAGM, RESERVER
360-25854-01-00
Unavailable
26
BUSH,DIAPHRAGM
2GU-25855-00-00
Unavailable
27
CAP, RESERVOIR
2KF-25852-50-00
Unavailable
28
COLLAR
90387-06072-00
Unavailable
29
SEAL
1UF-15379-00-00
Unavailable
30
COVER, RESERVOIR TANK
4NK-25888-00-00
Unavailable
31
WASHER, PLATE(52G)
90201-064J1-00
Unavailable
32
BOLT, BUTTON HEAD
92014-06020-00
Unavailable
33
HOSE, BRAKE 4
5VN-2581J-00-00
Unavailable
34
BAND
1UA-82591-00-00
Unavailable
35
CLAMP(4HM)
90464-15192-00
Unavailable
36
CLAMP 1
90461-08031-00
Unavailable
37
BOLT, FLANGE
95817-06012-00
Unavailable
38
BOLT, UNION
90401-10020-00
Unavailable
39
GASKET
90430-10005-00
Unavailable
