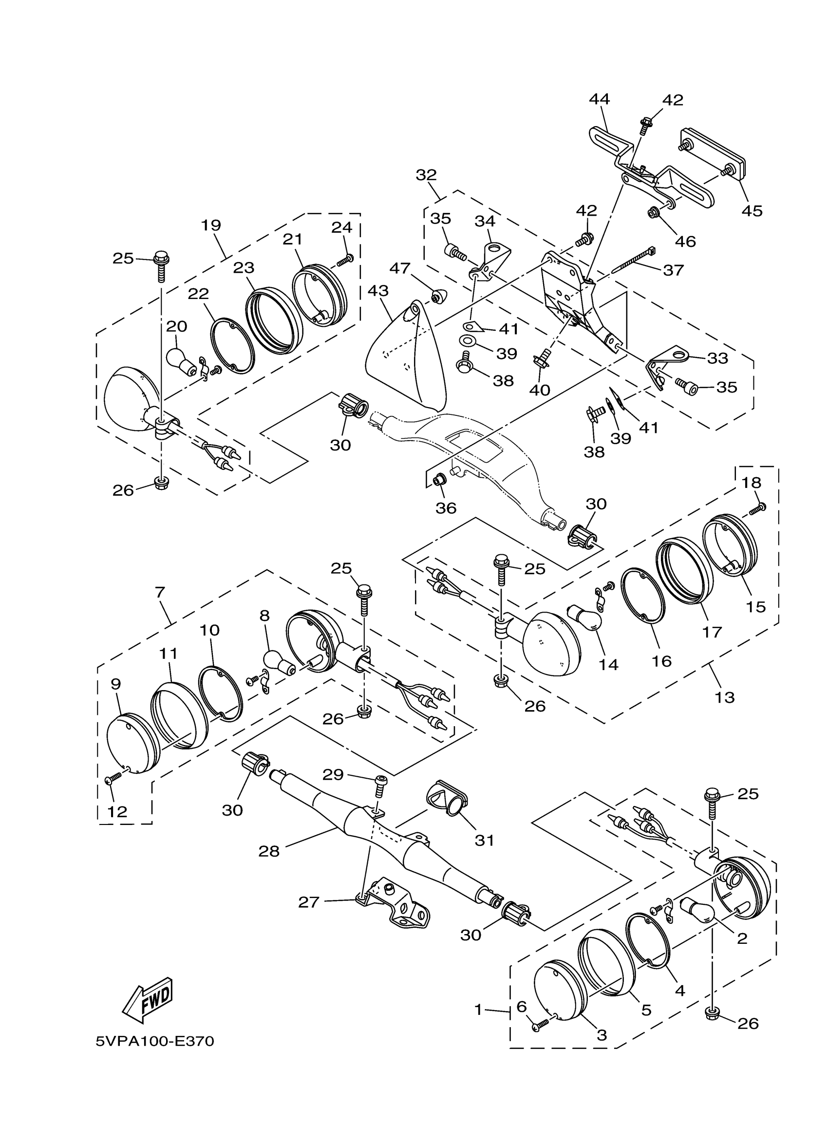
Yamaha XV17ATSYG (ROAD STAR SILVERADO S) 2D9F 2009 FLASHER LIGHT Diagram
#
6
SCREW, COUNTERSUNK
90151-03003-00
Unavailable
12
SCREW, COUNTERSUNK
90151-03003-00
Unavailable
15
LENS, FLASHER
1D6-83312-20-00
Unavailable
18
SCREW, COUNTERSUNK
90151-03003-00
Unavailable
19
REAR FLASHER LIGHT ASSY 2
5VN-83340-02-00
Unavailable
21
LENS, FLASHER
1D6-83312-10-00
Unavailable
24
SCREW, COUNTERSUNK
90151-03003-00
Unavailable
25
BOLT, FLANGE(4AS)
95024-06030-00
Unavailable
26
NUT, FLANGE(7NB)
95780-06500-00
Unavailable
27
STAY 8
5VN-2317V-00-00
Unavailable
28
STAY, FLASHER 2
5VN-83369-00-00
Unavailable
29
BOLT, BUTTON HEAD
92014-06010-00
Unavailable
30
DAMPER, FLASHER 1
5VN-83321-00-00
Unavailable
31
PLUG, BLIND
4NK-83345-00-00
Unavailable
32
LICENCE BRACKET ASSY
5VN-84550-00-00
Unavailable
33
STAY, SETTING
5VN-8431R-00-00
Unavailable
34
METAL, ADJUSTING
5VN-8431T-00-00
Unavailable
35
BOLT,SOCKET
91317-06012-00
Unavailable
36
GROMMET
90480-10010-00
Unavailable
37
BAND
1UA-82591-00-00
Unavailable
38
BOLT, FLANGE
95817-06012-00
Unavailable
39
WASHER, PLATE(52G)
90201-064J1-00
Unavailable
40
BOLT, FLANGE
95817-06014-00
Unavailable
41
SEAL 3
5VN-2173M-00-00
Unavailable
42
BOLT, WASHER BASED(JA9)
90105-06696-00
Unavailable
43
BRACKET
5VN-84703-00-00
Unavailable
44
BRACKET, LICENSE
5VP-84751-00-00
Unavailable
45
REAR REFLECTOR ASSY
1FK-85130-00-00
Unavailable
46
NUT, FLANGE(3GM)
95707-05500-00
Unavailable
47
DAMPER 2
42U-21639-00-00
Unavailable
