Yamaha XV17ATSXS (ROAD STAR SILVERADO S) 2D9C 2008 SIDE COVER Diagram
#
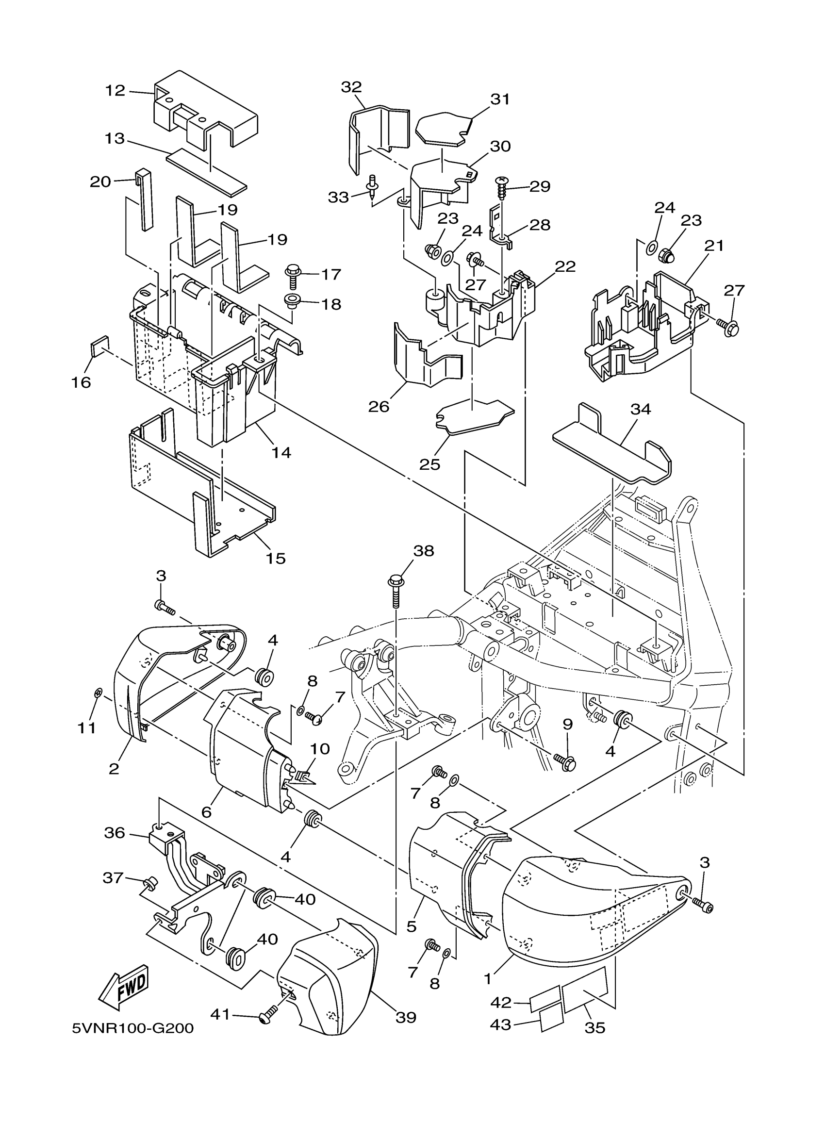
1
COVER, SIDE 1
4WM-21711-01-PH
Unavailable
2
COVER, SIDE 2
4WM-21721-00-PH
Unavailable
5
COVER 9
4WM-2117X-00-PJ
Unavailable
6
COVER 10
4WM-2117Y-00-PJ
Unavailable
12
COVER, BATTERY
5VN-82129-00-00
Unavailable
14
BOX, BATTERY
5VN-2177G-00-00
Unavailable
15
SEAL 1
5VN-21732-10-00
Unavailable
16
SEAL, BATTERY
5VN-82118-00-00
Unavailable
17
BOLT, FLANGE
95817-06014-00
Unavailable
18
COLLAR (3L1)
90387-07717-00
Unavailable
19
DAMPER
5VN-21746-00-00
Unavailable
20
DAMPER (L.H)
1AE-2834E-00-00
Unavailable
21
STAY, SIDE COVER 1
5VN-2172E-00-00
Unavailable
22
STAY, SIDE COVER 2
5VN-2174E-00-00
Unavailable
23
NUT, CROWN
90176-06003-00
Unavailable
24
WASHER, PLATE
90201-06013-00
Unavailable
25
SEAL, 2
5VN-216A2-00-00
Unavailable
26
SEAL, 3
5VN-216A3-00-00
Unavailable
27
BOLT, WITH WASHER(55K)
90119-06117-00
Unavailable
28
CLAMP, COUPLER
5VN-82523-00-00
Unavailable
29
SCREW, TRUSS TAP.
97707-50014-00
Unavailable
30
COVER, CAP
5VN-8234W-00-00
Unavailable
31
SEAL, 4
5VN-216A4-00-00
Unavailable
32
SEAL
5VN-21669-00-00
Unavailable
33
RIVET
90269-06001-00
Unavailable
34
SHEET 2
5VN-21267-10-00
Unavailable
35
PLATE, EPA (CALIFORNIA)
5VN-2176P-40-00
Unavailable
35
PLATE, EPA (NON CALIFORNIA)
5VN-2179W-40-00
Unavailable
36
BRACKET 3
5VN-2175V-00-00
Unavailable
37
NUT
90179-05003-00
Unavailable
38
BOLT, FLANGE
95817-06025-00
Unavailable
39
COVER, SIDE 3
5VN-21731-00-00
Unavailable
40
GROMMET(4DN)
90480-01558-00
Unavailable
41
SCREW(3YF)
90149-05299-00
Unavailable
42
PLATE,ROUTING
4YN-21684-00-00
Unavailable
43
PLATE, ROUTING 2
5PX-21686-00-00
Unavailable
