- Partiron
- OEM Parts
- Yamaha
- motorcycle
- 2007
- XV17ATMWC (ROAD STAR MIDNIGHT SILVERADO CA) 2D9A 2007
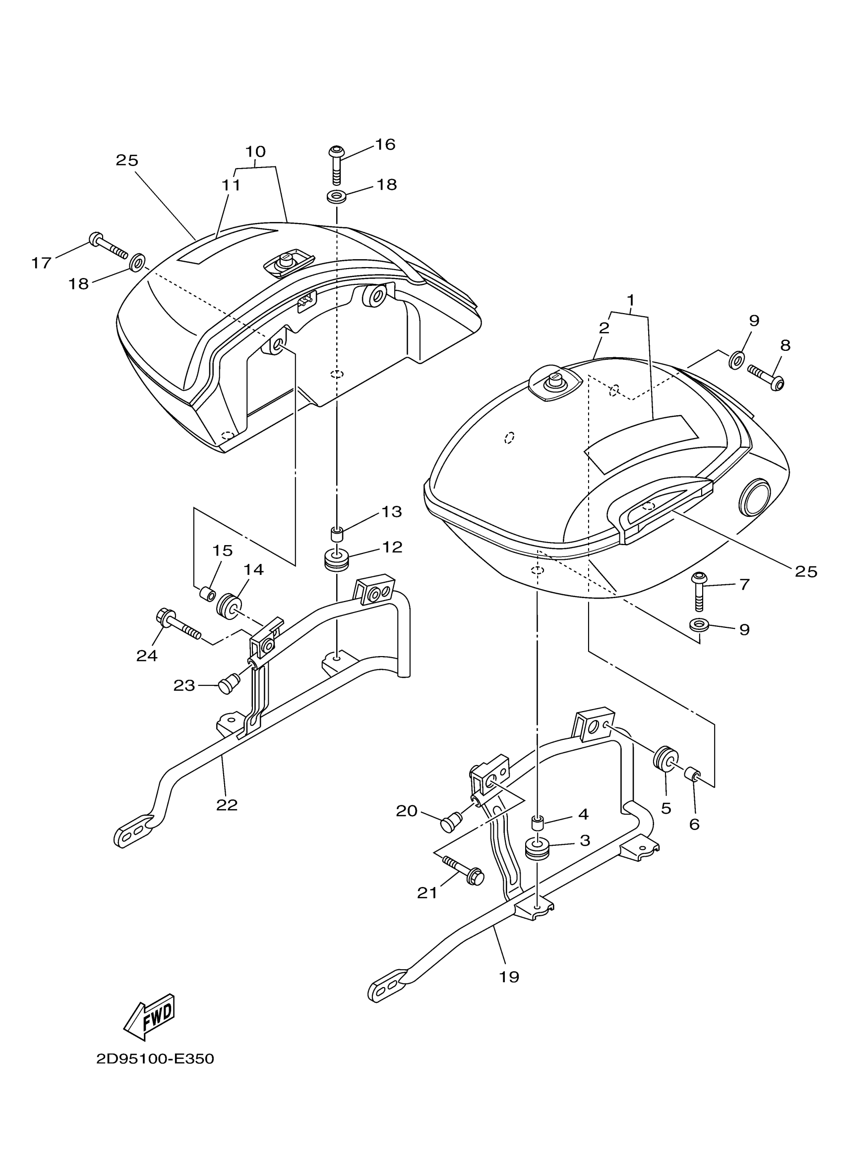
SADDLEBAG 1
Yamaha XV17ATMWC (ROAD STAR MIDNIGHT SILVERADO CA) 2D9A 2007 SADDLEBAG 1 Diagram
#
Description
Price
1
SADDLEBAG COMP. 1
2D9-F8430-00-00
Unavailable
2
. LABEL, CAUTION
5GA-F8446-00-00
Unavailable
10
SADDBAG COMP. 2
2D9-F8440-00-00
Unavailable
11
. LABEL, CAUTION
5GA-F8446-00-00
Unavailable
19
FRAME, SADDLEBAG 1
5GA-28473-01-00
Unavailable
20
PLUG
90338-19212-00
Unavailable
21
BOLT, FLANGE
95817-08050-00
Unavailable
22
FRAME, SADDLEBAG 2
5GA-28474-01-00
Unavailable
23
PLUG
90338-19212-00
Unavailable
24
BOLT, FLANGE
95817-08050-00
Unavailable
25
HINGE
USA-4WM72-41-00
Unavailable
