- Partiron
- OEM Parts
- Yamaha
- motorcycle
- 2010
- XV17ASZCB (ROAD STAR S CA) 5VRL 2010
REAR ARM SUSPENSION
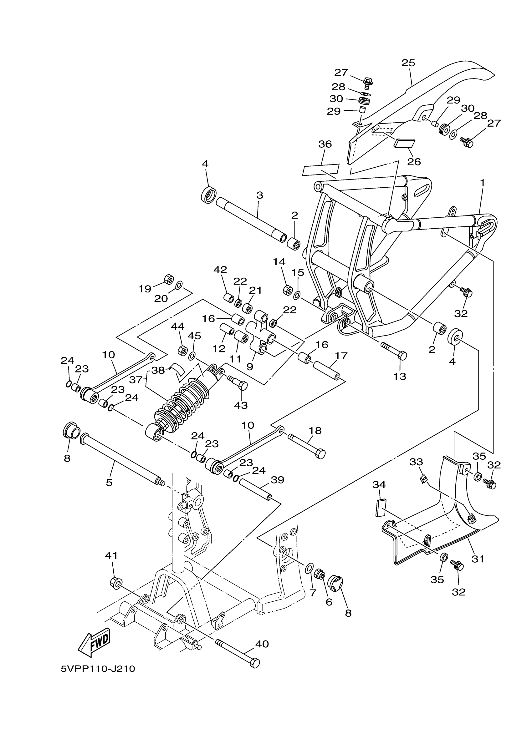
Yamaha XV17ASZCB (ROAD STAR S CA) 5VRL 2010 REAR ARM SUSPENSION Diagram
#
1
REAR ARM COMP.
5VN-22110-01-00
Unavailable
2
BEARING, CYLINDRICAL(36Y)
93317-42550-00
Unavailable
3
BUSH
4WM-22184-00-00
Unavailable
5
AXLE, WHEEL
3GM-25381-10-00
Unavailable
7
WASHER, PLATE
90201-18020-00
Unavailable
9
ARM, RELAY
4WM-2217A-00-00
Unavailable
12
COLLAR (34L)
90387-122J6-00
Unavailable
13
BOLT
90101-12002-00
Unavailable
16
BEARING, CYLINDRICAL(2GH)
93317-41761-00
Unavailable
17
COLLAR(2GH)
90387-126T1-00
Unavailable
18
BOLT(2GH)
90101-12673-00
Unavailable
20
WASHER, PLATE (4N0)
90201-126A7-00
Unavailable
21
BEARING, CYLINDRICAL(3YL)
93317-31771-00
Unavailable
22
OIL SEAL
93109-17071-00
Unavailable
23
BUSH, BIMETAL FORMED (5X6)
90384-18157-00
Unavailable
24
O-RING (1L9)
93210-18322-00
Unavailable
25
CASE, CHAIN
5JA-22311-00-00
Unavailable
26
DAMPER, CHAIN CASE
5VN-22332-00-00
Unavailable
27
BOLT, FLANGE(3DM)
95024-06020-00
Unavailable
28
WASHER, PLATE (J10)
90201-06697-00
Unavailable
29
COLLAR(J45)
90387-064T3-00
Unavailable
30
GROMMET
90480-14026-00
Unavailable
31
CASE, CHAIN 2
5VN-22312-00-00
Unavailable
32
BOLT, WITH WASHER
90119-06001-00
Unavailable
33
NUT, SPRING(4ES)
90183-06069-00
Unavailable
34
DAMPER
22F-2139X-00-00
Unavailable
35
COLLAR
90387-06069-00
Unavailable
36
PLATE, EPA (NON CALIFORNIA)
5VN-2179W-60-00
Unavailable
37
SHOCK ABSORBER ASSY, REAR
4WM-22210-00-00
Unavailable
38
LABEL, WARNING
4AA-22259-80-00
Unavailable
39
COLLAR
90387-1214E-00
Unavailable
40
BOLT(3GD)
90101-12695-00
Unavailable
41
NUT, U FLANGE
95607-12200-00
Unavailable
42
COLLAR(3TJ)
90387-127W0-00
Unavailable
43
BOLT(1WG)
90101-10659-00
Unavailable
44
NUT, U
95617-10100-00
Unavailable
45
WASHER, PLATE(47X)
90201-101J1-00
Unavailable
