- Partiron
- OEM Parts
- Yamaha
- motorcycle
- 2000
- XV1600AMC (ROAD STAR CA) 4WM5 2000
MIDDLE DRIVE GEAR
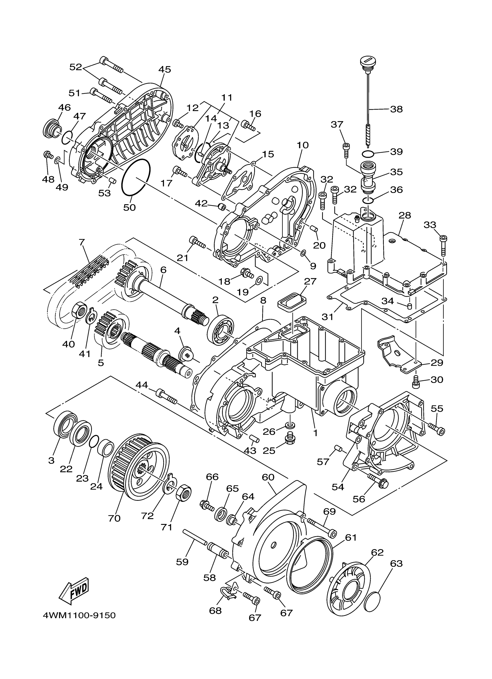
Yamaha XV1600AMC (ROAD STAR CA) 4WM5 2000 MIDDLE DRIVE GEAR Diagram
#
1
CASE, TRANSFER 1
4WM-17541-02-00
Unavailable
5
SPROCKET, CHAIN DRIVE
4WM-17682-00-00
Unavailable
8
GASKET 1
5PX-17929-00-00
Unavailable
10
CASE, TRANSFER 2
4WM-17542-00-00
Unavailable
11
OIL PUMP ASSY
5PX-13100-00-00
Unavailable
13
. O-RING
93210-48214-00
Unavailable
16
BOLT, HEXAGON SOCKET HEAD(1VJ)
90110-06138-00
Unavailable
17
BOLT,SOCKET
91317-06025-00
Unavailable
18
BOLT, FLANGE
95814-08016-00
Unavailable
19
GASKET
90430-08119-00
Unavailable
20
PIN, DOWEL(3VD)
99530-10114-00
Unavailable
21
BOLT,SOCKET HEAD
91314-06025-00
Unavailable
22
OIL SEAL(36Y)
93102-40330-00
Unavailable
23
O-RING(36Y)
93210-30660-00
Unavailable
24
COLLAR(36Y)
90387-304K7-00
Unavailable
25
PLUG, STRAIGHT SCREW(3FA)
90340-14132-00
Unavailable
26
GASKET
214-11198-01-00
Unavailable
27
STRAINER 2
4WM-13421-00-00
Unavailable
28
CAP
4WM-17631-00-00
Unavailable
29
PLATE, CAP
4WM-1763A-00-00
Unavailable
30
BOLT,SOCKET
91317-06014-00
Unavailable
31
GASKET,3
4WM-17932-00-00
Unavailable
32
BOLT, HEXAGON SOCKET HEAD(1VJ)
90110-06138-00
Unavailable
33
BOLT,SOCKET
91317-06040-00
Unavailable
34
PIN, DOWEL(3VD)
99530-10114-00
Unavailable
35
JOINT
4WM-13132-00-00
Unavailable
36
O-RING (4V2)
93210-23326-00
Unavailable
37
BOLT,SOCKET
91317-06025-00
Unavailable
38
PLUG, OIL LEVEL
4WM-15362-00-00
Unavailable
39
O-RING(1KT)
93210-27778-00
Unavailable
40
NUT
90179-22698-00
Unavailable
41
WASHER, LOCK(47X)
90215-26241-00
Unavailable
42
NUT (371)
90179-08004-00
Unavailable
43
PIN, DOWEL(3VD)
99530-10114-00
Unavailable
44
BOLT, SOCKET
91314-08050-00
Unavailable
45
COVER
4WM-15779-00-00
Unavailable
46
PLUG, STRAIGHT SCREW(2GV)
90340-32116-00
Unavailable
47
O-RING (341)
93210-32172-00
Unavailable
48
BOLT, BUTTON HEAD
92014-06010-00
Unavailable
49
GASKET 838153840000
90430-06016-00
Unavailable
50
O-RING (4X7)
93210-92448-00
Unavailable
51
BOLT,SOCKET
91314-06050-00
Unavailable
52
BOLT, SOCKET
91314-08055-00
Unavailable
53
PIN, DOWEL(3VD)
99530-10114-00
Unavailable
54
STAY
4WM-17613-00-00
Unavailable
55
BOLT, SOCKET
91317-08030-00
Unavailable
56
BOLT, FLANGE(4UN)
95814-08050-00
Unavailable
57
PIN
99480-10018-00
Unavailable
58
SLIDER
4WM-17653-00-00
Unavailable
59
PIN, DOWEL
93606-76002-00
Unavailable
60
COVER
4WM-17076-00-00
Unavailable
61
RING, RUBBER
4WM-15449-00-00
Unavailable
62
PLATE 1
4WM-17665-01-00
Unavailable
63
PLATE 2
4WM-17675-00-00
Unavailable
64
GROMMET
4H7-15486-00-00
Unavailable
65
WASHER (4H7)
90209-06096-00
Unavailable
66
BOLT, FLANGE
95817-06012-00
Unavailable
67
BOLT, SOCKET
91314-06035-00
Unavailable
68
CLAMP
90462-06003-00
Unavailable
69
BOLT, HEXAGON SOCKET HEAD
90110-08002-00
Unavailable
70
PULLEY, BELT
4WM-17651-00-00
Unavailable
71
NUT
90179-22698-00
Unavailable
72
WASHER, LOCK(47X)
90215-26241-00
Unavailable
