Yamaha XV1100SKC (VIRAGO 1100 SPECIAL CA) 1998 DRIVE SHAFT Diagram
#
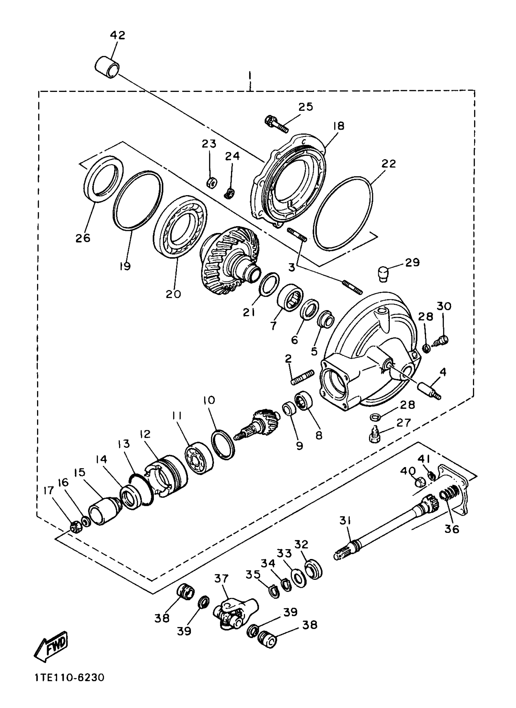
1
REAR AXLE GEAR CASE ASSEMBLY
56W-46101-02-00
Unavailable
2
BOLT, STUD (5E5)
90116-10361-00
Unavailable
4
BOLT, STUD (4H7)
90116-10249-00
Unavailable
7
BRG,CYL-CAL ROLLER 80G KY
93311-43729-00
Unavailable
14
OIL SEAL (4H7)
93101-38098-00
Unavailable
15
COUPLING, GEAR
4H7-46123-01-00
Unavailable
16
WASHER, PLATE 11J7)
90201-14632-00
Unavailable
17
NUT, SELF-LOCKING (1J7)
90185-14070-00
Unavailable
18
HOUSING, BEARING
4H7-46152-00-00
Unavailable
19
SHIM, RING GEAR (0.30T)
1J7-46117-Y0-30
Unavailable
19
SHIM, RING GEAR (0.40T)
1J7-46117-Y0-40
Unavailable
19
SHIM, RING GEAR (0.50T)
1J7-46117-Y0-50
Unavailable
20
BRG,R-B 16014C2 110MM 433G KY
93316-01403-00
Unavailable
21
WASHER, THRUST
22U-46118-00-12
Unavailable
21
WASHER, THRUST
22U-46118-00-14
Unavailable
21
WASHER, THRUST
22U-46118-00-16
Unavailable
21
WASHER, THRUST
22U-46118-00-18
Unavailable
21
WASHER, THRUST
22U-46118-00-20
Unavailable
22
O-RING (1J7)
93211-44348-00
Unavailable
23
NUT(6L2)
95333-08600-00
Unavailable
24
WASHER(6TA)
92907-08700-00
Unavailable
25
BOLT, FLANGE(3GD)
95817-10025-00
Unavailable
26
OIL SEAL (4H7)
93102-70167-00
Unavailable
27
. PLUG, STRAIGHT SCREW
90340-14130-00
Unavailable
28
GASKET
214-11198-01-00
Unavailable
29
BREATHER COMP.
56W-17590-00-00
Unavailable
30
PLUG
3JL-13455-00-00
Unavailable
31
SHAFT, DRIVE
4X7-46172-00-00
Unavailable
32
OIL SEAL(1FK)
93108-43013-00
Unavailable
33
WASHER, PLATE (4H7)
90201-231A2-00
Unavailable
34
CIRCLIP (4H7)
93410-23056-00
Unavailable
35
CIRCLIP (537)
93410-22039-00
Unavailable
36
SPRING, COMPRESSION (2H7)
90501-16491-00
Unavailable
37
CROSS JOINT COMP.
4X7-46180-00-00
Unavailable
38
BEARING(2HR)
93399-99926-00
Unavailable
39
CIRCLIP (4X7)
93440-20088-00
Unavailable
40
NUT, CROWN(2GG)
90176-10075-00
Unavailable
41
YBS67-10 WASHER, SPRING
92990-10100-00
Unavailable
42
COLLAR (4H7)
90387-172A5-00
Unavailable
