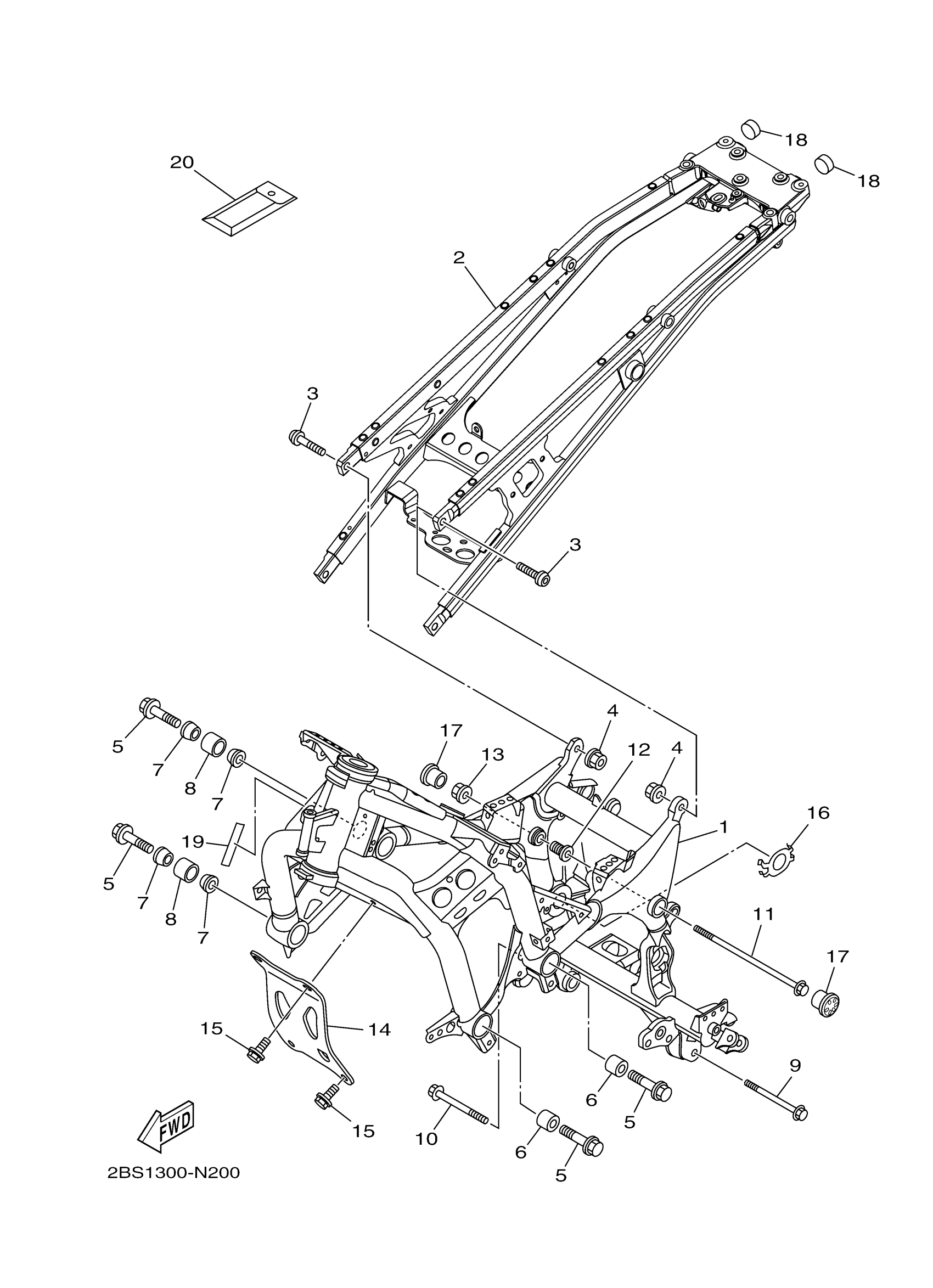
Yamaha XTZ12GCB (SUPER TENERE CA) 2BSL 2016 FRAME Diagram
#
Description
Price
1
FRAME COMP.
23P-21110-01-00
Unavailable
2
REAR FRAME COMP.
2BS-21190-10-00
Unavailable
5
BOLT, FLANGE
90105-12077-00
Unavailable
6
COLLAR
23P-21116-00-00
Unavailable
7
BOSS, ENGINE MOUNT
23P-21414-00-00
Unavailable
8
BOSS, ENGINE MOUNT
23P-21424-00-00
Unavailable
12
BOLT, ENGINE ADJUSTING
23P-21495-00-00
Unavailable
14
STAY, ENGINE 4
2BS-21318-00-00
Unavailable
16
PLATE 1
23P-2191B-00-00
Unavailable
17
CAP, MAIN PIPE
2BS-2111A-00-00
Unavailable
18
CAP
3YX-2143A-00-00
Unavailable
19
PROTECTOR, FUEL TANK
3HA-24141-00-00
Unavailable
20
TOOL KIT
23P-28100-00-00
Unavailable
