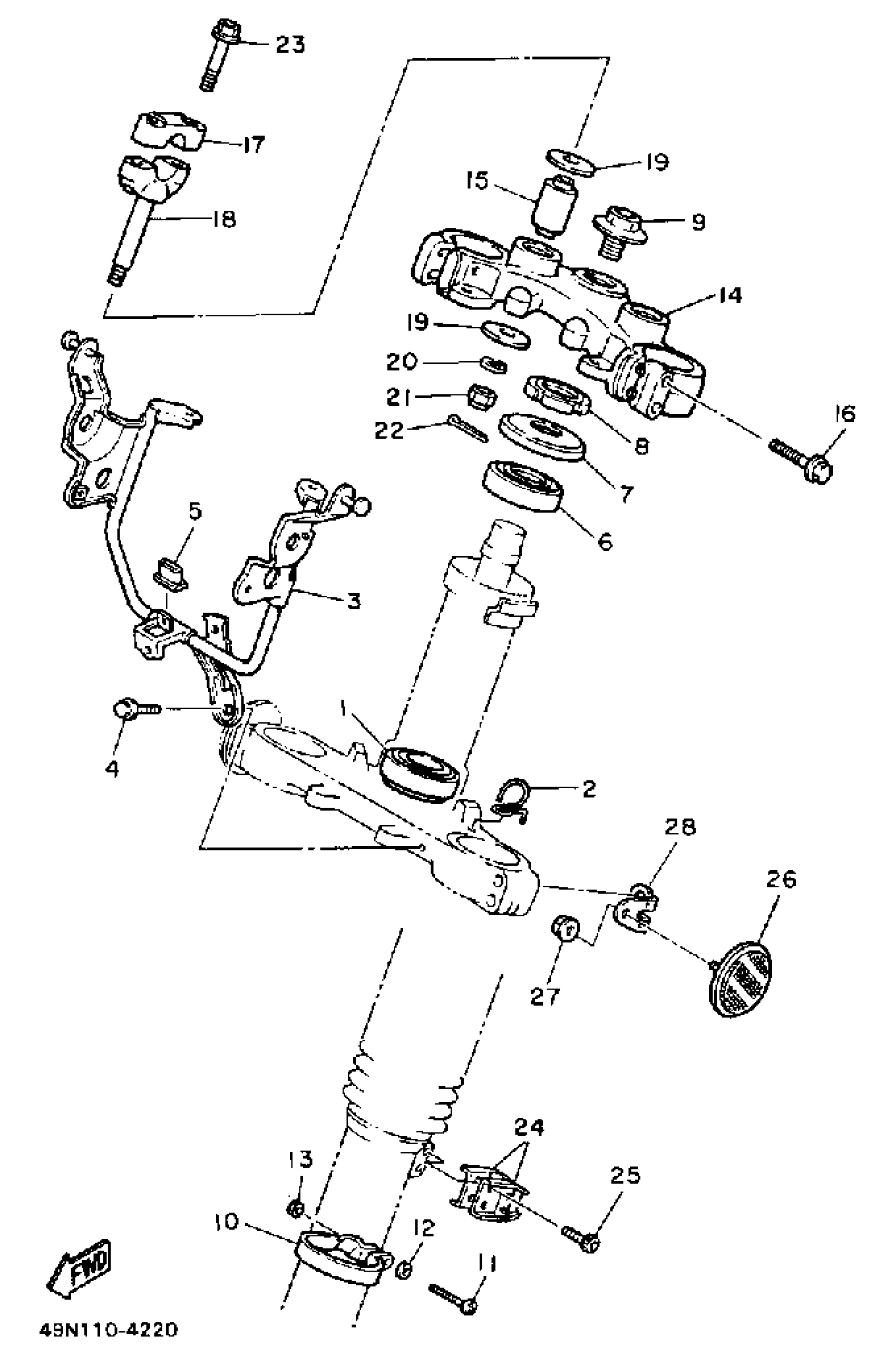
Yamaha XT600TC (XT600 CA) 1987 STEERING Diagram
#
Description
Price
2
GUIDE, CABLE
36X-2331E-00-00
Unavailable
3
STAY, HEADLIGHT
2JX-23174-00-00
Unavailable
7
COVER, BALL RACE 2
1W1-23416-00-00
Unavailable
10
HOLDER, CABLE 1
34L-23318-01-00
Unavailable
11
SCREW, PAN HEAD
98580-05020-00
Unavailable
14
CROWN, HANDLE
34L-23435-00-98
Unavailable
16
BOLT, FLANGE
95817-08040-00
Unavailable
17
HOLDER, HANDLE UPPER
1E6-23441-00-00
Unavailable
18
HOLDER, HANDLE LOWER
3Y6-23442-00-98
Unavailable
19
WASHER, PLATE (3J6)
90201-100A1-00
Unavailable
20
YBS67-10 WASHER, SPRING
92990-10100-00
Unavailable
21
NUT (682)
95380-10700-00
Unavailable
22
CLIP 136253750000
90468-12006-00
Unavailable
23
CLAMP (39E)
90465-14242-00
Unavailable
24
CLAMP (39E)
90465-14242-00
Unavailable
25
BOLT,SOCKET
91317-06012-00
Unavailable
26
REFLECTOR, FRONT 1
355-85111-01-00
Unavailable
27
NUT, FLANGE(3GM)
95707-05500-00
Unavailable
28
BRACKET, REFLECTOR 1
49R-85112-00-00
Unavailable
