- Partiron
- OEM Parts
- Yamaha
- motorcycle
- 1987
- XT600TC (XT600 CA) 1987
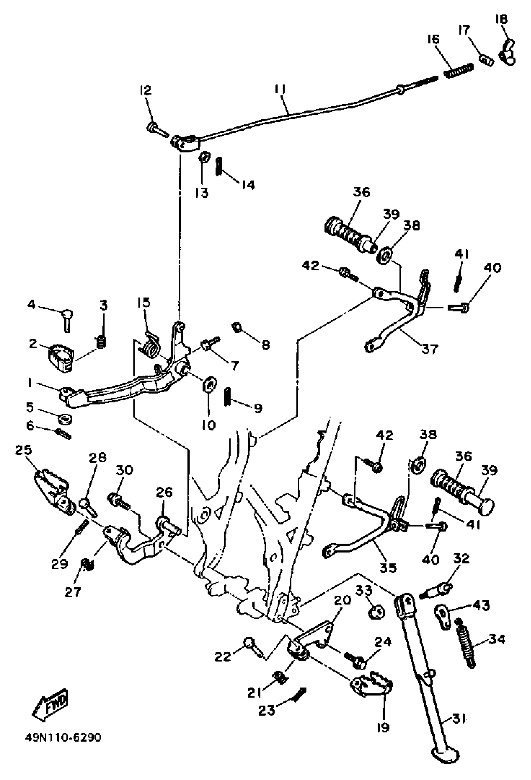
STAND - FOOTREST
Yamaha XT600TC (XT600 CA) 1987 STAND - FOOTREST Diagram
#
1
PEDAL, BRAKE
1VJ-27200-00-90
Unavailable
8
NUT, HEXAGON
95380-06600-00
Unavailable
11
ROD, BRAKE
43F-27231-00-00
Unavailable
15
SPRING, TORSION
90508-32690-00
Unavailable
16
SPRING, (180-27236-00)
90501-10245-00
Unavailable
17
PIN 1562723700
90249-12008-00
Unavailable
18
NUT (25K)
90179-06411-00
Unavailable
19
FOOTREST 1
22W-27411-01-90
Unavailable
20
BRACKET, FOOTREST 1
34L-27412-00-R4
Unavailable
21
SPRING, TORSION (214-27426-00)
90508-20023-00
Unavailable
22
PIN, CLEVIS (2A6)
91701-08038-00
Unavailable
23
PIN, COTTER
91490-25020-00
Unavailable
24
BOLT, FLANGE(3GD)
95817-10025-00
Unavailable
25
FOOTREST 2
22W-27421-01-90
Unavailable
26
BRACKET, FOOTREST 2 (34L-27422-01-R4)
34L-27422-01-00
Unavailable
27
SPRING, TORSION (214-27426-00)
90508-20023-00
Unavailable
28
PIN, CLEVIS (2A6)
91701-08038-00
Unavailable
29
PIN, COTTER
91490-25020-00
Unavailable
30
BOLT, FLANGE(3GD)
95817-10025-00
Unavailable
31
STAND,SIDE
55W-27311-01-00
Unavailable
32
BOLT, WASHER BASED
90105-12616-00
Unavailable
33
NUT, SELF LOCKING (23X)
90185-12119-00
Unavailable
34
SPRING, MAIN STAND
4KN-27116-00-00
Unavailable
35
BRACKET 1
26F-27432-10-00
Unavailable
36
COVER, REAR FOOTREST
120-27433-00-00
Unavailable
37
BRACKET 2
50T-27442-00-33
Unavailable
38
WASHER, PLATE (888)
90201-20279-00
Unavailable
39
FOOTREST, REAR 1
2GV-27431-00-00
Unavailable
40
PIN, CLEVIS (1Y8)
91701-06032-00
Unavailable
41
PIN, COTTER
91490-16020-00
Unavailable
42
BOLT (34L)
90109-08789-00
Unavailable
43
LINK, SIDE STAND
5Y1-27315-00-00
Unavailable
