- Partiron
- OEM Parts
- Yamaha
- motorcycle
- 1987
- XT600TC (XT600 CA) 1987
FRAME (XT600TC)
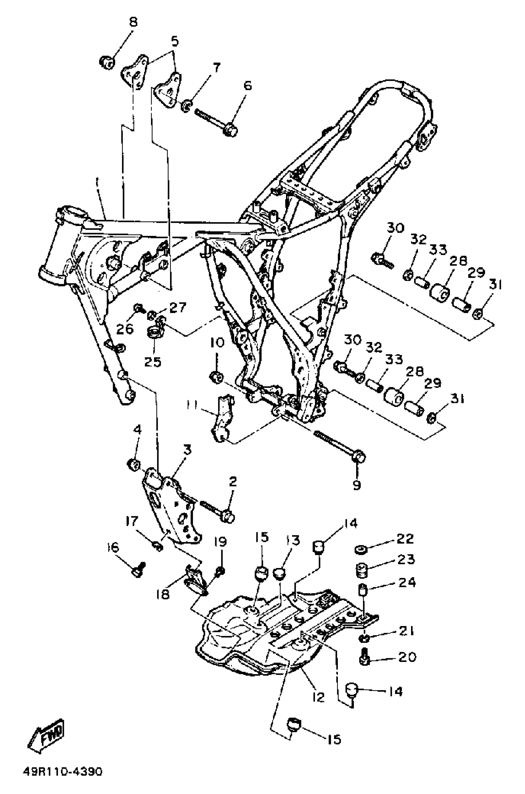
Yamaha XT600TC (XT600 CA) 1987 FRAME (XT600TC) Diagram
#
Description
Price
1
FRAME
1WN-21110-00-FH
Unavailable
3
STAY, ENGINE 3
(34L-21316-00-FH)
Unavailable
5
STAY, ENGINE 2
34L-21315-00-00
Unavailable
11
PLATE
(34L-2176E-01-00)
Unavailable
12
PROTECTOR, ENGINE
34L-21471-00-00
Unavailable
16
BOLT, HEXAGON
97017-08016-00
Unavailable
17
WASHER(JN5)
92907-08100-00
Unavailable
18
DAMPER 2
34L-21486-00-00
Unavailable
19
RIVET, BLIND (8K2)
90267-48079-00
Unavailable
20
BOLT, HEXAGON
97017-06025-00
Unavailable
21
WASHER, SPRING
92907-06100-00
Unavailable
22
WASHER, PLATE
90201-06380-00
Unavailable
23
GROMET (3X3)
90480-14229-00
Unavailable
24
COLLAR
90387-06113-00
Unavailable
25
BRACKET, STOP SWITCH
5Y1-21441-00-00
Unavailable
26
SCREW, PAN HEAD(62J)
97885-06012-00
Unavailable
27
WASHER, SPRING
92995-06100-00
Unavailable
28
TENSIONER
30X-22178-00-00
Unavailable
29
BUSH
4V4-22184-00-00
Unavailable
30
BOLT (23X)
90109-08705-00
Unavailable
31
WASHER, PLATE(3RR)
90201-133P2-00
Unavailable
32
WASHER, PLATE(8AT)
90201-081R9-00
Unavailable
33
COLLAR (7R4)
90387-085E1-00
Unavailable
