- Partiron
- OEM Parts
- Yamaha
- motorcycle
- 1994
- XT600EFC (XT600E CA) 1994
REAR MASTER CYLINDER
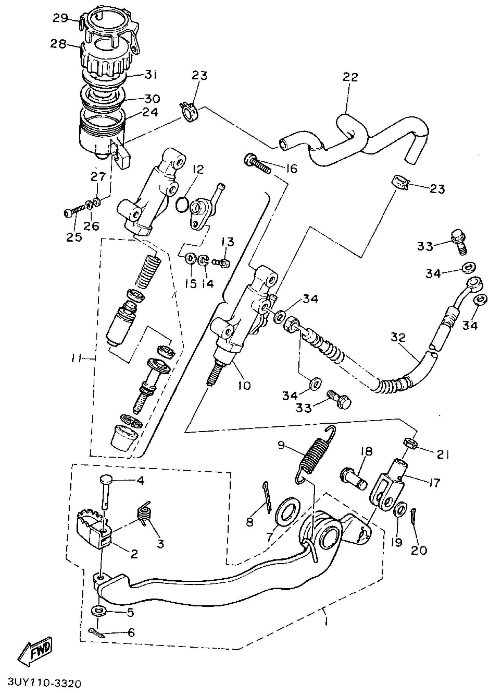
Yamaha XT600EFC (XT600E CA) 1994 REAR MASTER CYLINDER Diagram
#
Description
Price
1
PEDAL, BRAKE
3TB-27200-02-00
Unavailable
9
SPRING, TENSION(3TB)
90507-18055-00
Unavailable
10
RR. MASTER CYLINDER ASSEMBLY.
3TB-2583V-00-00
Unavailable
11
CYLINDER KIT, REAR MASTER
31A-W0042-50-00
Unavailable
13
SCREW, PAN HEAD
98511-04012-00
Unavailable
16
BOLT, BUTTON
92017-08025-00
Unavailable
17
JOINT
47X-27222-00-00
Unavailable
18
PIN W/HOLE 307181180000
90240-08013-00
Unavailable
19
WASHER, PLATE 1562722600
90201-08083-00
Unavailable
20
PIN, COTTER
91490-16020-00
Unavailable
21
. NUT
95380-08700-00
Unavailable
22
HOSE, RESERVOIR
3TB-25895-00-00
Unavailable
23
CLIP (5K4)
90467-14057-00
Unavailable
24
TANK, RESERVOIR
47X-25894-00-00
Unavailable
25
SCREW PAN HEAD
98580-06020-00
Unavailable
26
WASHER, SPRING
92995-06100-00
Unavailable
28
CAP, RESERVOIR
2KF-25852-50-00
Unavailable
29
COVER, RESERVOIR TANK
3AJ-25888-00-00
Unavailable
30
DIAPHRAGM, RESERVER
360-25854-01-00
Unavailable
31
BUSH,DIAPHRAGM
2GU-25855-00-00
Unavailable
32
HOSE;BRAKE 2
99999-02428-00
Unavailable
33
BOLT, UNION(3GM)
90401-10159-00
Unavailable
34
WASHER, PLATE(481)
90201-10118-00
Unavailable
