Partiron

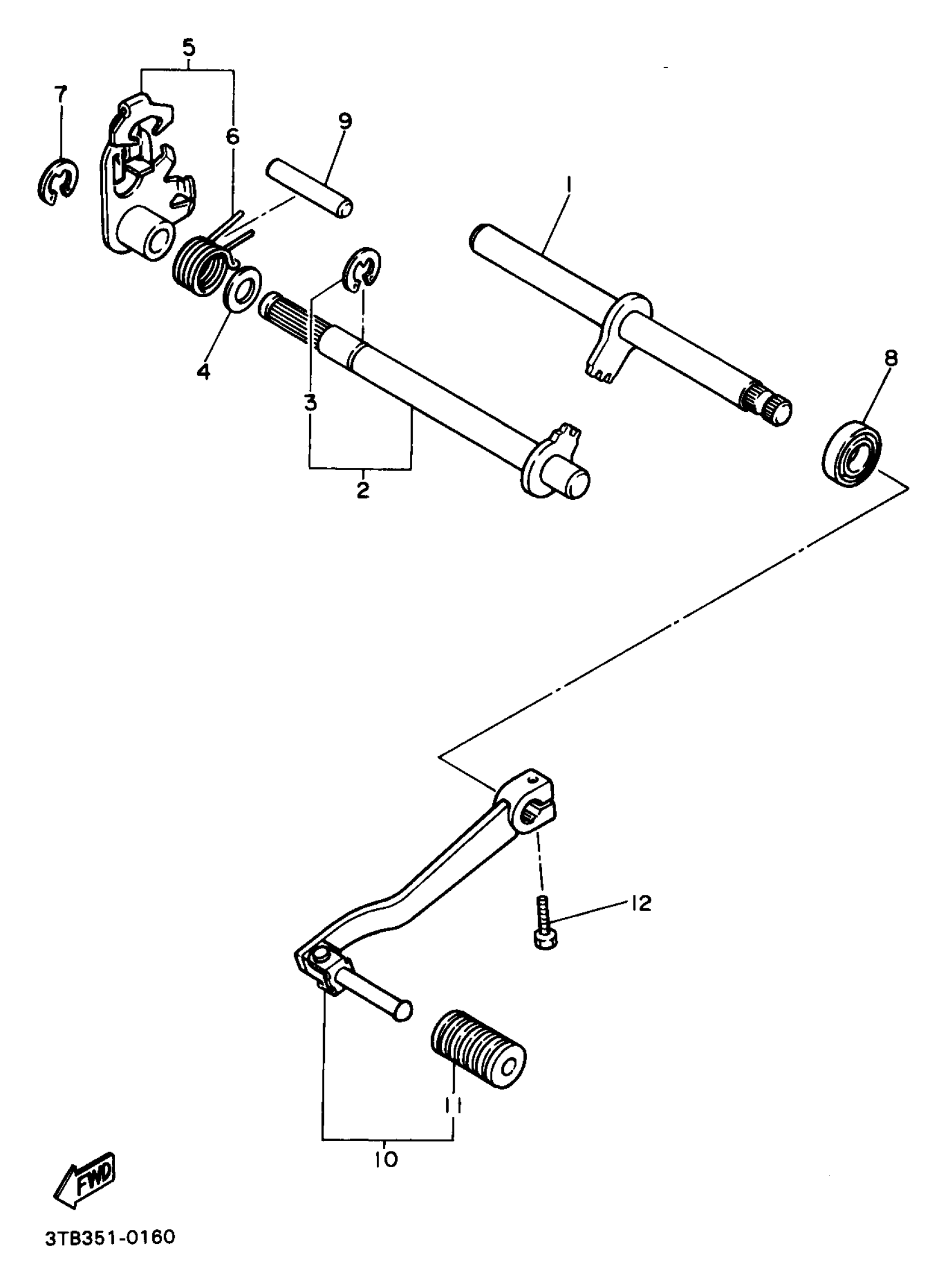
Yamaha XT600EEC (XT600E CA) 3UYA 1993 SHIFT SHAFT Diagram

#

Description
Price

1

SHIFT SHAFT ASSY 2

43F-18102-02-00

Unavailable

2

SHIFT SHAFT ASSEMBLY

5Y1-18101-02-00

Unavailable

3

CIRCLIP

99006-10600-00

$9.49

4

WASHER PLATE 102181410000

90201-12474-00

$7.49

5

SHIFT LEVER ASSY

34K-18120-01-00

Unavailable

6

. SPRING, TORSION

90508-29629-00

Unavailable

7

CIRCLIP(J51)

99080-09600-00

$2.55

8

OIL SEAL (12X22X5-371)

93102-12106-00

$11.49

9

PIN, DOWEL

93608-33046-00

Unavailable

10

SHIFT PEDAL ASSY

1VJ-18110-01-00

Unavailable

11

COVER, CHANGE PEDAL

1W6-18113-00-00

$5.49

12

BOLT, HEXAGON

97017-06020-00

$4.06