Partiron

Yamaha XT600EEC (XT600E CA) 3UYA 1993 REAR SUSPENSION Diagram

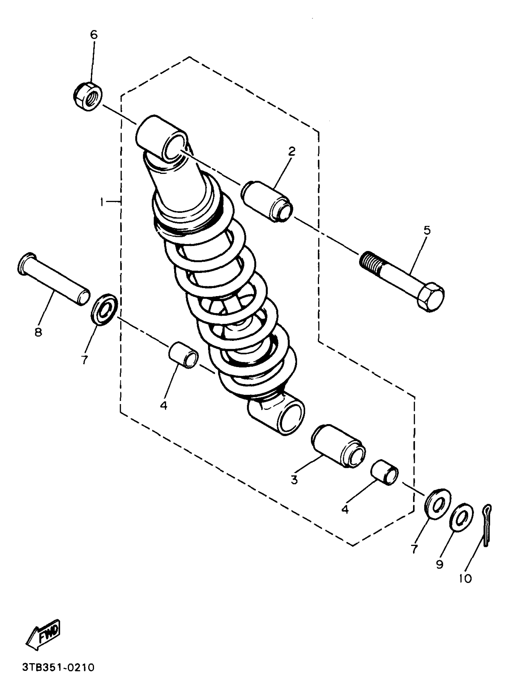
#

Description
Price

1

SHOCK ABSORBER ASY

3TB-22210-20-33

Unavailable

2

BUSH, REAR SHOCK ABSORBER

34L-22216-00-00

Unavailable

3

BUSH, REAR SHOCK ABSORBER

34L-22226-01-00

Unavailable

4

BUSH, SOLID (34L)

90380-14130-00

Unavailable

5

BOLT

90101-12295-00

Unavailable

6

NUT, U (4PM)

95617-12100-00

$4.16

7

COVER, THRUST 2

34L-22129-00-00

Unavailable

8

PIN, CLEVIS (34L)

90240-14106-00

$9.49

9

WASHER

92990-14600-00

Unavailable

10

PIN, COTTER

91490-30030-00

$8.49