Partiron

Yamaha XT600EEC (XT600E CA) 3UYA 1993 COWLING 1 Diagram

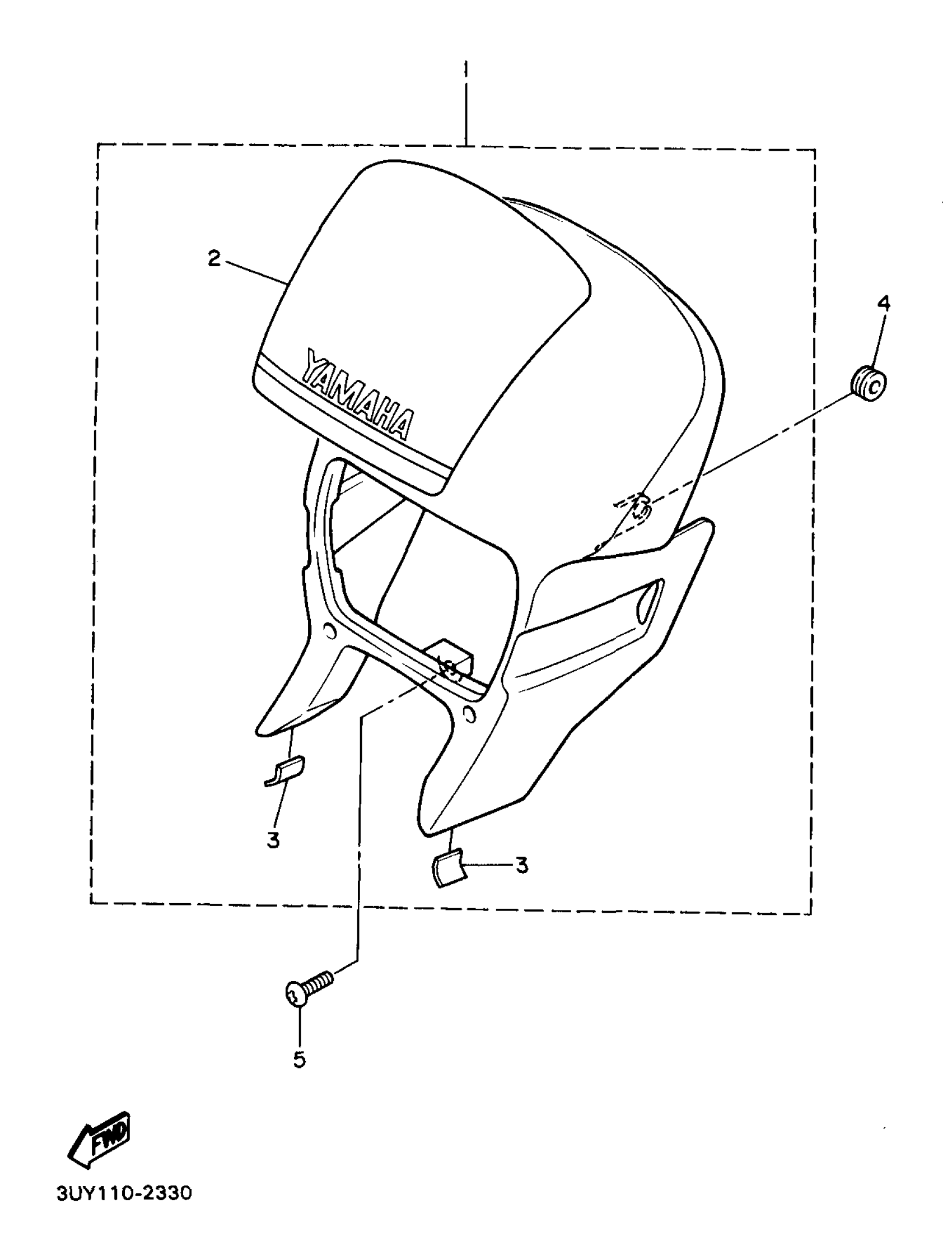
#

Description
Price

1

BODY, COWLING (HEADLIGHT)

3TB-W2834-A0-00

Unavailable

2

EMBLEM

3TB-28368-11-00

Unavailable

3

DAMPER 1

3TB-28217-00-00

$5.49

4

DAMPER, SIDE COVER (437)

90480-12053-00

$7.49

5

SCREW(2XF)

90149-06263-00

$9.49