- Partiron
- OEM Parts
- Yamaha
- motorcycle
- 1981
- XT500H (XT500) 1981
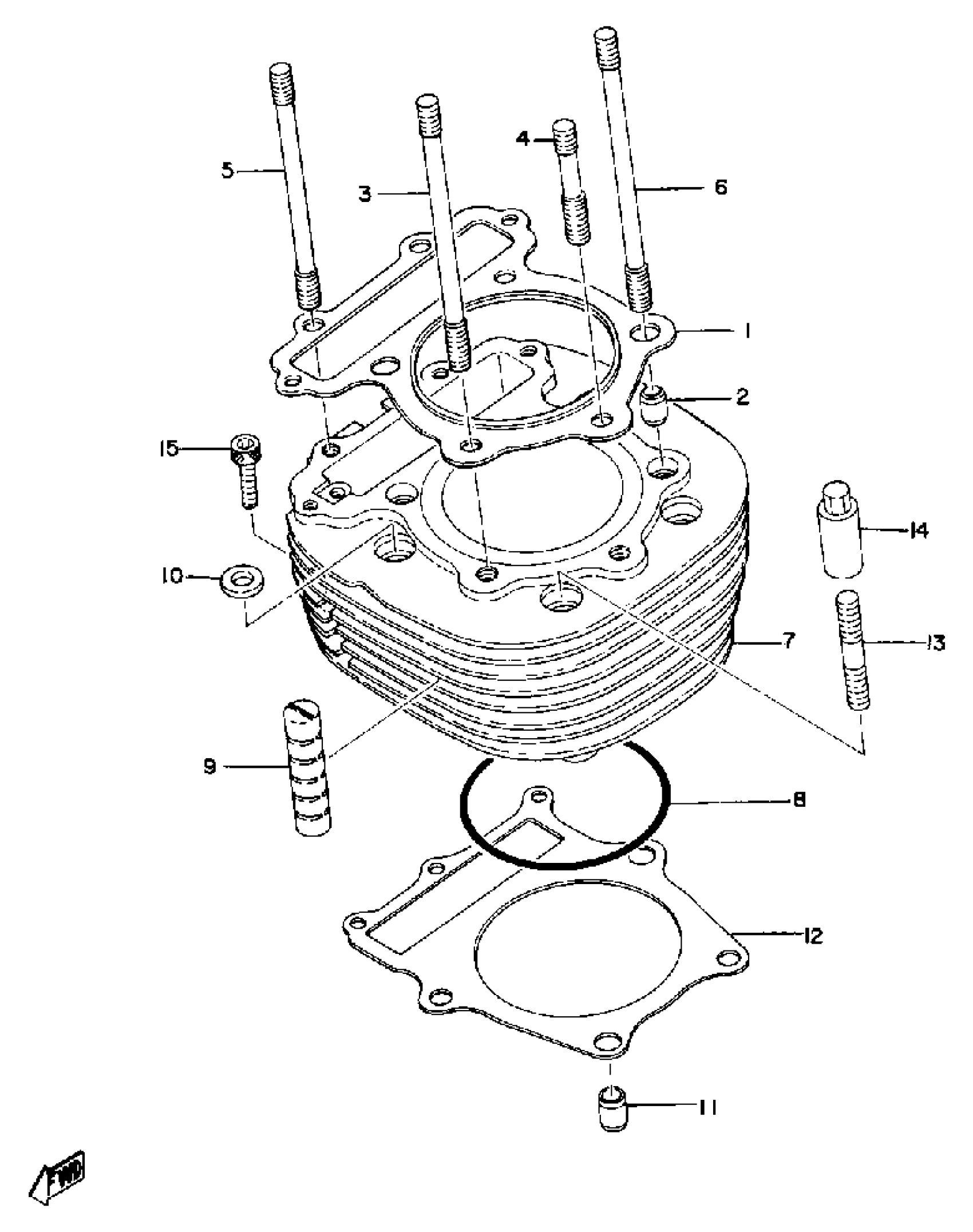
CYLINDER
Yamaha XT500H (XT500) 1981 CYLINDER Diagram
#
Description
Price
1
GASKET, CYLINDER HEAD
2J2-11181-09-00
Unavailable
7
CYLINDER
583-11310-00-00
Unavailable
