- Partiron
- OEM Parts
- Yamaha
- motorcycle
- 1979
- XT500F (XT500) 1979
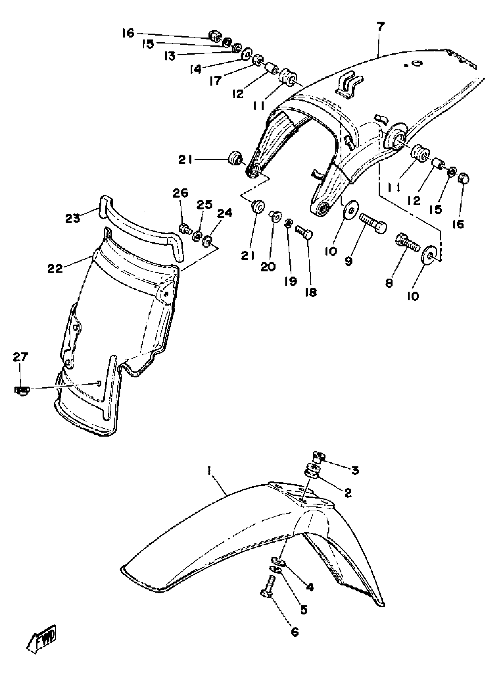
FRONT FENDER - REAR FENDER
Yamaha XT500F (XT500) 1979 FRONT FENDER - REAR FENDER Diagram
#
Description
Price
1
FENDER, FRONT (583-21511-00)
583-21511-00-36
Unavailable
5
WASHER, SPRING
92995-06100-00
Unavailable
9
BOLT
97013-08045-00
Unavailable
13
WASHER, PLAIN
92990-08200-00
Unavailable
16
NUT, CROWN
95303-08800-00
Unavailable
17
NUT(6L2)
95333-08600-00
Unavailable
18
BOLT, HEXAGON
97017-06025-00
Unavailable
19
WASHER, SPRING
92995-06100-00
Unavailable
20
COLLAR 437216330000
90387-07391-00
Unavailable
21
DAMPER, FENDER
322-21541-00-00
Unavailable
22
MUD GUARD COMP.
1T1-21620-00-00
Unavailable
23
DAMPER
583-21746-00-00
Unavailable
24
WASHER, PLATE (583 REAR FENDER
90201-06571-00
Unavailable
25
WASHER, SPRING
92995-06100-00
Unavailable
26
BOLT, HEXAGON DEEP RECESS
97D95-06016-00
Unavailable
27
CLAMP (1A0)
90464-08020-00
Unavailable
