- Partiron
- OEM Parts
- Yamaha
- motorcycle
- 1978
- XT500E (XT500) 1978
FUEL TANK
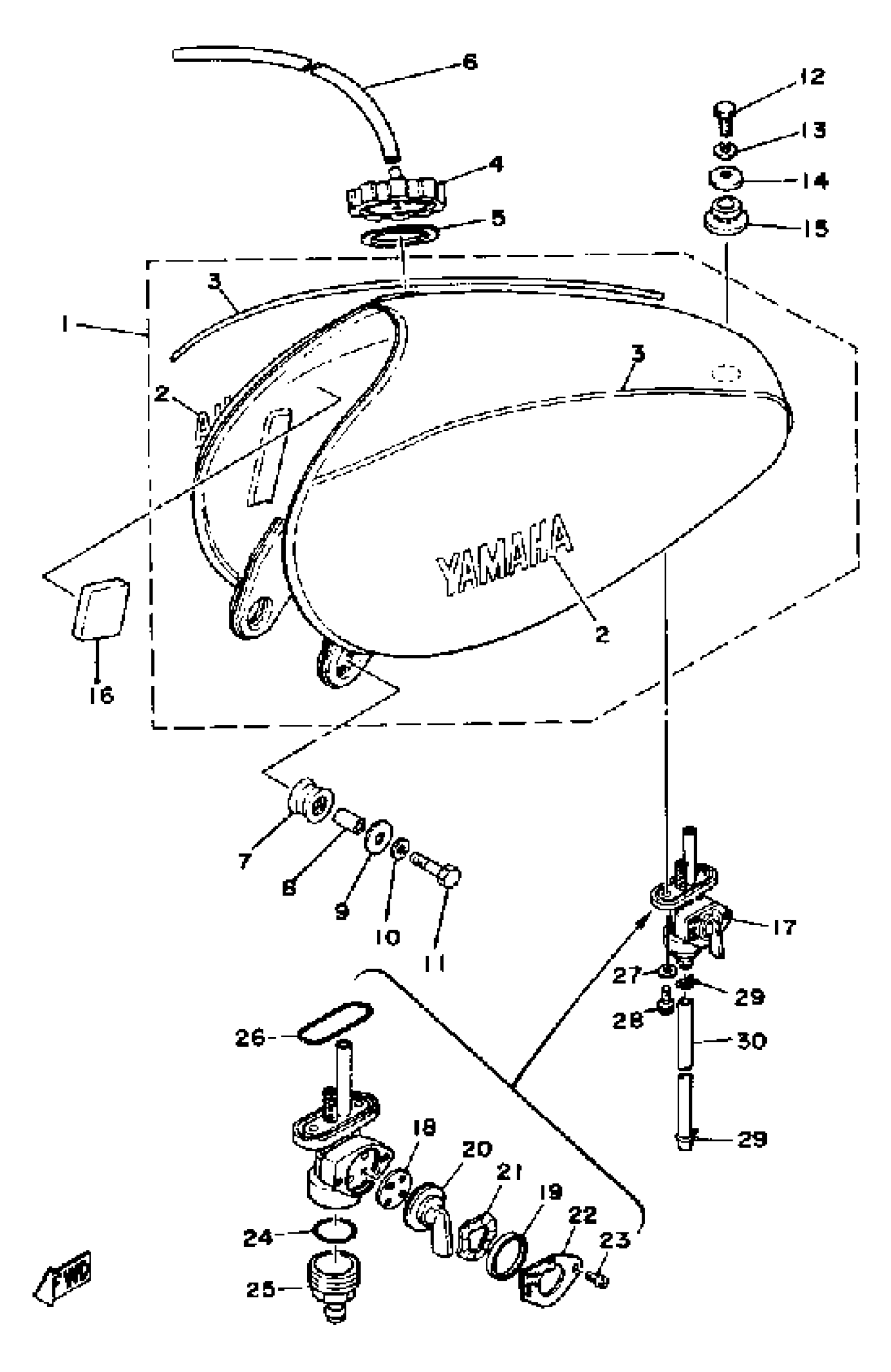
Yamaha XT500E (XT500) 1978 FUEL TANK Diagram
#
Description
Price
1
FUEL TANK
(2H0-24110-00-01)
Unavailable
2
EMBLEM 1
(2H0-24161-00-00)
Unavailable
3
EMBLEM 3
1T1-24163-00-00
Unavailable
4
BODY, CAP
2A6-24611-00-00
Unavailable
10
WASHER, SPRING
92995-06100-00
Unavailable
14
WASHER, PLATE
90209-08150-00
Unavailable
16
DAMPER, TANK LOCATING
583-24182-00-00
Unavailable
17
FUEL COCK ASSY
498-24500-01-00
Unavailable
18
VALVE, COCK
498-24523-00-00
Unavailable
19
GASKET
(498-24528-00-00)
Unavailable
20
. LEVER, COCK
498-24524-01-00
Unavailable
21
WASHER WAVE 137245180000
90206-18025-00
Unavailable
22
. PLATE, LEVER FITTING
498-24525-00-00
Unavailable
23
SCREW, LEVER FITTING
214-24535-00-00
Unavailable
24
GASKET, FILTER
498-24522-00-00
Unavailable
25
CUP, FILTER
(498-24521-00-00)
Unavailable
26
GASKET, BODY
214-24512-00-00
Unavailable
27
WASHER, PLATE(3MB)
90202-05187-00
Unavailable
28
SCREW 366241430000
90149-06008-00
Unavailable
29
CLIP
90467-100A1-00
Unavailable
30
HOSE (L210)
90445-110F5-00
Unavailable
