- Partiron
- OEM Parts
- Yamaha
- motorcycle
- 1978
- XT500E (XT500) 1978
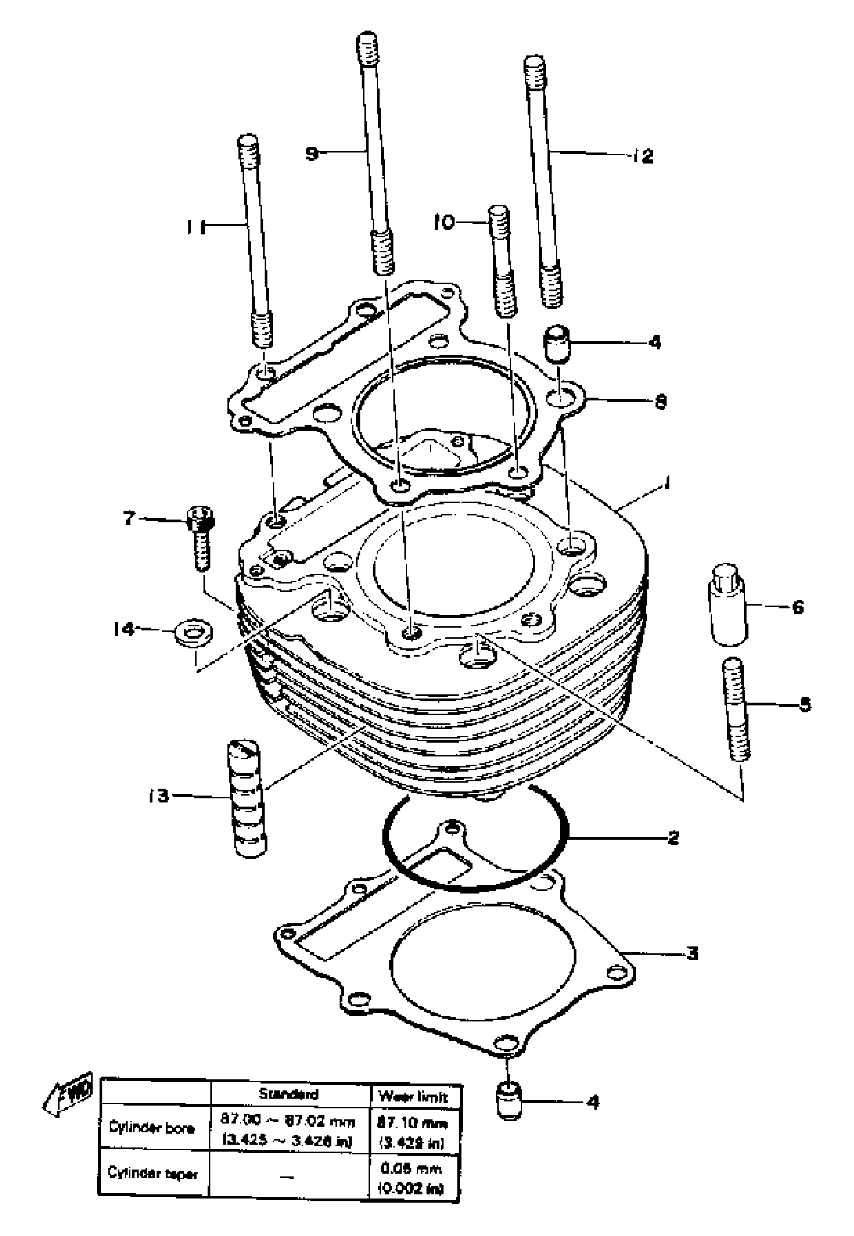
CYLINDER
Yamaha XT500E (XT500) 1978 CYLINDER Diagram
#
Description
Price
1
CYLINDER
583-11310-00-00
Unavailable
8
GASKET, CYLINDER HEAD
2J2-11181-09-00
Unavailable
