Partiron

Yamaha XT350WC (XT350 CA) 1989 SEAT Diagram

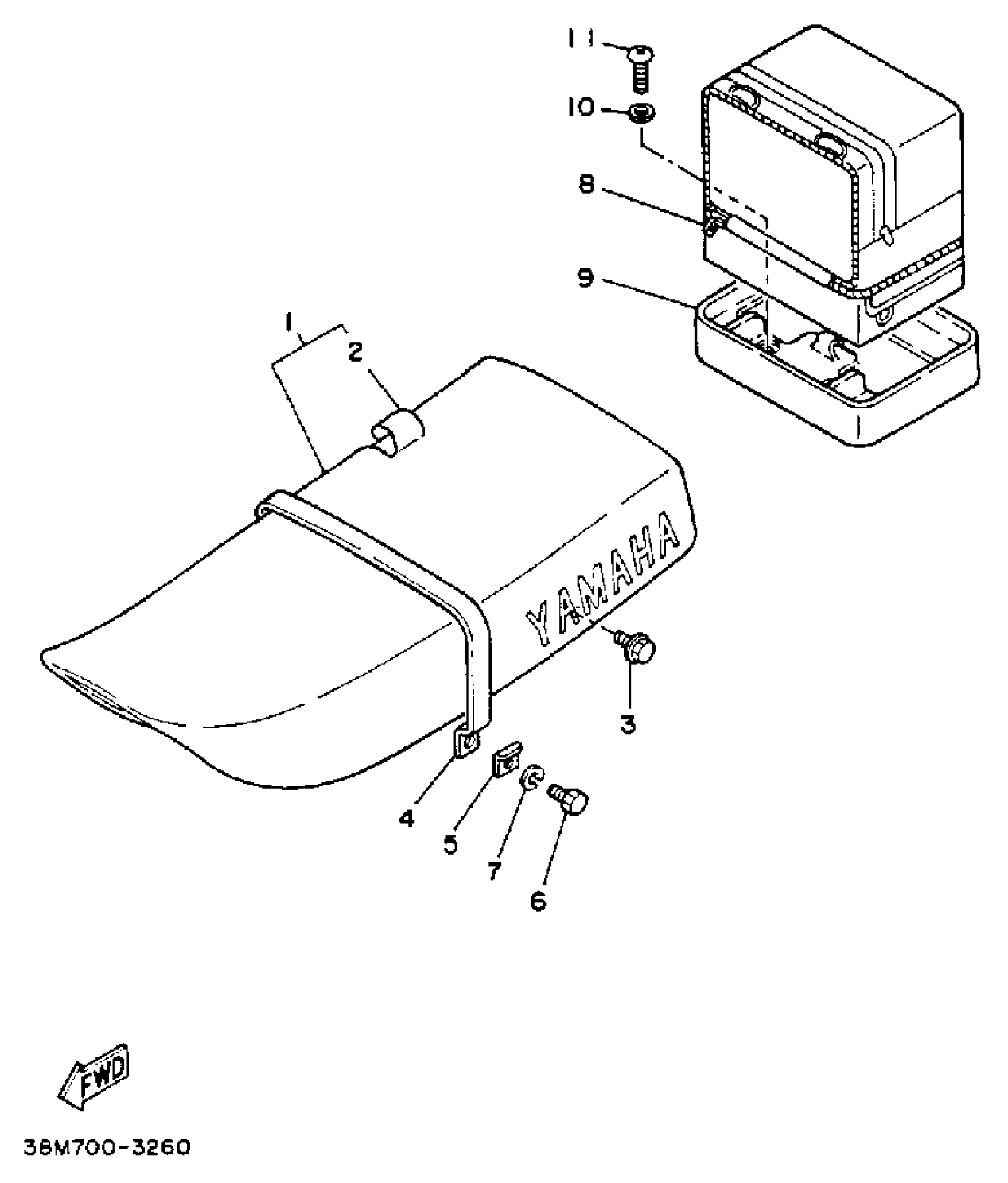
#

Description
Price

1

SEAT, SEMI-DBL ASY

30X-24770-40-00

Unavailable

2

COVER SEAT (RADICAL GREY)

30X-2477A-40-00

Unavailable

3

BOLT, FLANGE

95817-06016-00

$2.75

4

BAND, SEAT

30X-24734-00-00

Unavailable

5

WASHER

2A8-24736-00-00

Unavailable

6

BOLT, HEXAGON

97013-08016-00

$1.01

7

YBS67-8 WASHER, SPRING

92990-08100-00

$5.60

8

CARRIER BOX ASSEMBLY

38M-24850-00-00

Unavailable

9

BRACKET, CARRIER 2

30X-24833-00-00

Unavailable

10

WASHER, PLATE

90201-06020-00

$9.49

11

SCREW, PAN

98507-06014-00

$8.49