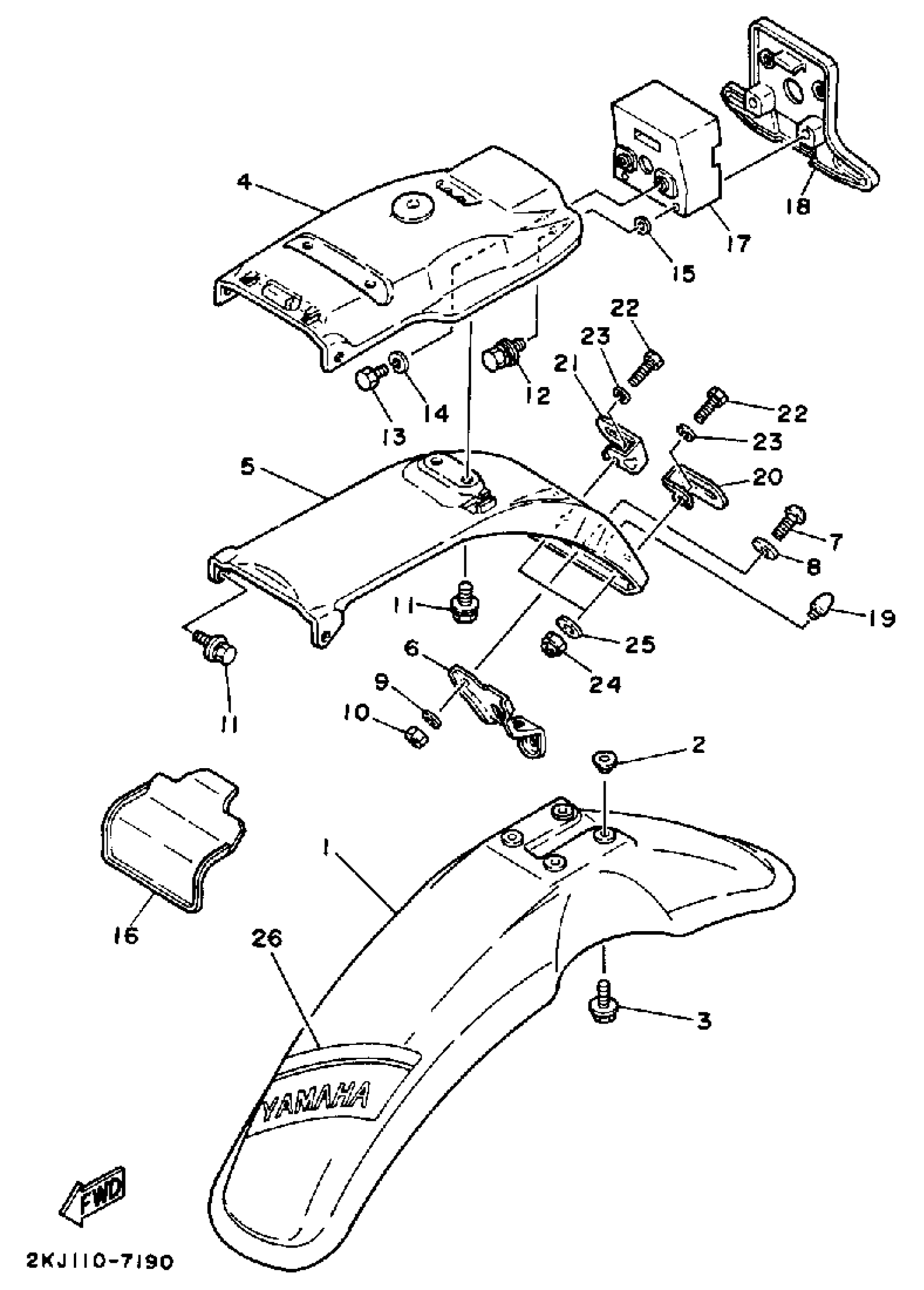
Yamaha XT350TC (XT350 CA) 1987 FENDER Diagram
#
Description
Price
4
FENDER, REAR
42U-21611-00-00
Unavailable
5
BRACKET, LICENSE
42U-21685-00-00
Unavailable
6
BRACKET, REFLECTOR
42U-21641-00-00
Unavailable
9
WASHER, SPRING
92995-06100-00
Unavailable
10
NUT, HEXAGON
95380-06600-00
Unavailable
14
WASHER, SPRING
92995-06100-00
Unavailable
16
GUARD, MUD
30X-21629-00-00
Unavailable
17
COVER, REAR FENDER 1
21T-2163A-00-00
Unavailable
18
BRACKET, LICENSE
21T-21685-20-00
Unavailable
19
DAMPER 2
42U-21639-00-00
Unavailable
20
BRACKET, REAR STAY
42U-21688-00-00
Unavailable
21
BRACKET, REAR STAY 2
42U-21689-00-00
Unavailable
22
BOLT, HEXAGON
97017-06020-00
Unavailable
23
WASHER, SPRING
92907-06100-00
Unavailable
24
NUT, SELF-LOCKING
95617-06100-00
Unavailable
25
WASHER, PLATE
90201-06380-00
Unavailable
26
SEAL 1
47N-21575-00-00
Unavailable
