- Partiron
- OEM Parts
- Yamaha
- motorcycle
- 1987
- XT350TC (XT350 CA) 1987
CYLINDER HEAD
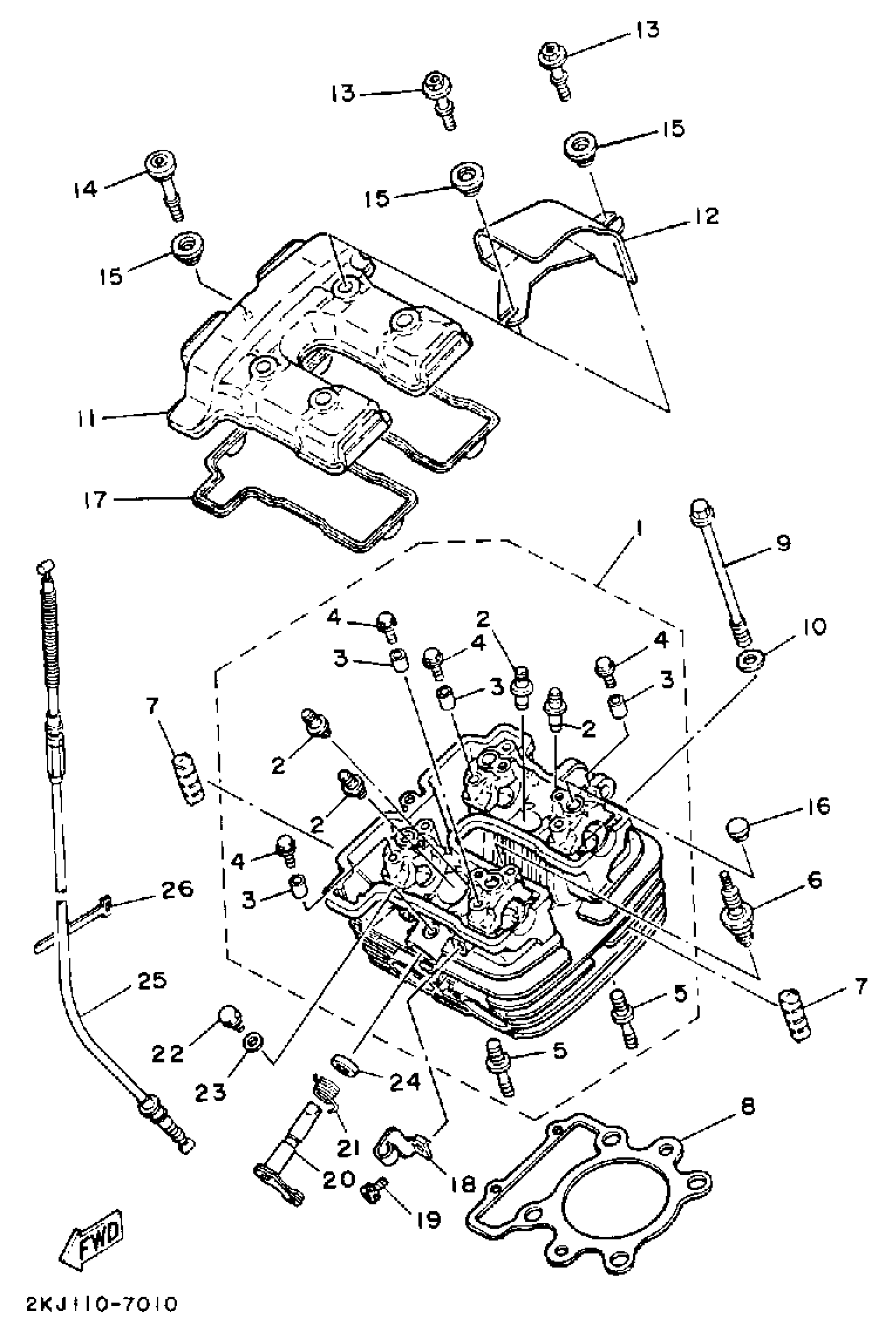
Yamaha XT350TC (XT350 CA) 1987 CYLINDER HEAD Diagram
#
Description
Price
1
CYLINDER HEAD ASSY
55V-11101-02-00
Unavailable
5
. BOLT, STUD
90116-10378-00
Unavailable
6
D8EA NGK SPLUG 10PK
D8E-A0000-00-00
Unavailable
7
ABSORBER 1
30X-11161-00-00
Unavailable
9
BOLT, FLANGE
90105-10608-00
Unavailable
11
COVER, CYLINDER HEAD 1
30X-11191-01-00
Unavailable
12
COVER, CYLINDER HEAD 2
30X-11192-01-00
Unavailable
16
PLUG (11H)
90338-11125-00
Unavailable
17
GASKET, HEAD COVER 1
30X-11193-01-00
Unavailable
18
BRACKET, DECOMPRESSION
30X-12283-00-00
Unavailable
19
BOLT,SOCKET
91317-06012-00
Unavailable
20
CAM, DECOMPRESSION
30X-12288-00-00
Unavailable
21
SPRING, TORSION
90508-18606-00
Unavailable
22
BOLT (583 TACHOMETER)
90109-06418-00
Unavailable
23
GASKET 256113960000
90430-06014-00
Unavailable
24
SEAL, OIL (30X)
93102-12321-00
Unavailable
25
CABLE, DECOMPRESSION
30X-12292-00-00
Unavailable
26
BAND, SWITCH CORD
437-83936-01-00
Unavailable
