- Partiron
- OEM Parts
- Yamaha
- motorcycle
- 1986
- XT350SC (XT350 CA) 1986
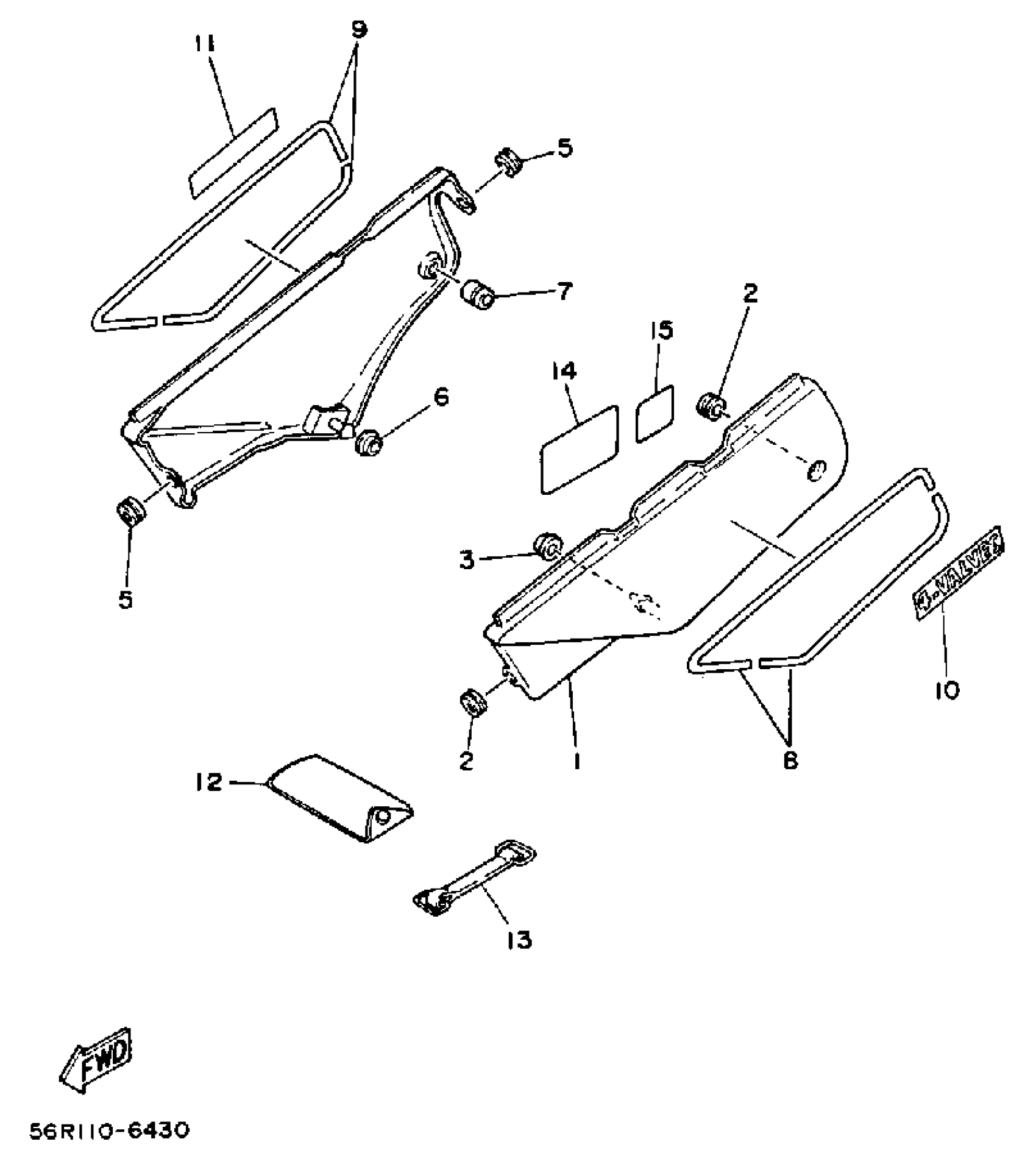
SIDE COVER XT350SC
Yamaha XT350SC (XT350 CA) 1986 SIDE COVER XT350SC Diagram
#
Description
Price
1
COVER, SIDE 1
30X-21711-00-98
Unavailable
4
COVER, SIDE 2
30X-21721-00-98
Unavailable
8
GRAPHIC SET 1
55V-2173L-00-00
Unavailable
9
GRAPHIC SET 2
55V-2174L-00-00
Unavailable
10
EMBLEM 7
55V-21787-00-00
Unavailable
11
EMBLEM 7
55V-21787-00-00
Unavailable
12
TOOL KIT
1LN-W2810-01-00
Unavailable
14
PLATE, SPEC.
(56R-21687-60-00)
Unavailable
15
PLATE, ROUTING 2
43E-21686-00-00
Unavailable
