Partiron

Yamaha XT350KC (XT350 CA) 1998 SEAT Diagram

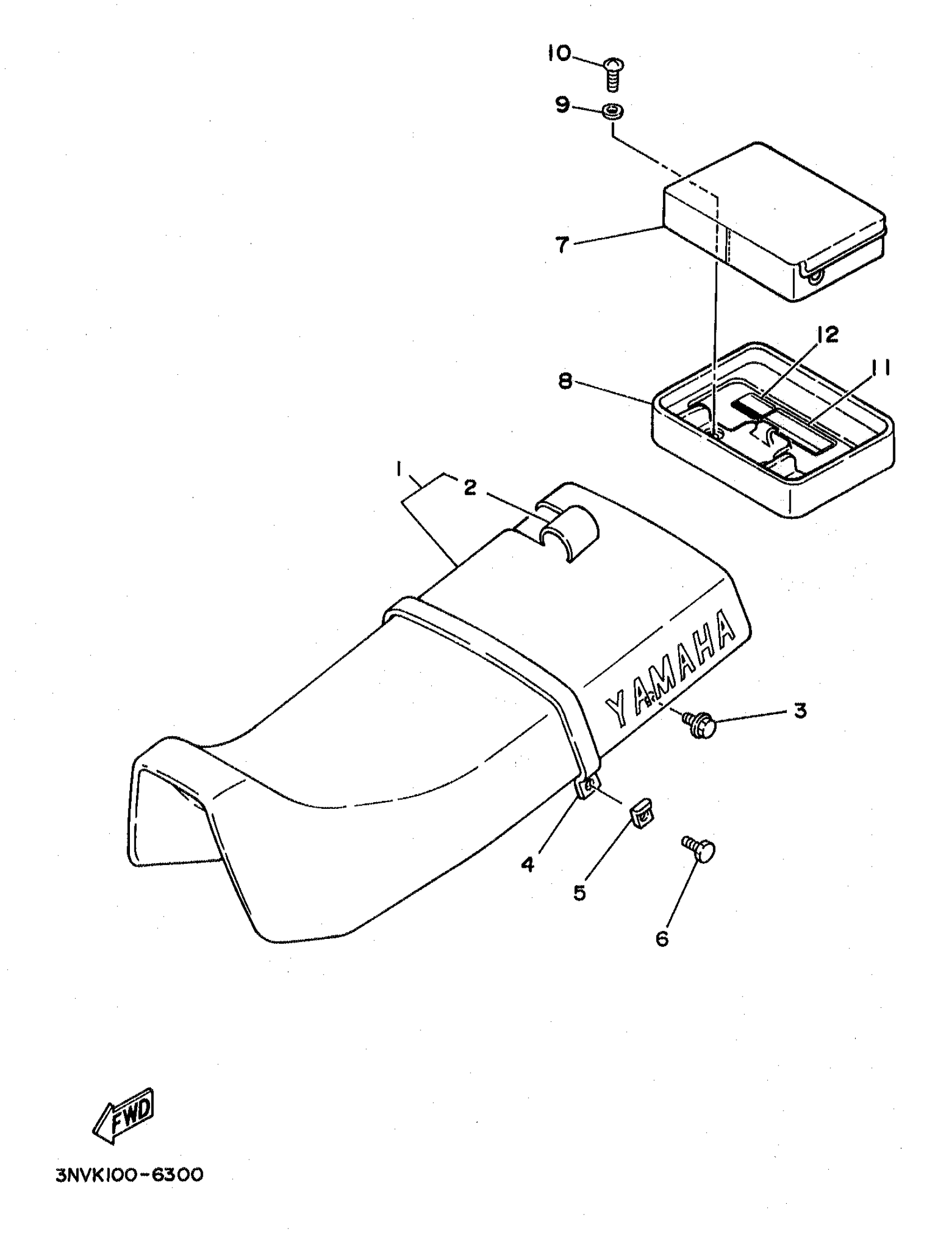
#

Description
Price

1

SEMI-DOUBLE SEAT ASSEMBLY

30X-24770-70-00

Unavailable

2

. SEAT COVER ASSEMBLY

30X-2477A-70-00

Unavailable

3

BOLT, FLANGE

95817-06016-00

$2.75

4

BAND, SEAT

30X-24734-70-00

Unavailable

5

WASHER(6TC)

92907-08200-00

$8.49

6

BOLT(8BC)

97007-08014-00

$8.49

7

CARRIER BOX ASSEMBLY

38M-24850-00-00

Unavailable

8

BRACKET, CARRIER 2

30X-24833-00-00

Unavailable

9

WASHER, PLATE

90201-06557-00

$3.30

10

SCREW, PAN HEAD(3TJ)

98507-06016-00

$3.48

11

LABEL, CAUTION

3JJ-28446-00-00

Unavailable

12

LABEL, CAUTION

3TB-24877-00-00

Unavailable