- Partiron
- OEM Parts
- Yamaha
- motorcycle
- 1996
- XT350HC (XT350 CA) 1996
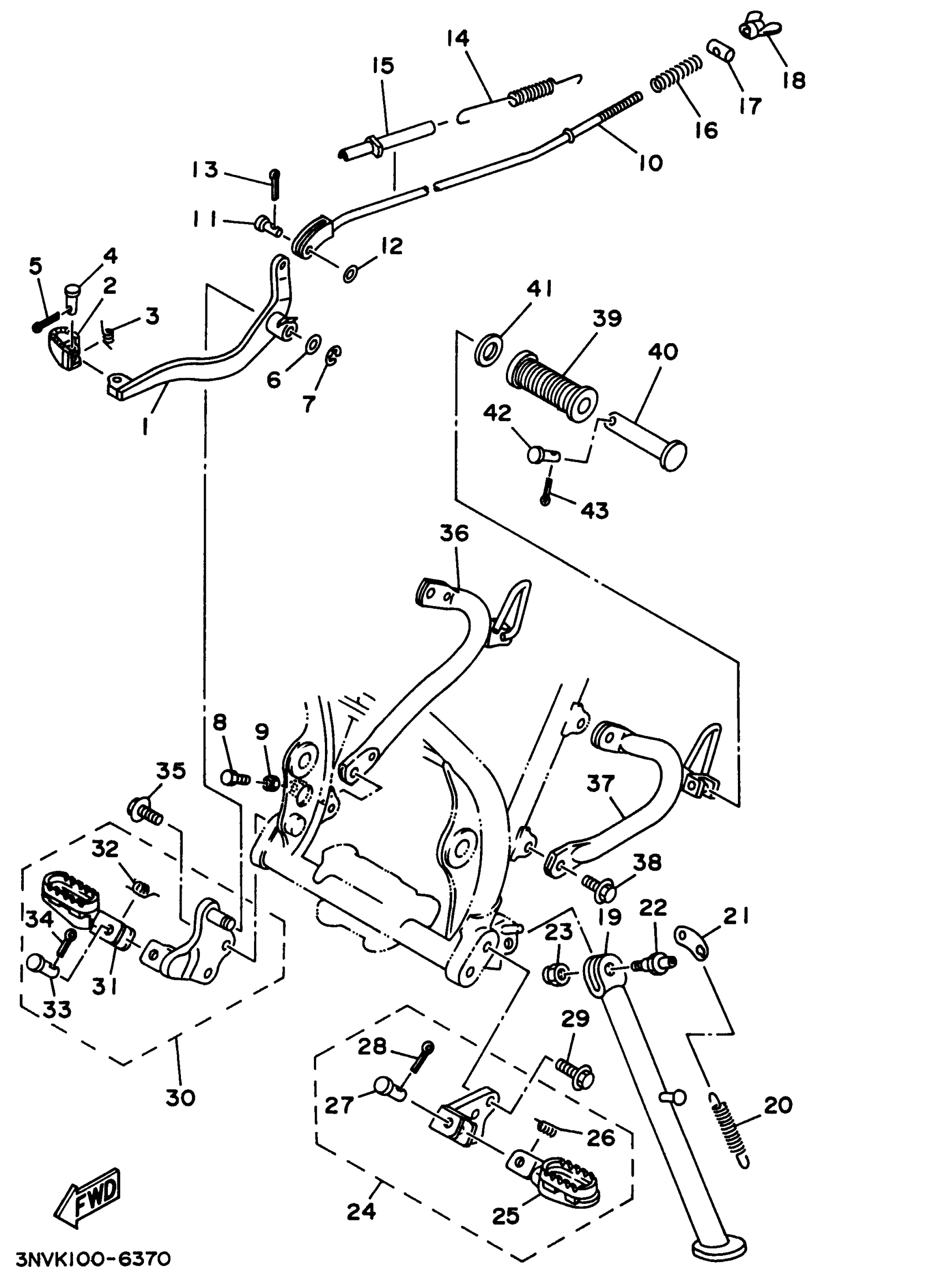
STAND - FOOTREST
Yamaha XT350HC (XT350 CA) 1996 STAND - FOOTREST Diagram
#
1
PEDAL, BRAKE
55V-27211-00-00
Unavailable
10
ROD, BRAKE
30X-27231-00-00
Unavailable
16
SPRING, (180-27236-00)
90501-10245-00
Unavailable
17
PIN 1562723700
90249-12008-00
Unavailable
18
NUT (25K)
90179-06411-00
Unavailable
19
STAND SIDE
55V-27311-02-00
Unavailable
20
SPRING, MAIN STAND
4KN-27116-00-00
Unavailable
21
LINK, SIDE STAND
42U-27315-01-00
Unavailable
22
BOLT
90109-10635-00
Unavailable
23
NUT, U
90185-10037-00
Unavailable
24
FRONT FOOTREST ASSEMBLY (LEFT)
30X-27410-00-90
Unavailable
25
FOOTREST 1
22W-27411-01-90
Unavailable
26
SPRING, TORSION (214-27426-00)
90508-20023-00
Unavailable
27
PIN, CLEVIS (2A6)
91701-08038-00
Unavailable
28
PIN, COTTER
91490-25020-00
Unavailable
29
BOLT, FLANGE(8AB)
95817-08020-00
Unavailable
30
FRONT FOOTREST ASSEMBLY (RIGHT)
55V-27420-00-90
Unavailable
31
FOOTREST 2
22W-27421-01-90
Unavailable
32
SPRING, TORSION (214-27426-00)
90508-20023-00
Unavailable
33
PIN, CLEVIS (2A6)
91701-08038-00
Unavailable
34
PIN, COTTER
91490-25020-00
Unavailable
35
BOLT, FLANGE(8AB)
95817-08020-00
Unavailable
36
BRACKET 2
55V-27442-10-00
Unavailable
37
BRACKET 1
26F-27432-10-00
Unavailable
38
BOLT, BUTTON
92017-08016-00
Unavailable
39
COVER, REAR FOOTREST
120-27433-00-00
Unavailable
40
FOOTREST, REAR 1
2GV-27431-00-00
Unavailable
41
WASHER, PLATE (888)
90201-20279-00
Unavailable
42
PIN, CLEVIS (1Y8)
91701-06032-00
Unavailable
43
PIN, COTTER
91490-16020-00
Unavailable
