Partiron

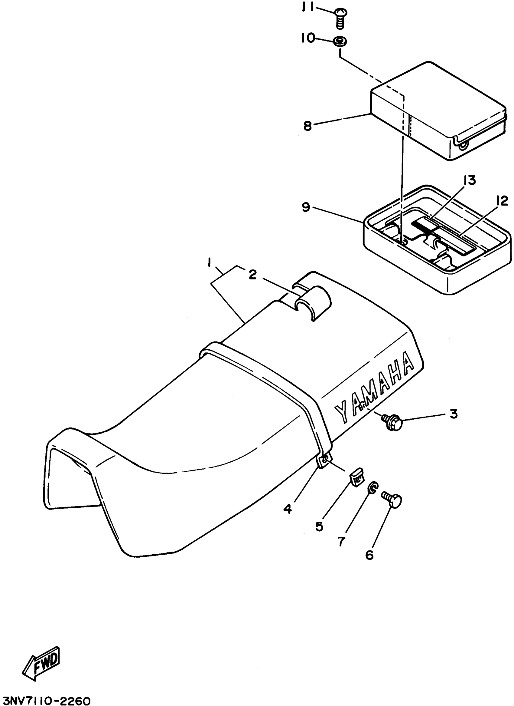
Yamaha XT350GC (XT350 CA) 1995 SEAT Diagram

#

Description
Price

1

SEMI-DOUBLE SEAT ASSEMBLY

30X-24770-60-00

Unavailable

2

. SEAT COVER ASSEMBLY

30X-2477A-60-00

Unavailable

3

BOLT, FLANGE

95817-06016-00

$2.75

4

BAND, SEAT

30X-24734-60-00

Unavailable

5

WASHER(6TC)

92907-08200-00

$8.49

6

BOLT, HEXAGON

97017-08016-00

$8.49

7

WASHER(JN5)

92907-08100-00

$8.49

8

CARRIER BOX ASSEMBLY

38M-24850-00-00

Unavailable

9

BRACKET, CARRIER 2

30X-24833-00-00

Unavailable

10

WASHER, PLATE

90201-06020-00

$9.49

11

SCREW, PAN HEAD(3TJ)

98507-06016-00

$3.48

12

LABEL, CAUTION

3JJ-28446-00-00

Unavailable

13

LABEL, CAUTION

3TB-24877-00-00

Unavailable