- Partiron
- OEM Parts
- Yamaha
- motorcycle
- 1993
- XT350EC (XT350 CA) 1993
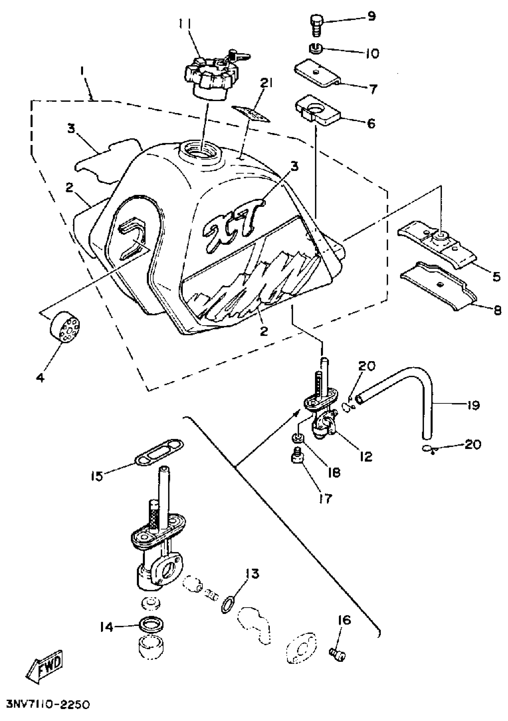
FUEL TANK
Yamaha XT350EC (XT350 CA) 1993 FUEL TANK Diagram
#
Description
Price
1
FUEL TANK COMP.
30X-24110-01-W6
Unavailable
2
. GRAPHIC SET
3NV-24240-00-00
Unavailable
3
. EMBLEM 1
3NV-24231-00-00
Unavailable
10
WASHER, SPRING
92995-06100-00
Unavailable
11
CAP ASSY
48Y-24602-00-00
Unavailable
16
SCREW
4X8-24535-00-00
Unavailable
17
SCREW 256241430000
90149-06011-00
Unavailable
18
WASHER, PLATE(3MB)
90202-05187-00
Unavailable
19
HOSE (L200)
90445-10752-00
Unavailable
20
CLIP
90467-090A2-00
Unavailable
21
LABEL, CAUTION
3MX-2118K-00-00
Unavailable
