- Partiron
- OEM Parts
- Yamaha
- motorcycle
- 1993
- XT350EC (XT350 CA) 1993
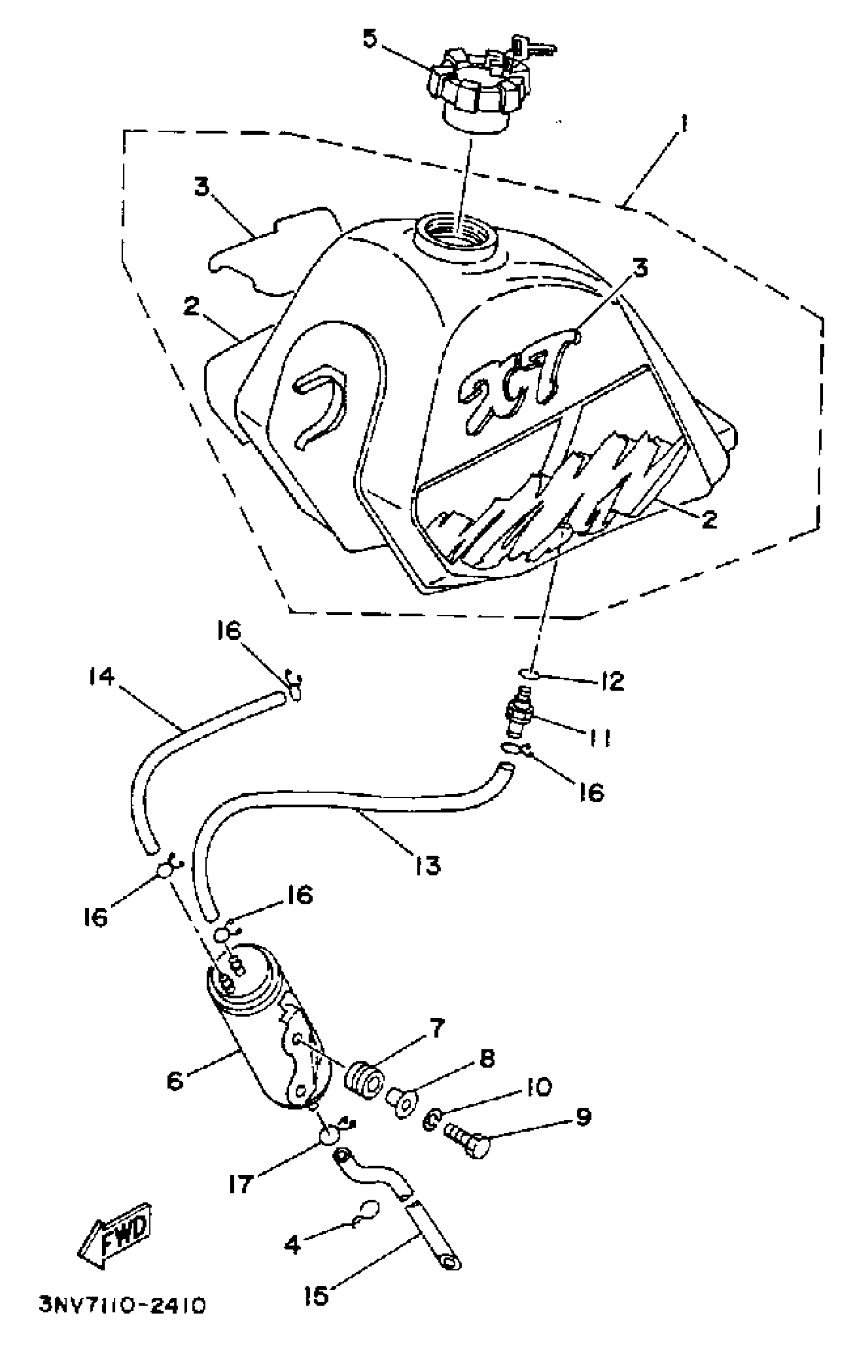
FUEL TANK (CALIFORNIA ONLY)
Yamaha XT350EC (XT350 CA) 1993 FUEL TANK (CALIFORNIA ONLY) Diagram
#
Description
Price
1
FUEL TANK
43E-24110-00-07
Unavailable
2
. GRAPHIC SET
3NV-24240-00-00
Unavailable
3
. EMBLEM 1
3NV-24231-00-00
Unavailable
5
CAP ASSY
56R-24602-00-00
Unavailable
6
CANISTER ASSEMBLY
56R-24170-00-00
Unavailable
11
ROLL OVER VALVE ASSY
20K-24180-00-00
Unavailable
13
PIPE 4
56R-24314-00-00
Unavailable
14
PIPE, FUEL 1
4KN-24311-01-00
Unavailable
15
HOSE (56R)
(90446-11242-00)
Unavailable
16
CLIP
90467-090A2-00
Unavailable
17
CLIP(1JH)
90467-11106-00
Unavailable
