- Partiron
- OEM Parts
- Yamaha
- motorcycle
- 1991
- XT350BC (XT350 CA) 1991
TURNSIGNAL
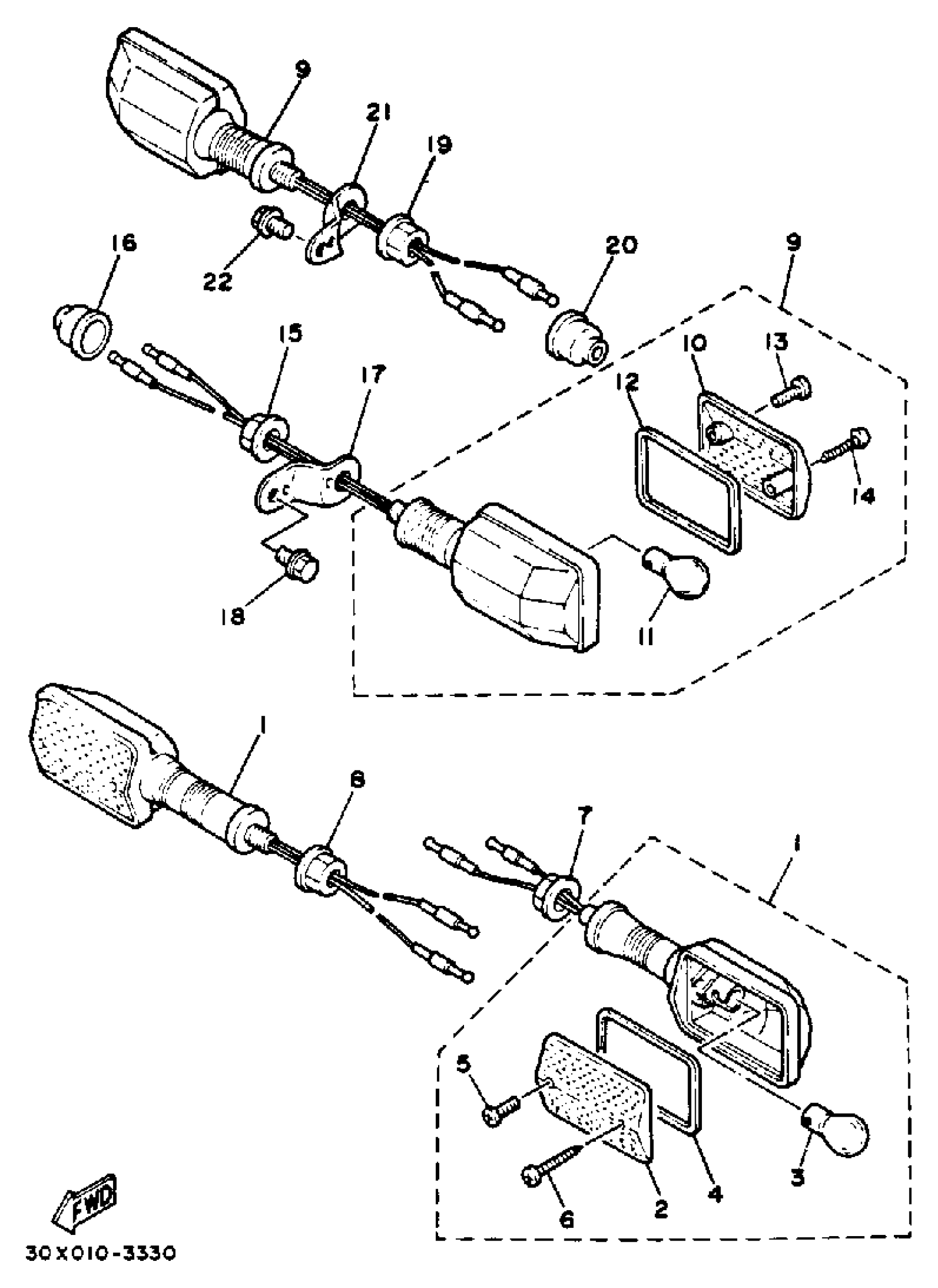
Yamaha XT350BC (XT350 CA) 1991 TURNSIGNAL Diagram
#
Description
Price
1
FRONT FLASHER LIGHT ASSEMBLY 1
5Y1-83310-70-00
Unavailable
3
. BULB (12V-32CP)
256-83311-70-XX
Unavailable
4
GASKET, FLASHER LENS
5Y1-83313-00-00
Unavailable
11
. BULB (12V-32CP)
256-83311-70-XX
Unavailable
12
GASKET, FLASHER LENS
5Y1-83313-00-00
Unavailable
16
CAP
10V-83365-01-00
Unavailable
17
STAY, FLASHER 1
10V-83368-00-00
Unavailable
18
BOLT, SMALL FLANGE
95027-08012-00
Unavailable
20
CAP
10V-83365-01-00
Unavailable
21
STAY, FLASHER 2
10V-83369-00-00
Unavailable
22
BOLT, SMALL FLANGE
95027-08012-00
Unavailable
