Yamaha XT350AC (XT350 CA) 1990 STEERING Diagram
#
Description
Price
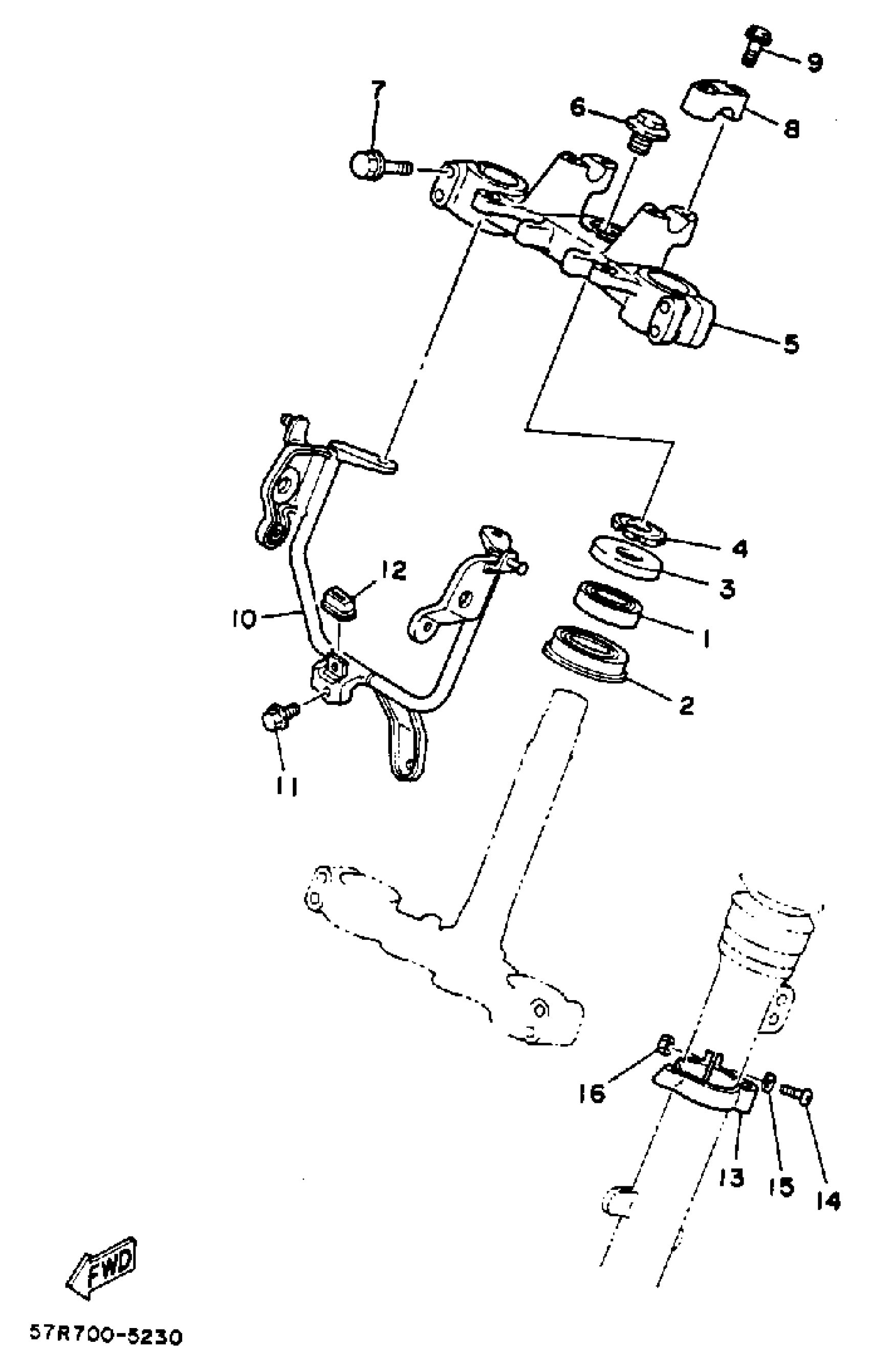
3
COVER, BALL RACE 2
1W1-23416-00-00
Unavailable
5
CROWN, HANDLE
30X-23435-00-98
Unavailable
8
HOLDER, HANDLE UPR
(156-23441-00-00)
Unavailable
10
STAY, HEADLIGHT
30X-23174-00-00
Unavailable
16
NUT, HEXAGON (663)
95380-05600-00
Unavailable
