Partiron

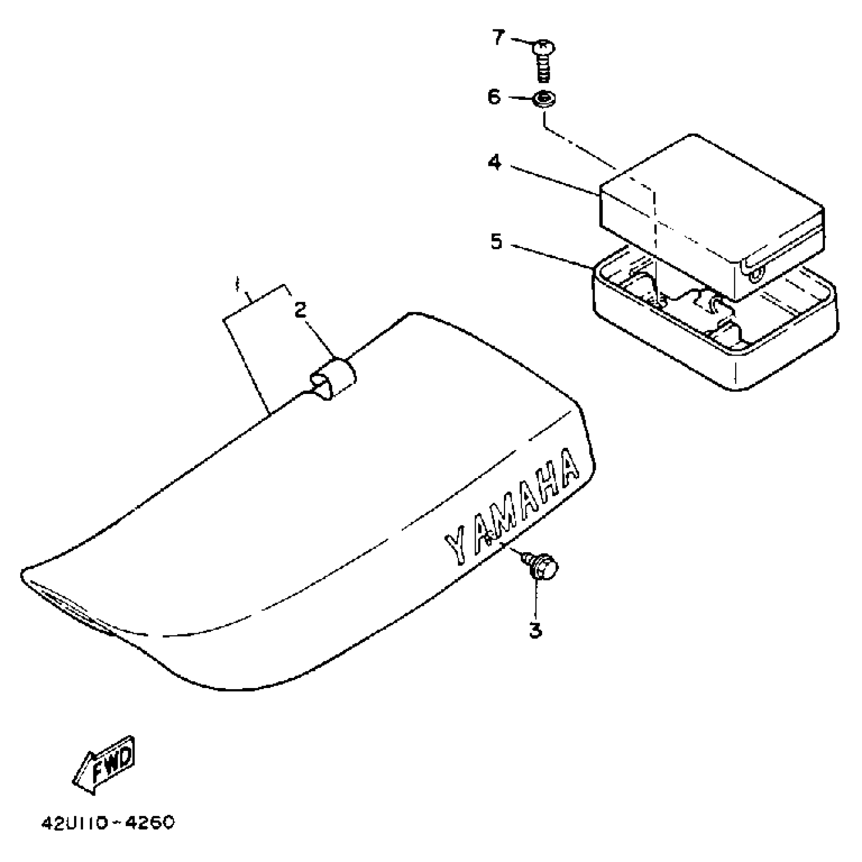
Yamaha XT250LC (XT250 CA) 1984 SEAT Diagram

#

Description
Price

1

SEAT, SEMI-DBL ASY

30X-24770-40-00

Unavailable

2

COVER SEAT (RADICAL GREY)

30X-2477A-40-00

Unavailable

3

BOLT, FLANGE

95817-06016-00

$2.75

4

CARRIER BOX ASSEMBLY

38M-24850-00-00

Unavailable

4

BOLT, FLANGE

95817-06016-00

$2.75

5

BRACKET, CARRIER 2

30X-24833-00-00

Unavailable

6

WASHER, PLATE

90201-06020-00

$9.49

7

SCREW, PAN

98507-06014-00

$8.49