- Partiron
- OEM Parts
- Yamaha
- motorcycle
- 1983
- XT250KC (XT250 CA) 1983
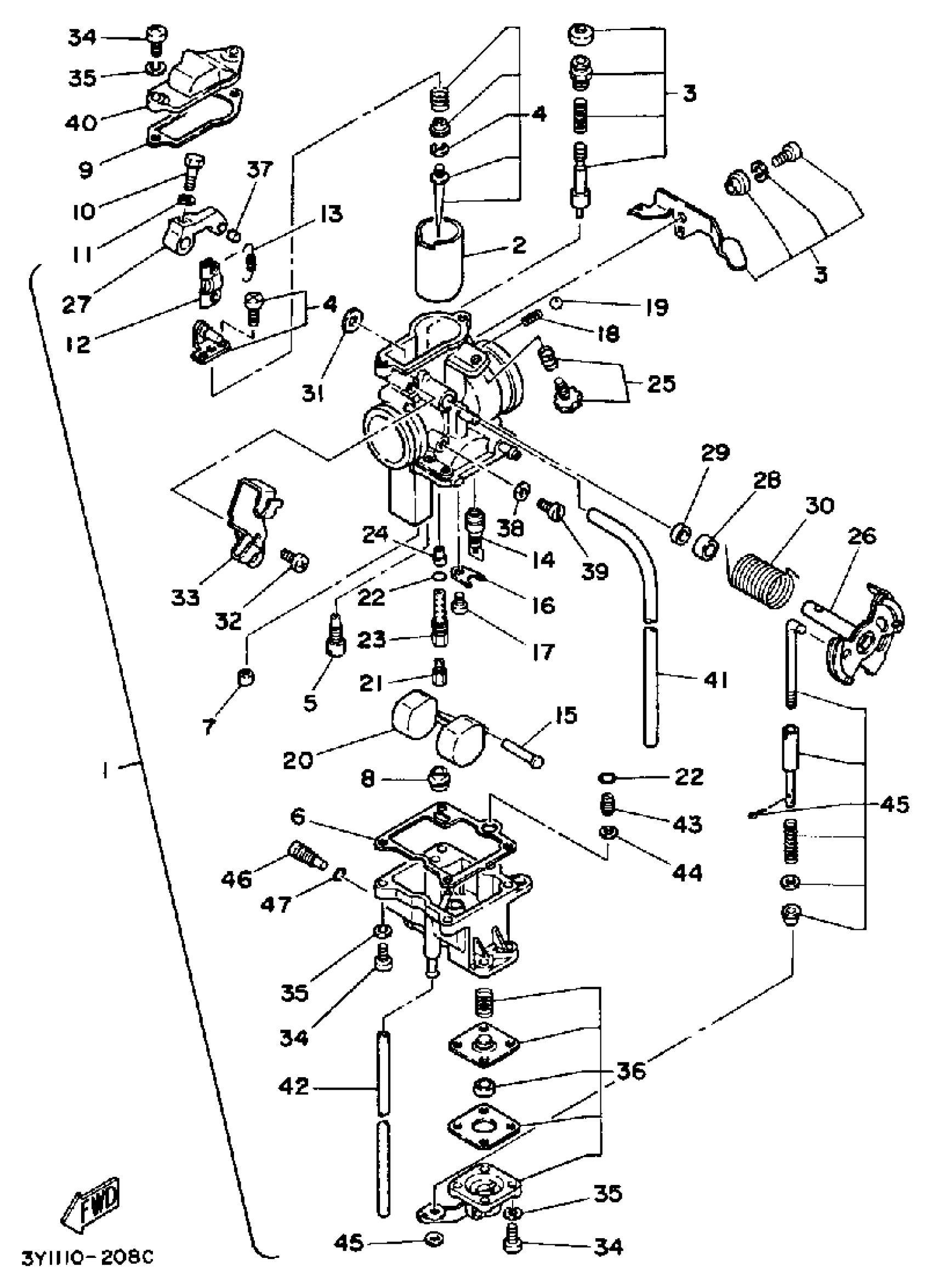
CARBURETOR XT250KC CALIFORNIA ONLY
Yamaha XT250KC (XT250 CA) 1983 CARBURETOR XT250KC CALIFORNIA ONLY Diagram
#
1
CARBURETOR ASSEMBLY 1
(20T-14101-00-00)
Unavailable
2
VALVE, THROTTLE 1
(3Y1-14112-25-00)
Unavailable
3
STARTER SET
(24U-1410A-00-00)
Unavailable
4
NEEDLE SET
(20T-1490J-00-00)
Unavailable
5
. JET PILOT 175 (3Y1-14142-17-A0)
3Y1-14142-17-00
Unavailable
6
GASKET
3Y1-14184-00-00
Unavailable
7
CAP
3F9-14118-00-00
Unavailable
8
WASHER, MAIN JET
(3Y1-14153-00-00)
Unavailable
9
GASKET
3Y1-14536-00-00
Unavailable
10
SCREW
(3Y1-14592-00-00)
Unavailable
12
. SCREW, PILOT ADJUSTING
3Y1-14211-00-00
Unavailable
13
SPRING
(3Y1-14275-00-00)
Unavailable
16
. PLATE
2H0-14146-00-00
Unavailable
17
SCREW, PAN HEAD(3XP)
98517-04006-00
Unavailable
18
SPRING
583-14589-00-00
Unavailable
19
BALL
93501-08001-00
Unavailable
20
. FLOAT
3H1-14185-00-00
Unavailable
21
JET, MAIN (#165)
137-14143-33-00
Unavailable
22
O-RING
583-14561-00-00
Unavailable
23
. PIPE
3H1-14148-00-00
Unavailable
24
NOZZLE, MAIN
(3Y1-14141-38-00)
Unavailable
25
. THROTTLE SCREW SET
24U-14103-00-00
Unavailable
26
. SHAFT, THROTTLE LEVER
3Y1-14215-00-00
Unavailable
27
BRACKET 2
(3Y1-14292-00-00)
Unavailable
28
COLLAR
(3F7-14265-00-00)
Unavailable
29
SEAL
2A2-14997-00-00
Unavailable
30
. SPRING, THROTTLE VALVE
3Y1-14131-00-00
Unavailable
31
WASHER (3H1)
1A8-14953-00-00
Unavailable
32
SCREW, PAN HEAD(62X)
97885-05010-00
Unavailable
33
. BRACKET, THROTTLE
3Y1-14571-00-00
Unavailable
34
SCREW, PAN HEAD (E56)
98580-04010-00
Unavailable
36
DIAPHRAGM SET 1
(24U-1490A-00-00)
Unavailable
37
CAP
3F9-14118-00-00
Unavailable
38
.. WASHER, PLUG SCREW
584-14956-00-00
Unavailable
39
. PLUG, SCREW
2F5-14115-00-00
Unavailable
40
TOP, MIXING CHAMBER
(3Y1-14158-00-00)
Unavailable
41
PIPE
26H-14197-01-00
Unavailable
42
HOSE
88R-14987-00-00
Unavailable
43
. VALVE, CHECK SEAT
2H0-14272-00-00
Unavailable
44
. WASHER, NEEDLE VALVE
2H0-14195-00-00
Unavailable
45
. NO LONGER AVAILABLE
24U-14504-00-00
Unavailable
46
SCREW
2L1-14191-00-00
Unavailable
47
O-RING
214-14147-00-00
Unavailable
