- Partiron
- OEM Parts
- Yamaha
- motorcycle
- 1981
- XT250H 1981
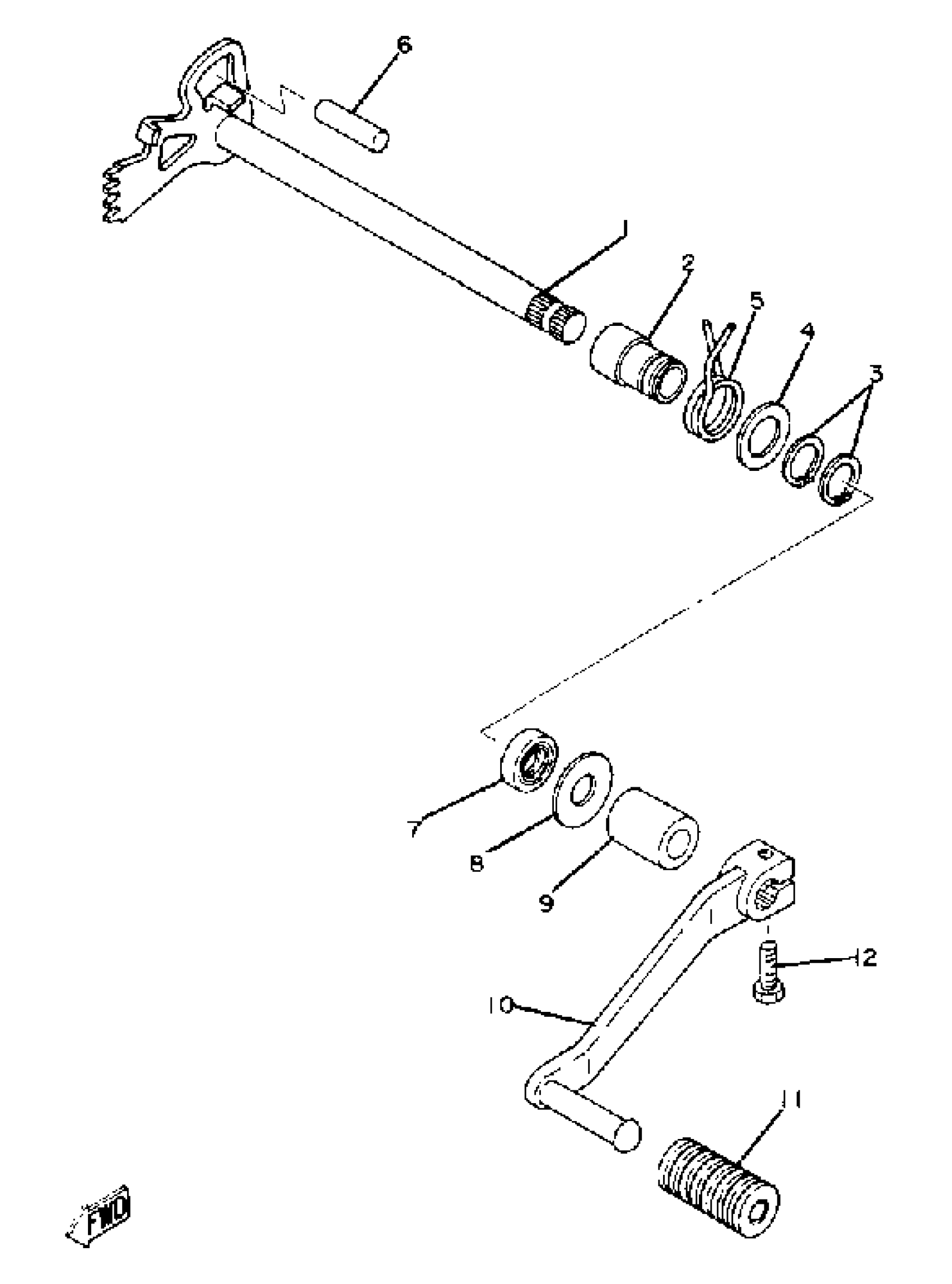
SHIFT SHAFT PEDAL
Yamaha XT250H 1981 SHIFT SHAFT PEDAL Diagram
#
Description
Price
1
SHIFT SHAFT ASSY
3Y1-18101-01-00
Unavailable
6
PIN, DOWEL
93608-30152-00
Unavailable
10
PEDAL,SHIFT
3Y1-18111-00-00
Unavailable
