Yamaha XT225RC (XT225 CA) 5RK4 2003 FRONT FORK Diagram
#
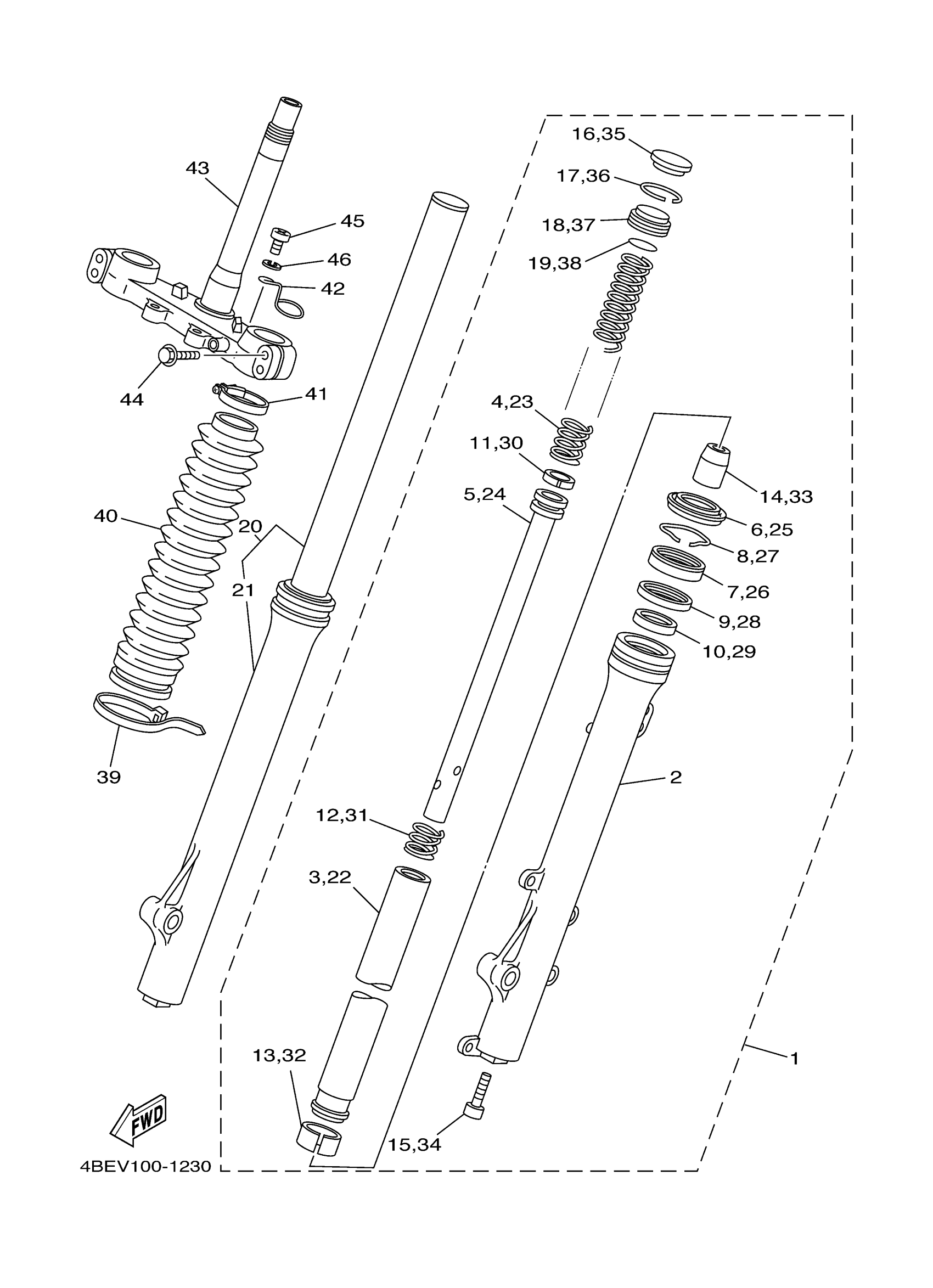
1
FRONT FORK ASSY (L.H)
4BE-23102-10-00
Unavailable
2
TUBE, OUTER (LEFT)
4JG-23126-00-00
Unavailable
3
. INNER TUBE COMP 1
3RW-23110-01-00
Unavailable
4
. SPRING
3RW-23351-00-00
Unavailable
5
. PISTON, FRONT FORK
4JG-23171-01-00
Unavailable
10
METAL, SLIDE 1
34X-23125-00-00
Unavailable
11
RING, PISTON
4JG-23157-00-00
Unavailable
12
SPRING, REBOUND
34X-23151-00-00
Unavailable
14
. SPACER, OIL LOCK
4JG-23166-00-00
Unavailable
16
CAP, FRONT FORK
35E-23168-00-00
Unavailable
17
CIRCLIP
35E-23183-00-00
Unavailable
18
BOLT, CAP
35E-23111-00-00
Unavailable
19
O-RING(1HX)
93210-24709-00
Unavailable
20
FRONT FORK ASSY (R.H)
4BE-23103-10-00
Unavailable
21
. TUBE, OUTER (RIGHT)
34X-23136-00-38
Unavailable
22
. INNER TUBE COMP 1
3RW-23110-01-00
Unavailable
23
. SPRING
3RW-23351-00-00
Unavailable
24
. PISTON, FRONT FORK
4JG-23171-01-00
Unavailable
29
METAL, SLIDE 1
34X-23125-00-00
Unavailable
30
RING, PISTON
4JG-23157-00-00
Unavailable
31
SPRING, REBOUND
34X-23151-00-00
Unavailable
33
. SPACER, OIL LOCK
4JG-23166-00-00
Unavailable
35
CAP, FRONT FORK
35E-23168-00-00
Unavailable
36
CIRCLIP
35E-23183-00-00
Unavailable
37
BOLT, CAP
35E-23111-00-00
Unavailable
38
O-RING(1HX)
93210-24709-00
Unavailable
39
BAND
3RW-23192-00-00
Unavailable
40
BOOT
4JG-23191-20-00
Unavailable
41
BAND
34X-23192-00-00
Unavailable
42
GUIDE, CABLE
10V-2331E-02-00
Unavailable
43
UNDER BRACKET COMP.
1RF-23340-00-00
Unavailable
44
BOLT, FLANGE(3EF)
95024-08035-00
Unavailable
45
SCREW, PAN
98517-06012-00
Unavailable
46
WASHER, SPRING
92907-06100-00
Unavailable
