Partiron

Yamaha XT225PC (XT225 CA) 5RK1 2002 STARTING MOTOR Diagram

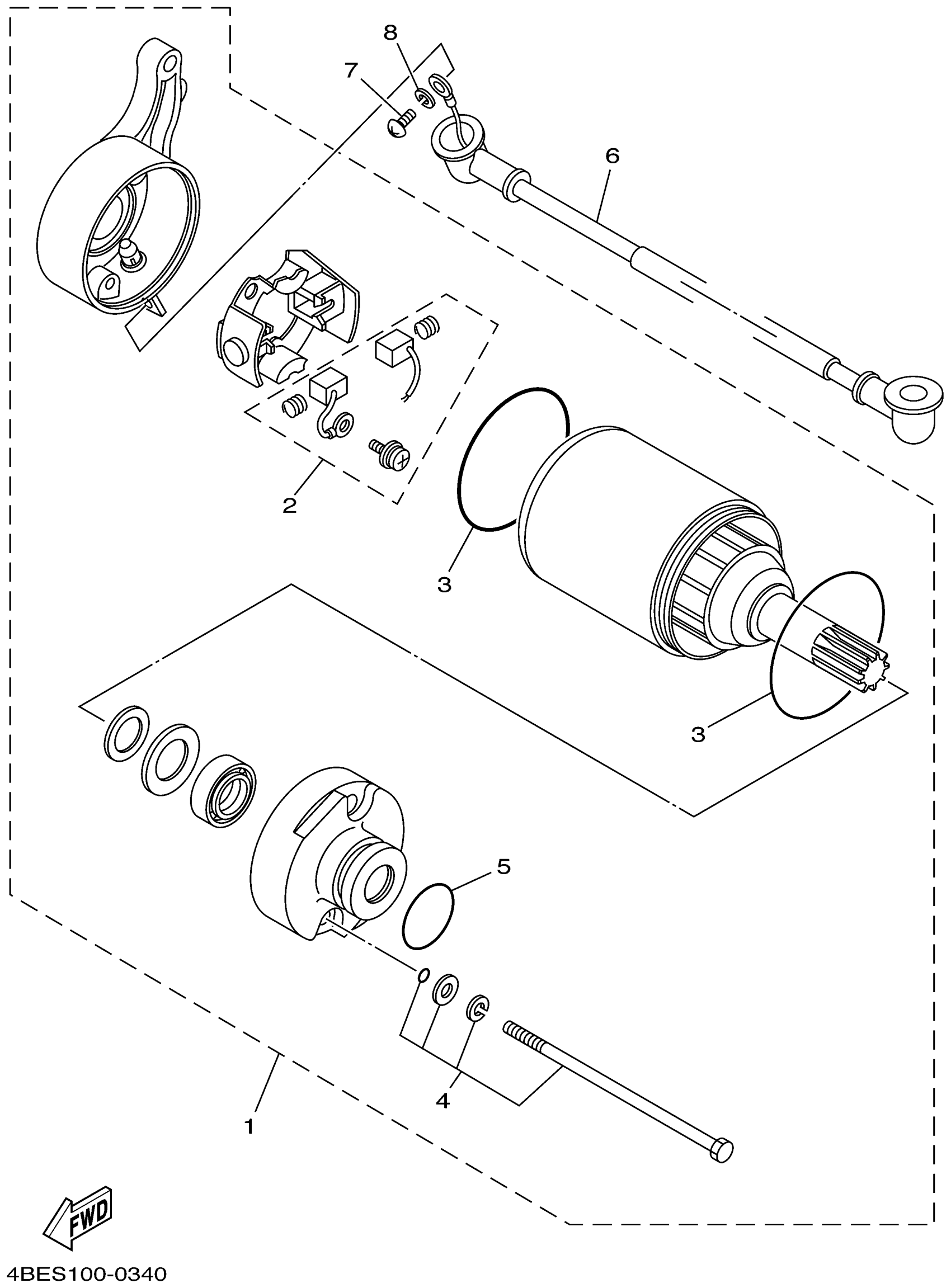
#

Description
Price

1

MOTOR ASSY

4JG-81890-00-00

Unavailable

2

BRUSH SET

3C5-81801-00-00

$23.99

3

O-RING(50M)

93210-55669-00

$8.49

4

BOLT 2

59V-81828-M0-00

$16.49

5

O-RING(1RL)

93210-25711-00

$7.49

6

. CORD COMP

3RW-8183G-00-00

Unavailable

7

GASKET, EXHAUST

98507-05008-00

$3.55

8

WASHER(3SX)

92907-05100-00

$8.49