Partiron

Yamaha XT225MC (SEROW CA) 4BET 2000 SEAT Diagram

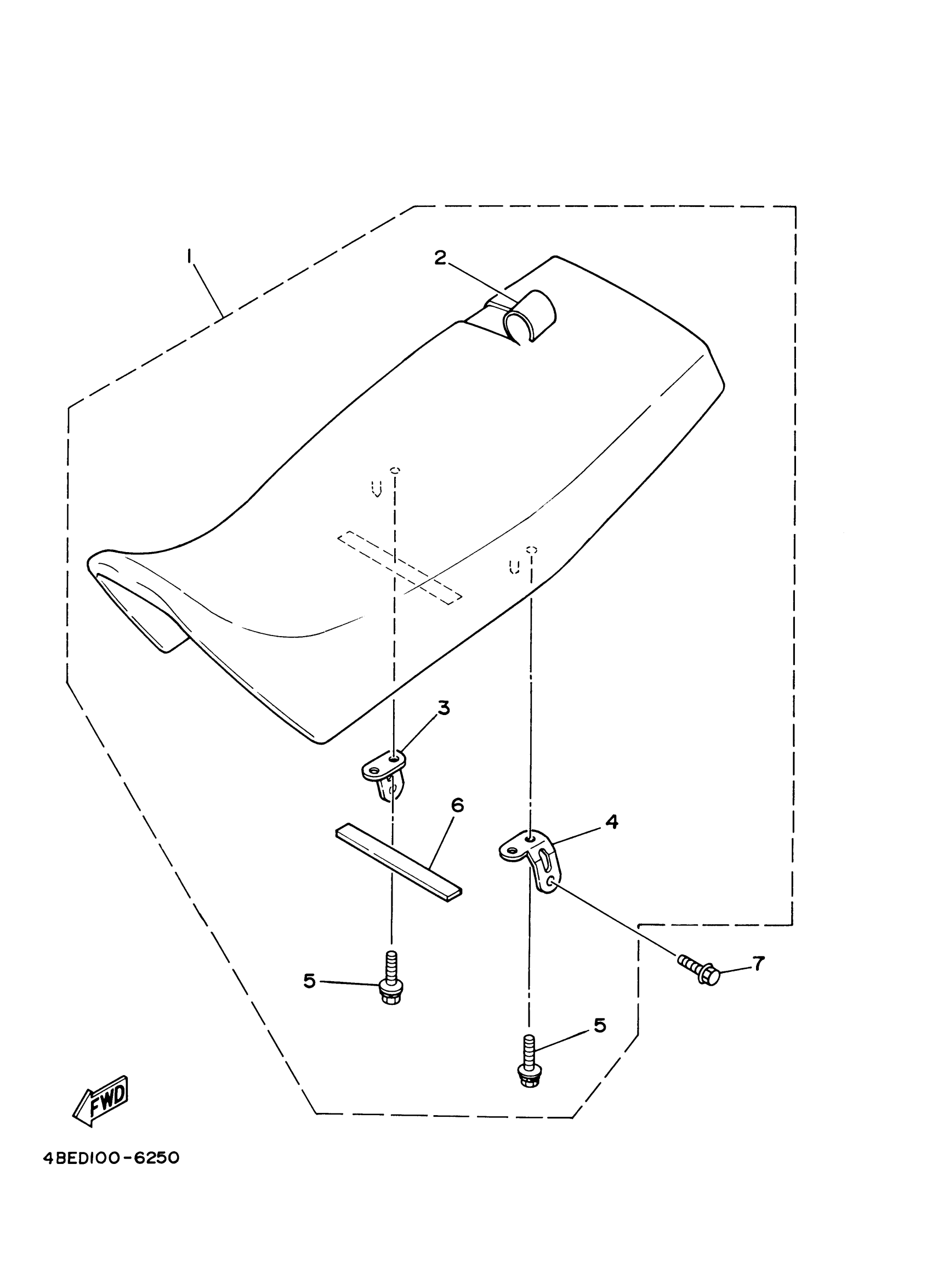
#

Description
Price

1

DOUBLE SEAT ASSEMBLY

3RW-24730-70-00

Unavailable

2

. COVER, SEAT

3RW-24731-70-00

Unavailable

3

. BRACKET, SEAT

3RW-24738-00-00

Unavailable

4

BRACKET, SEAT

3RW-24748-00-00

$11.99

5

BOLT, FLANGE

95817-06016-00

$2.75

6

. SEAL

1KH-2475M-00-00

Unavailable

7

BOLT, WITH WASHER

90119-06242-00

$7.49