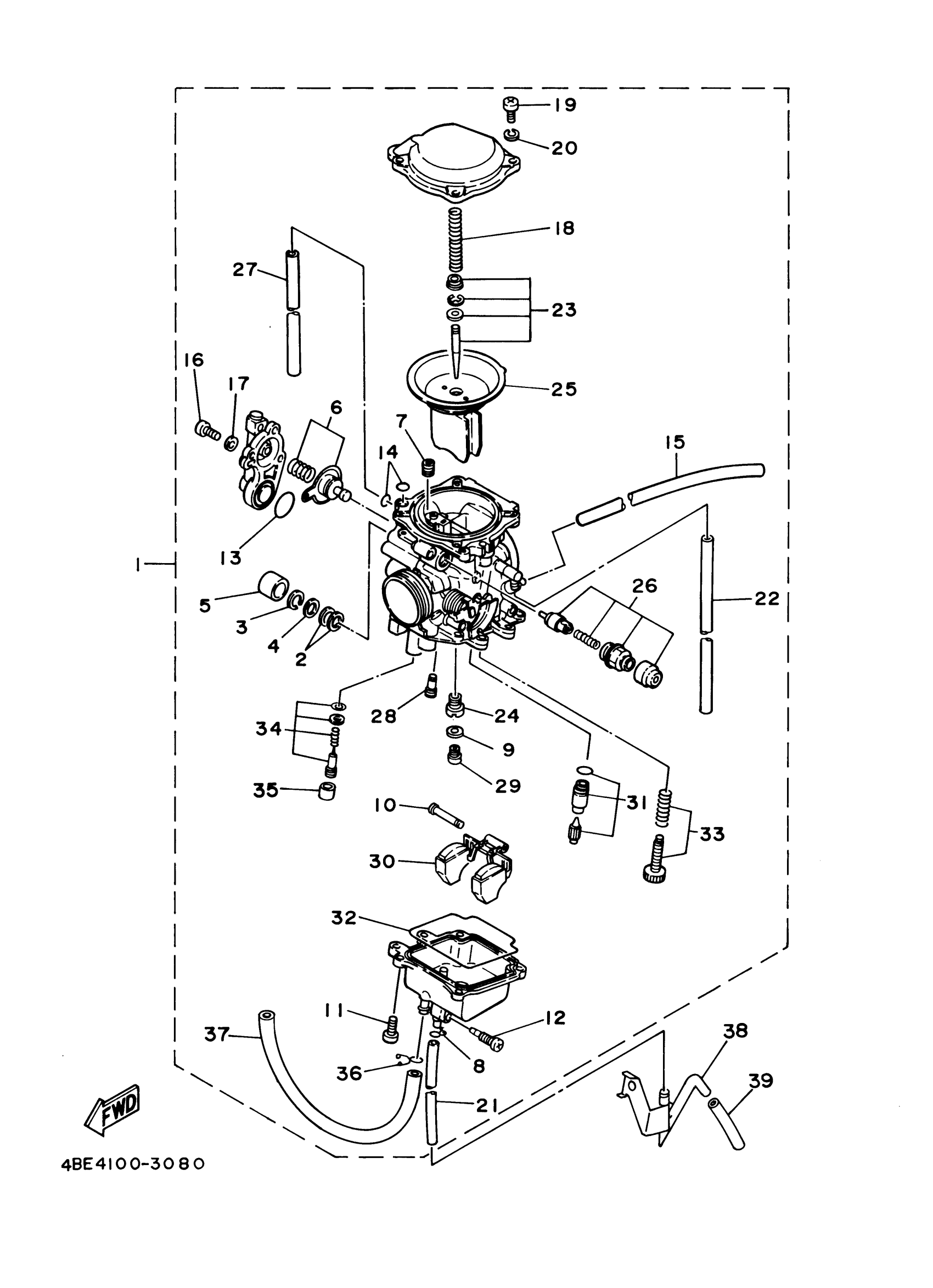
Yamaha XT225MC (SEROW CA) 4BET 2000 CARBURETOR Diagram
#
1
CARBURETOR ASSEMBLY 1
4BE-14901-01-00
Unavailable
1
CARBURETOR ASSY 1
4BE-14901-11-00
Unavailable
2
SEAL
2A2-14997-00-00
Unavailable
4
GASKET
22F-14126-00-00
Unavailable
5
CAP
36X-14169-00-00
Unavailable
7
PILOT JET, AIR (1.2)
2A2-14172-12-00
Unavailable
8
. CLIP, PIPE
22F-14139-00-00
Unavailable
11
SCREW, PAN HEAD
98511-04012-00
Unavailable
15
HOSE (L1500)
90445-084J0-00
Unavailable
15
PIPE
26H-14197-01-00
Unavailable
16
SCREW, PAN HEAD (713)
98580-04008-00
Unavailable
17
YBS67-4 WASHER, SPRING
92990-04100-00
Unavailable
18
SPRING, DIAPHRAGM
2LN-14933-00-00
Unavailable
19
SCREW, PAN HEAD(JG1)
98507-04008-00
Unavailable
20
WASHER(6TA)
92907-04100-00
Unavailable
21
PIPE
3UH-14193-00-00
Unavailable
21
PIPE 1
3XV-14348-20-00
Unavailable
22
PIPE
55X-14196-00-00
Unavailable
23
NEEDLE SET
4BE-1490J-00-00
Unavailable
24
NOZZLE, MAIN
4BE-14141-31-00
Unavailable
25
DIAPHRAGM ASSY
2LN-14940-00-00
Unavailable
26
STARTER SET
3RW-1410A-10-00
Unavailable
27
HOSE (L1500)
90445-084J0-00
Unavailable
28
JET, PILOT (# 40)
4G0-14142-40-00
Unavailable
29
JET, MAIN (#130)
620-14231-26-A0
Unavailable
30
FLOAT
2VA-14185-00-00
Unavailable
30
FLOAT
2VA-14185-00-00
Unavailable
31
NEEDLE VALVE SET
1UY-14107-20-00
Unavailable
32
O-RING
2LN-14147-00-00
Unavailable
33
THROTTLE SCREW SET
4CW-14103-00-00
Unavailable
34
PILOT SCREW SET
4BE-14105-00-00
Unavailable
35
CAP
3F9-14118-00-00
Unavailable
36
CLIP
90467-090A2-00
Unavailable
37
HOSE (L1040)
90445-10MA9-00
Unavailable
38
PIPE
4BE-14193-00-00
Unavailable
39
HOSE (L200)
90445-07176-00
Unavailable
