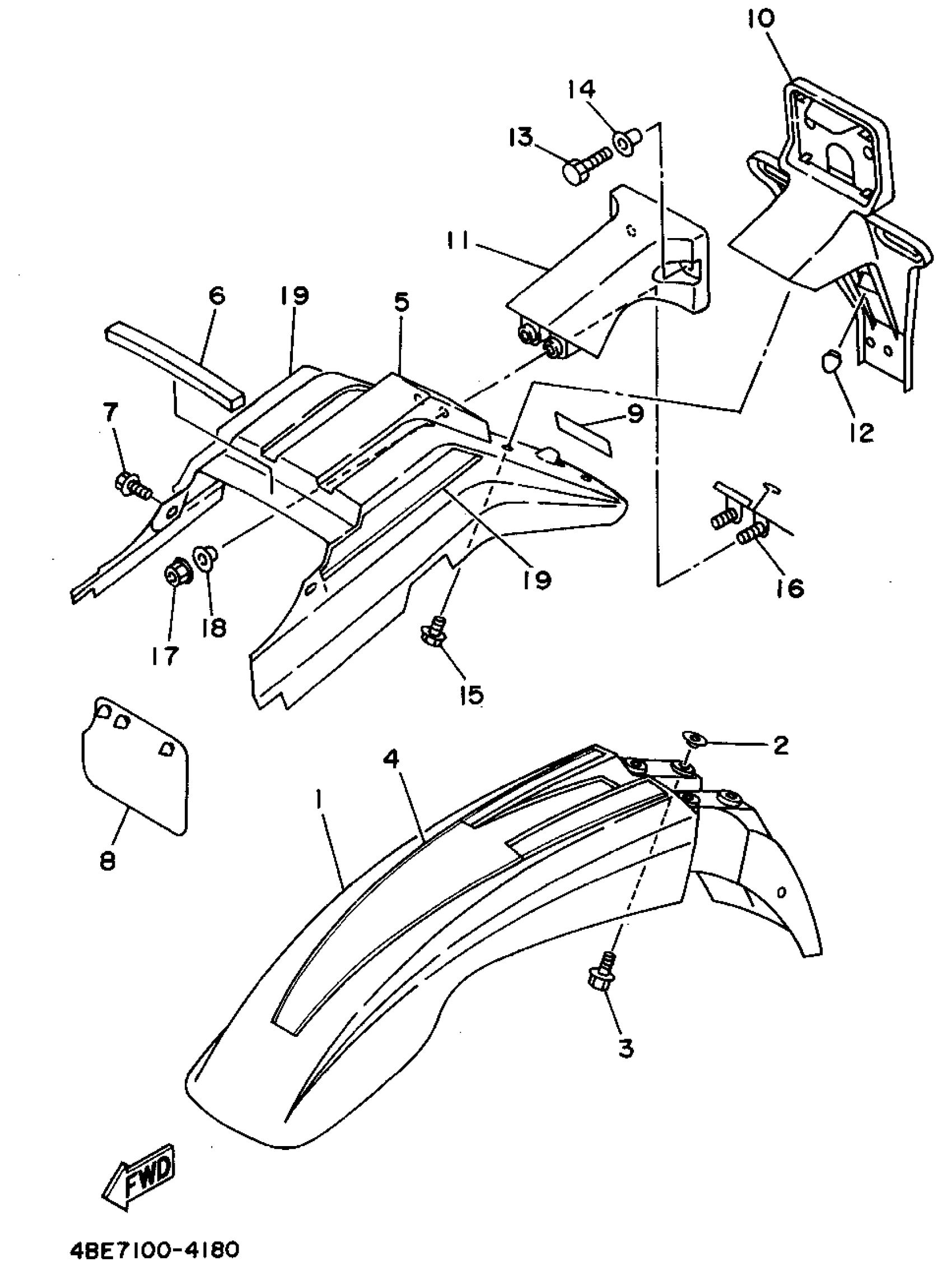
Yamaha XT225FC (SEROW CA) 1994 FENDER Diagram
#
Description
Price
1
FENDER, FRONT
4BE-21511-00-00
Unavailable
4
GRAPHIC SET,
4JG-21570-10-00
Unavailable
5
FENDER,REAR
99999-03284-00
Unavailable
11
DAMPER
4BE-84527-00-00
Unavailable
12
DAMPER 2
42U-21639-00-00
Unavailable
14
COLLAR 437216330000
90387-07391-00
Unavailable
16
CLAMP, WIRE
4BE-21637-00-00
Unavailable
17
NUT, U FLANGE
95604-06200-00
Unavailable
19
GRAPHIC SET,
4JG-2165A-10-00
Unavailable
