- Partiron
- OEM Parts
- Yamaha
- motorcycle
- 1982
- XT200J (XT200) 1982
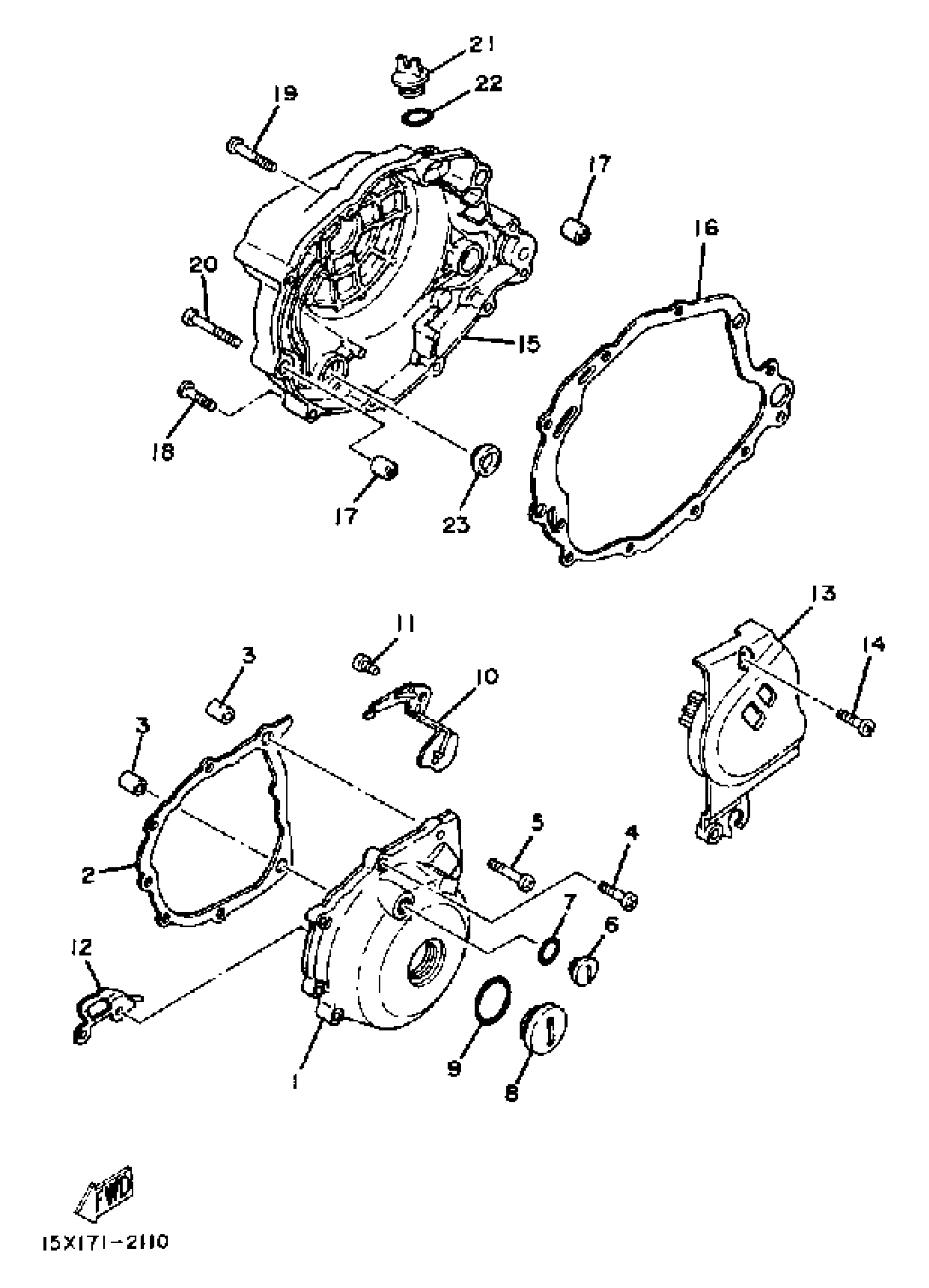
CRANKCASE COVER
Yamaha XT200J (XT200) 1982 CRANKCASE COVER Diagram
#
Description
Price
1
COVER, CRANKCASE L
15A-15411-00-00
Unavailable
6
PLUG, STRAIGHT SCREW (5Y1)
90340-14079-00
Unavailable
12
CLAMP
90462-16096-00
Unavailable
13
CRCS COVER ASSEMBLY RASSEMBLY 2
15A-15420-01-00
Unavailable
15
COVER KIT, CRNKCASE (15A-15431-00)
99999-01932-00
Unavailable
16
GASKET, CRANKCASE COVER 3
4BE-15462-00-00
Unavailable
20
SCREW, PAN
98507-06045-00
Unavailable
21
PLUG, OIL
3Y1-15363-10-00
Unavailable
22
O-RING (646)
93210-19123-00
Unavailable
23
GAUGE, LEVEL
3Y1-15361-00-00
Unavailable
