- Partiron
- OEM Parts
- Yamaha
- motorcycle
- 1983
- XT125KC (XT125 CA) 1983
CARBURETOR
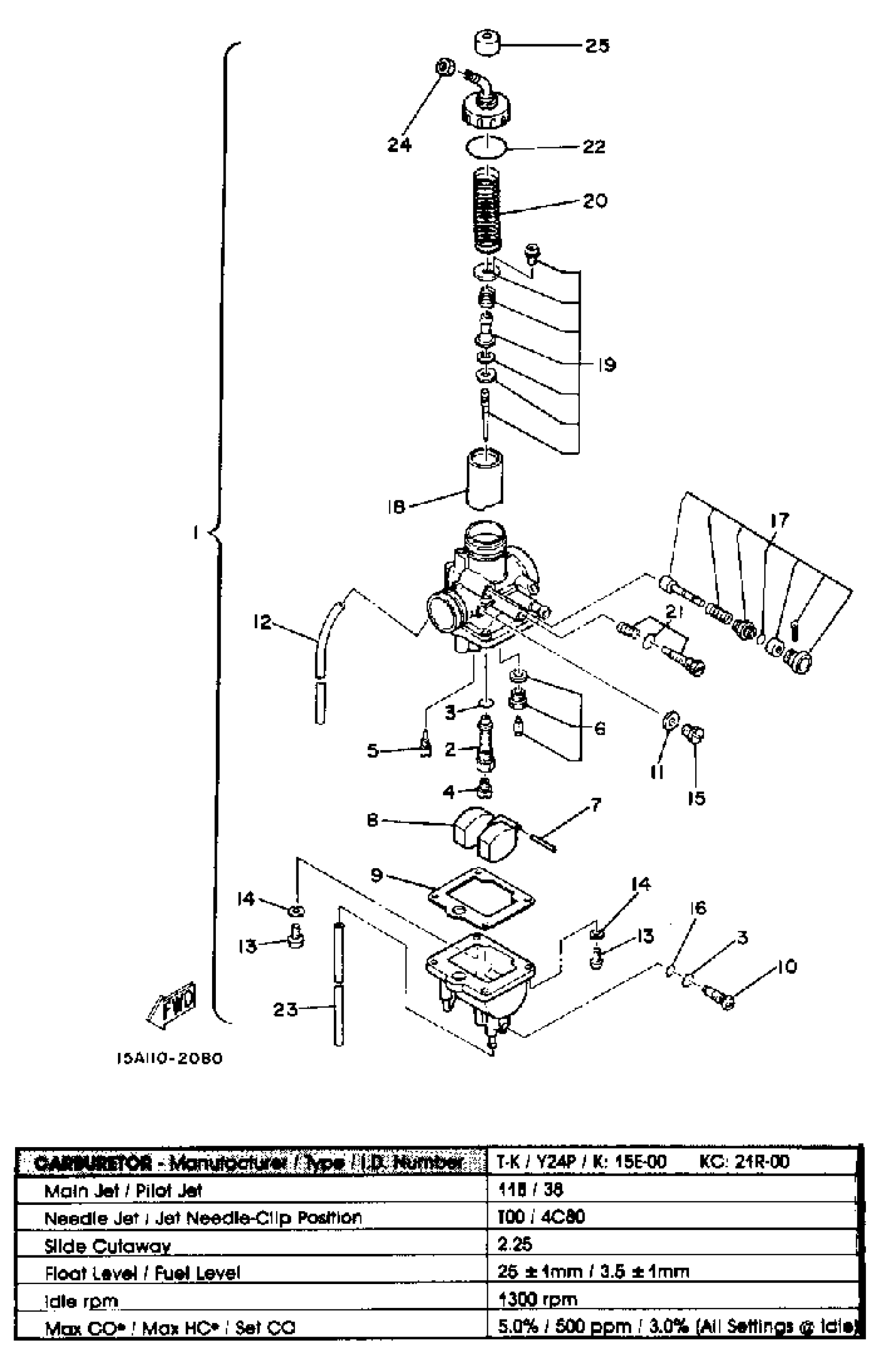
Yamaha XT125KC (XT125 CA) 1983 CARBURETOR Diagram
#
Description
Price
1
CARBURETOR ASSEMBLY 1 (15E-14301-00)
15E-14301-01-00
Unavailable
1
CARBURETOR ASSEMBLY 1
(21R-14301-01-00)
Unavailable
2
. NOZZLE, MAIN
15E-14341-00-00
Unavailable
5
. JET, PILOT #38 (#038)
5H0-14342-19-00
Unavailable
7
. PIN, FLOAT
647-14386-10-00
Unavailable
8
FLOAT
367-14385-00-00
Unavailable
9
GASKET, FLOAT CHAMBER
5H0-14384-00-00
Unavailable
10
. PLUG, SCREW
5H0-14115-00-00
Unavailable
12
PIPE 1
(15E-14348-00-00)
Unavailable
15
SCREW
5H0-14991-00-00
Unavailable
16
O-RING
5H0-14397-00-00
Unavailable
17
PLUNGER, STARTER
15A-14371-01-00
Unavailable
18
. VALVE, THROTTLE 1
15E-14312-22-00
Unavailable
19
. NEEDLE SET
15E-1490J-01-00
Unavailable
20
SPRING,THRTL VALVE
15E-14331-00-00
Unavailable
21
THROTTLE SCREW SET
4WP-14103-00-00
Unavailable
22
. O-RING
1J2-14147-00-00
Unavailable
23
. PIPE
36F-14396-00-00
Unavailable
24
NUT, CABLE ADJUSTING
85L-14161-00-00
Unavailable
25
. CAP
15A-14118-00-00
Unavailable
