Partiron

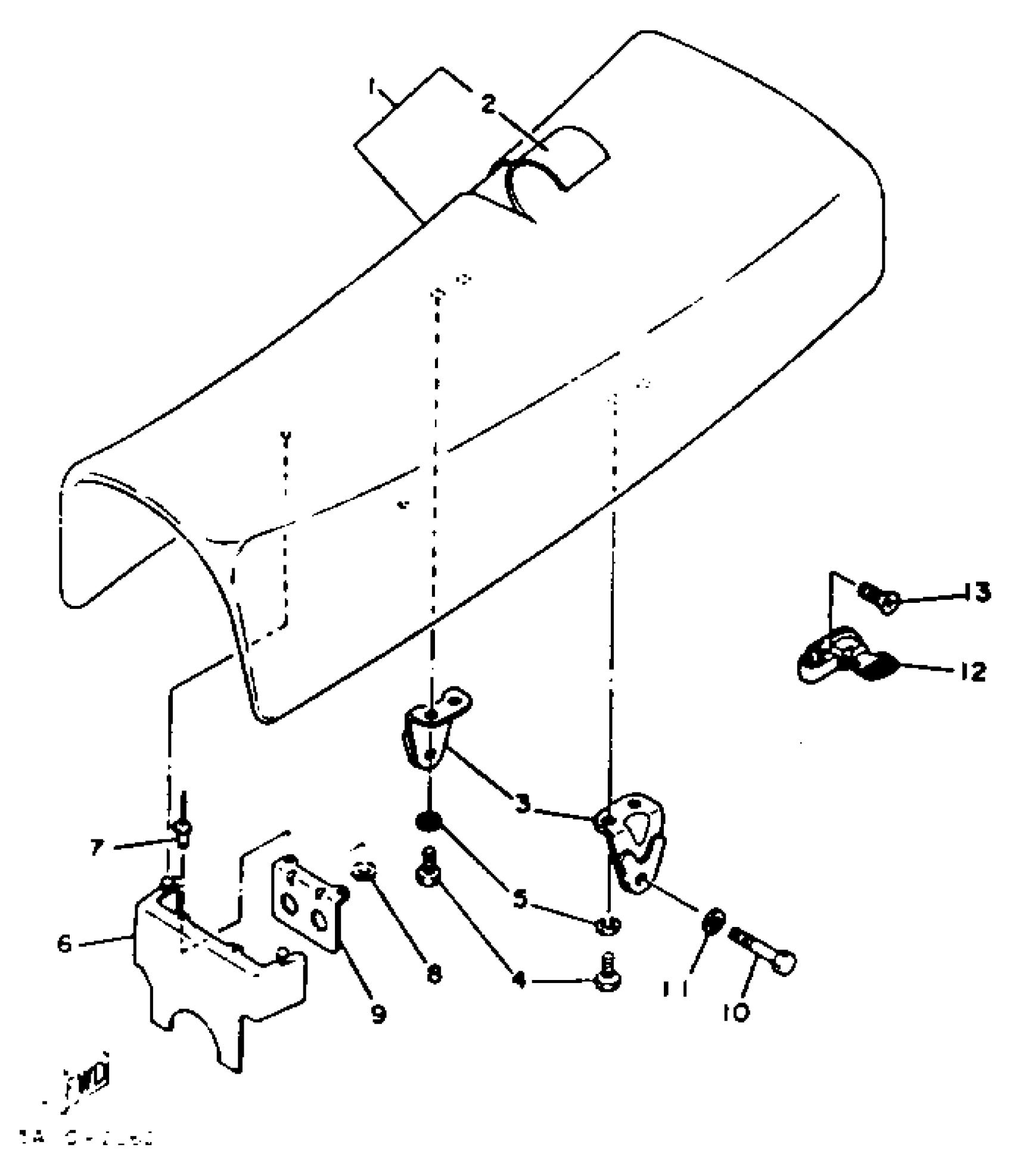
Yamaha XT125J (XT125) 1982 SEAT Diagram

#

Description
Price

1

SEMI-DBL-SEAT ASSEMBLY

15A-W2473-00-00

Unavailable

2

. COVER, DOUBLE SEAT

15A-24731-00-00

Unavailable

3

BRACKET, SEAT

15A-24738-00-00

Unavailable

4

BOLT, HEXAGON DEEP RECESS

97D95-06016-00

$2.76

5

WASHER, SPRING

92995-06100-00

Unavailable

6

BAND, FLAP

(15A-21622-00-00)

Unavailable

7

RIVET, BLIND

90267-32019-00

Unavailable

8

WASHER (22F)

90201-033H3-00

$3.66

9

GUARD, FLAP

15A-21642-00-00

Unavailable

10

BOLT, HEXAGON

97017-06020-00

$4.06

11

WASHER, SPRING

92907-06100-00

$4.25

12

HELMET HANGER ASSY

5H0-21308-01-00

$84.99

13

SCREW, FLAT

98707-06014-00

$8.49