- Partiron
- OEM Parts
- Yamaha
- motorcycle
- 1981
- XS850LH (XS850L) 1981
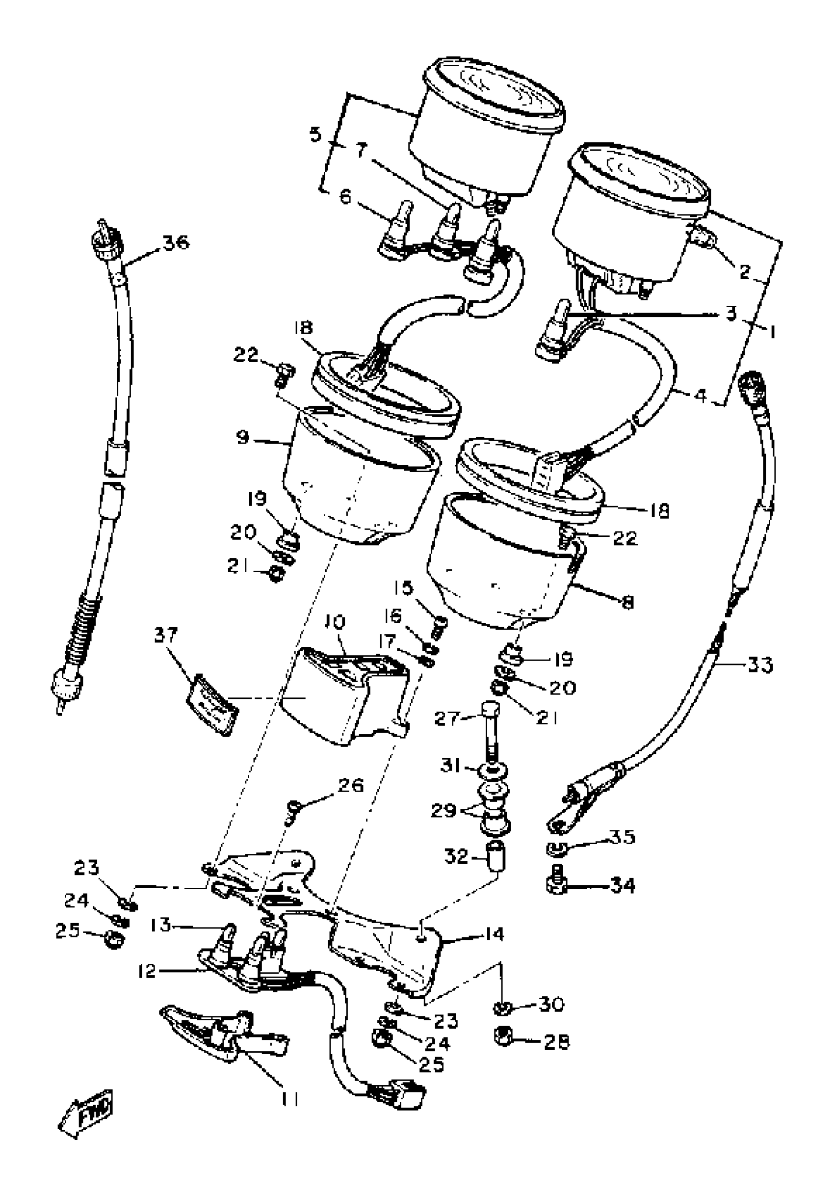
SPEEDOMETER TACHOMETER
Yamaha XS850LH (XS850L) 1981 SPEEDOMETER TACHOMETER Diagram
#
1
SPEEDOMETER ASSY
5H1-83570-A0-00
Unavailable
3
BULB, MTR.12V3.4W
4G1-84744-00-XX
Unavailable
4
. SOCKET CORD ASSY
10M-83520-20-00
Unavailable
5
TACHOMETER ASSEMBLY
(3V0-83540-F0-00)
Unavailable
6
SOCKET CORD ASSEMBLY
(3J2-83520-01-00)
Unavailable
7
BULB, MTR.12V3.4W
4G1-84744-00-XX
Unavailable
8
COVER, SPEEDOMETER
4H1-83507-00-00
Unavailable
9
COVER, TACHOMETER
4H1-83508-00-00
Unavailable
10
PILOT BOX, UPPER
3J6-83568-A0-00
Unavailable
11
PILOT BOX, LOWER
3J6-83569-A0-00
Unavailable
12
SOCKET CORD ASSEMBLY
3J6-83509-01-00
Unavailable
13
BULB, MTR.12V3.4W
4G1-84744-00-XX
Unavailable
14
BRACKET, METER
3J6-83519-00-00
Unavailable
16
WASHER(6TA)
92907-04100-00
Unavailable
17
WASHER(JF2)
92907-04600-00
Unavailable
18
DAMPER
3H3-83513-00-00
Unavailable
19
DAMPER, METER COVER FITTING
584-83523-00-00
Unavailable
20
WASHER PLATE 803835240000
90201-05032-00
Unavailable
21
NUT, CAP
95307-05800-00
Unavailable
22
BOLT
584-83546-00-00
Unavailable
23
WASHER(6TA)
92907-06200-00
Unavailable
24
WASHER, SPRING
92907-06100-00
Unavailable
25
NUT(4MY)
95307-06800-00
Unavailable
26
SCREW, PAN TAP.2 SLIT
97707-40614-00
Unavailable
27
BOLT(8BC)
97017-06040-00
Unavailable
28
NUT, HEXAGON
95380-06600-00
Unavailable
29
DAMPER, METER BRACKET
584-83541-00-00
Unavailable
30
WASHER, SPRING
92995-06100-00
Unavailable
31
WASHER, PLATE
90201-06380-00
Unavailable
32
COLLAR (877)
90387-06249-00
Unavailable
33
SPEEDOMETER CABLE
5K5-83550-00-00
Unavailable
34
SCREW, HEXAGON
90153-06004-00
Unavailable
35
WASHER, SPRING
92995-06100-00
Unavailable
36
TACHOMETER CABLE
4W3-83560-00-00
Unavailable
37
EMBLEM 7
4H3-21787-00-00
Unavailable
