- Partiron
- OEM Parts
- Yamaha
- motorcycle
- 1979
- XS750SF (XS750S) 1979
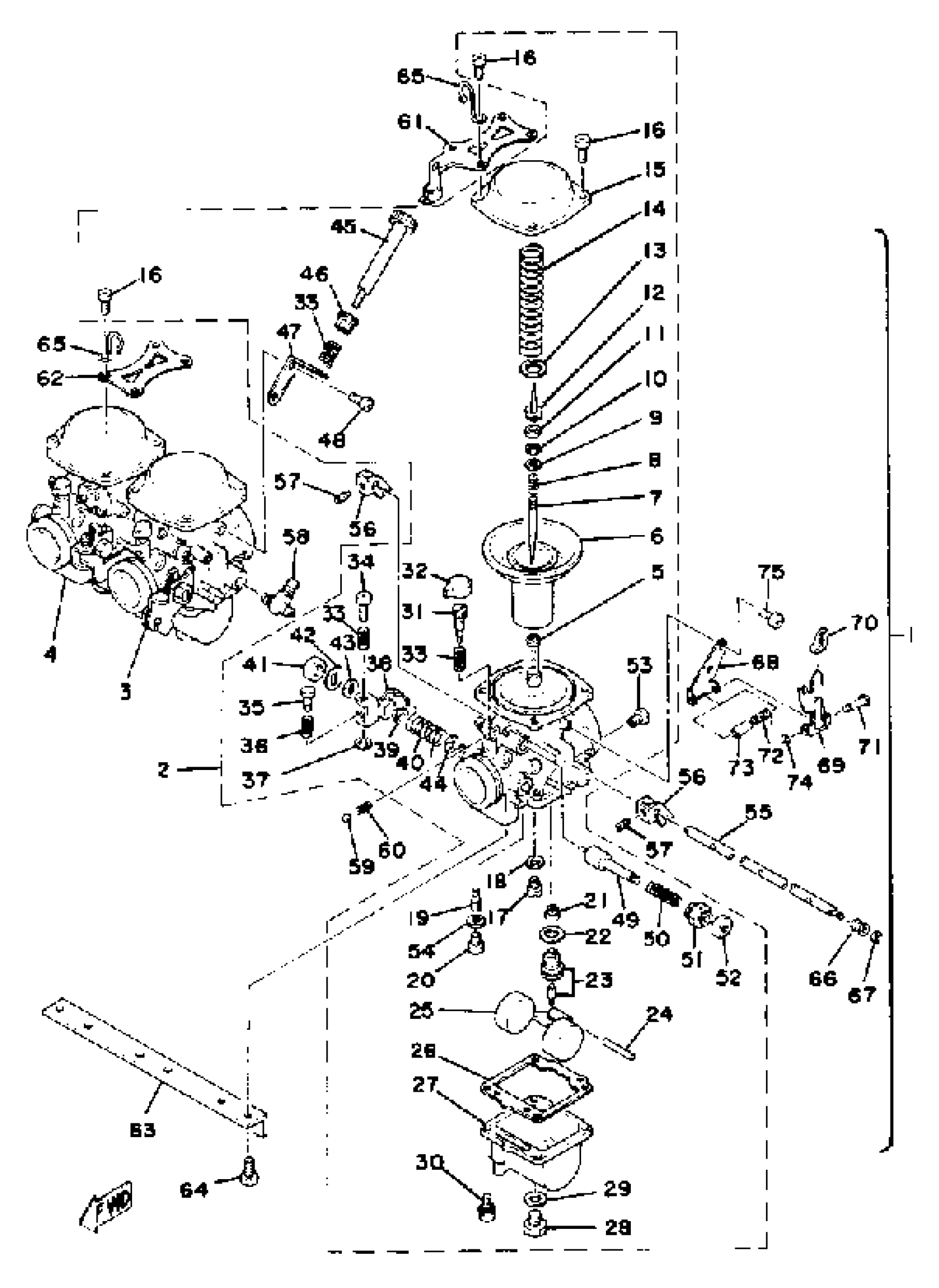
CARBURETOR
Yamaha XS750SF (XS750S) 1979 CARBURETOR Diagram
#
1
UNAVAILABLE IN PRICE BOOK
(2G2-14900-00-00)
Unavailable
2
CARBURETOR ASSEMBLY 1
(2G2-14901-00-00)
Unavailable
3
. CARBURETOR ASSEMBLY 2
2F3-14902-00-00
Unavailable
4
CARBURETOR ASSEMBLY 3
(2G2-14903-00-00)
Unavailable
5
.. NOZZLE, MAIN
2F3-14941-90-00
Unavailable
6
.. DIAPHRAGM ASSEMBLY
2F3-14940-00-00
Unavailable
7
.. NEEDLE
2F3-14116-06-00
Unavailable
8
.. SPRING
2F0-14589-00-00
Unavailable
9
.. WASHER
2F3-14952-00-00
Unavailable
11
.. RING
2F0-14918-00-00
Unavailable
12
PLATE, NEEDLE FTNG
(2F3-14946-00-00)
Unavailable
13
.. CLIP
2F0-14919-00-00
Unavailable
14
.. SPRING, DIAPHRAGM
1M0-14933-00-00
Unavailable
15
COVER, DIAPHRAGM
(2F3-14958-00-00)
Unavailable
15
COVER, DIAPHRAGM
(2G2-14958-00-00)
Unavailable
16
SCREW, PAN HEAD(3YL)
98580-05014-00
Unavailable
17
JET, MAIN (#130)
620-14231-26-A0
Unavailable
18
WASHER,MAIN JET
137-14153-00-00
Unavailable
19
.. JET, PILOT #425
256-14142-42-A0
Unavailable
20
.. SCREW
2F1-14991-00-00
Unavailable
21
NET, FILTER
1J7-14994-00-00
Unavailable
22
WASHER,VALVE SEAT
239-14195-00-00
Unavailable
23
VALVE SEAT ASSY
1J7-14190-20-00
Unavailable
24
PIN, FLOAT
537-14186-00-00
Unavailable
25
FLOAT
2A2-14985-01-00
Unavailable
26
GASKET, FLOAT CHAMBER
2A2-14984-01-00
Unavailable
27
BODY, FLOAT CHAMBER
(2A2-14981-06-00)
Unavailable
27
BODY, FLOAT CHAMBER
(2G2-14981-06-00)
Unavailable
27
BODY, FLOAT CHAMBER
(2H7-14981-06-00)
Unavailable
28
. SCREW
1A8-14991-00-00
Unavailable
29
WASHER
256-14956-01-00
Unavailable
30
SCREW, PN/HD.W/WSHR
(97601-05114-00)
Unavailable
31
SCREW, PILOT
2A2-14923-00-00
Unavailable
32
CAP
8A7-14969-00-00
Unavailable
33
.. SPRING, THROTTLE STOP
256-14934-01-00
Unavailable
34
.. SCREW, THROTTLE STOP
256-14922-01-00
Unavailable
35
. ROD, PUSH
584-14992-00-00
Unavailable
36
SPRING, THROTTLE STOP
(584-14934-00-00)
Unavailable
37
. CLIP
256-14937-00-00
Unavailable
38
LEVER, THROTTLE
(2F3-14913-00-00)
Unavailable
38
LEVER, THROTTLE 4
(2F3-14963-00-00)
Unavailable
38
LEVER, THROTTLE 2
(2F3-14964-00-00)
Unavailable
39
RING
(2A2-14918-00-00)
Unavailable
40
SPRING, THRTL 2
(2A2-14932-00-00)
Unavailable
40
SPRING, THRTL LEVER
(2F3-14931-00-00)
Unavailable
40
SPRING, THRTL 2
(2F3-14932-00-00)
Unavailable
41
NUT(6L2)
95333-08600-00
Unavailable
42
.. WASHER
256-14953-00-00
Unavailable
43
VALVE, THROTTLE
(306-14970-00-00)
Unavailable
44
SEAL
2A2-14997-00-00
Unavailable
45
.. SCREW, THROTTLE
2A2-14922-00-00
Unavailable
46
.. BUSH
1J7-14998-00-00
Unavailable
47
PLATE
(2F3-14243-00-00)
Unavailable
48
SCREW, PAN HEAD (713)
98580-04008-00
Unavailable
49
.. PLUNGER, STARTER
2A2-14171-00-00
Unavailable
50
. SPRING, PLUNGER
256-14135-00-00
Unavailable
51
.. CAP, PLUNGER
2A2-14174-00-00
Unavailable
52
.. COVER, PLUNGER CAP
2A2-14173-00-00
Unavailable
53
.. PILOT JET, AIR #180
2A2-14172-36-00
Unavailable
54
.. WASHER, PLUG SCREW
584-14956-00-00
Unavailable
55
. SHAFT, STARTER LVR
2F3-14978-00-00
Unavailable
56
LEVER, STARTER
(2A2-14905-00-00)
Unavailable
57
. SCREW
2F3-14991-00-00
Unavailable
58
NIPPLE, CARBURETOR JOINT
1J7-14988-00-00
Unavailable
59
BALL
93501-08001-00
Unavailable
60
SPRING
583-14589-00-00
Unavailable
61
BRACKET, THROTTLE 1
(2F3-14926-00-00)
Unavailable
62
PLATE
(1J7-14243-00-00)
Unavailable
63
PLATE
(1J7-14146-00-00)
Unavailable
64
SCREW, PAN
98507-06014-00
Unavailable
65
. CLAMP
90462-13032-00
Unavailable
66
. BUSH
2F3-14998-00-00
Unavailable
67
. CLIP
737-14137-00-00
Unavailable
68
. BRACKET
3H3-14995-00-00
Unavailable
69
. LEVER, STARTER 1
2F3-14975-00-00
Unavailable
70
. CAP
2F3-14968-00-00
Unavailable
71
. PIN, FLOAT
2F3-14386-00-00
Unavailable
72
. SPRING
2F3-14938-00-00
Unavailable
73
PIPE
(2F3-14996-00-00)
Unavailable
74
. CLIP
2F3-14919-00-00
Unavailable
75
SCREW, PAN HEAD (713)
98580-04008-00
Unavailable
