- Partiron
- OEM Parts
- Yamaha
- motorcycle
- 1977
- XS750D (XS750) 1977
HEAD LAMP
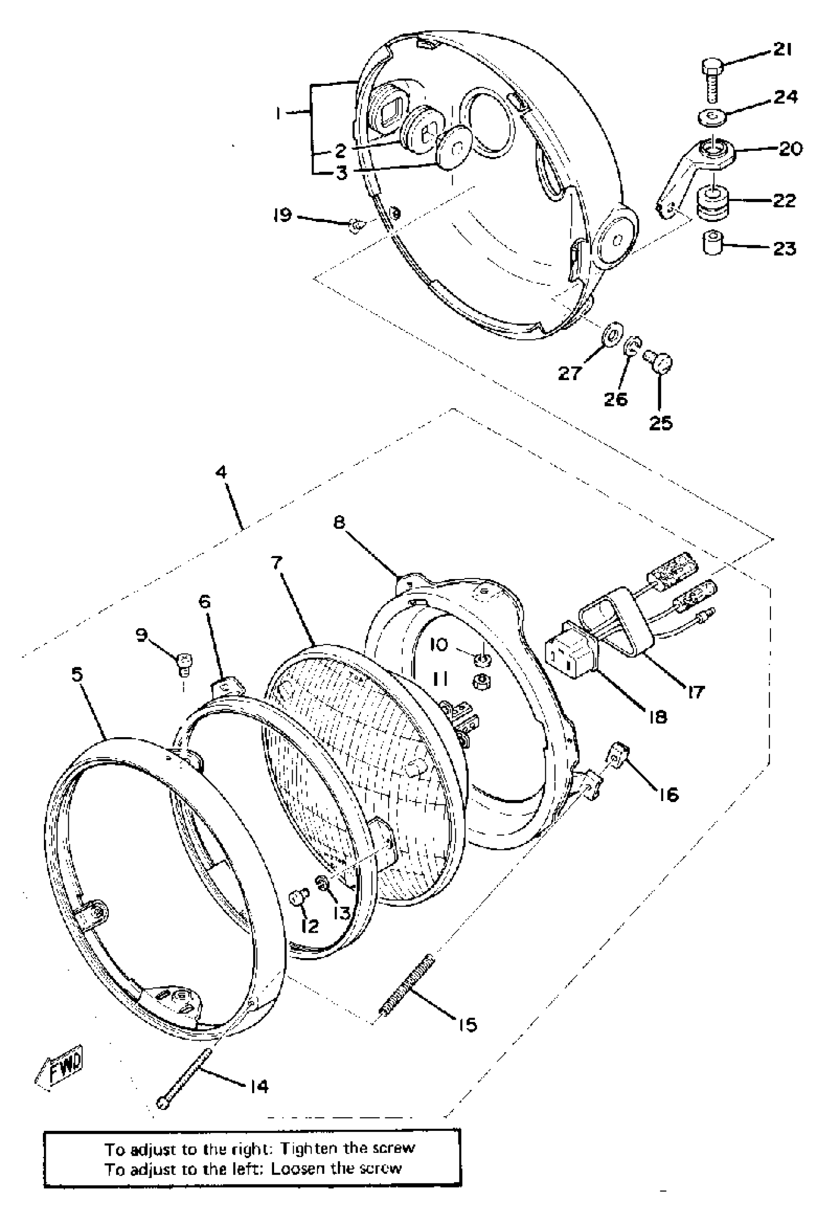
Yamaha XS750D (XS750) 1977 HEAD LAMP Diagram
#
Description
Price
1
BODY ASSEMBLY
1J7-84330-62-33
Unavailable
7
. LENS ASSEMBLY
341-84320-60-00
Unavailable
8
RING, MOUNTING
2F9-84394-00-00
Unavailable
9
SCREW, PAN HEAD(62X)
97885-05010-00
Unavailable
14
. SCREW, RIM ADJUSTING
447-84331-61-00
Unavailable
17
. COVER, SOCKET
341-84397-61-00
Unavailable
18
SOCKET
371-84312-60-00
Unavailable
19
SCREW, OVAL HEAD (1A0)
90152-05005-00
Unavailable
20
STAY, HEADLIGHT 1
1J7-84318-00-00
Unavailable
21
BOLT, HEXAGON
97017-06025-00
Unavailable
22
GROMMET 341843360000
90480-16114-00
Unavailable
23
COLLAR (1T2)
90387-07598-00
Unavailable
24
WASHER, PLATE (J10)
90201-06697-00
Unavailable
25
SCREW, PAN
98507-06014-00
Unavailable
26
WASHER, SPRING
92995-06100-00
Unavailable
27
WASHER, PLATE
90201-06380-00
Unavailable
