Yamaha XS650SE-114241 (XS650SE-114241) 1978 INTAKE Diagram
#
Description
Price
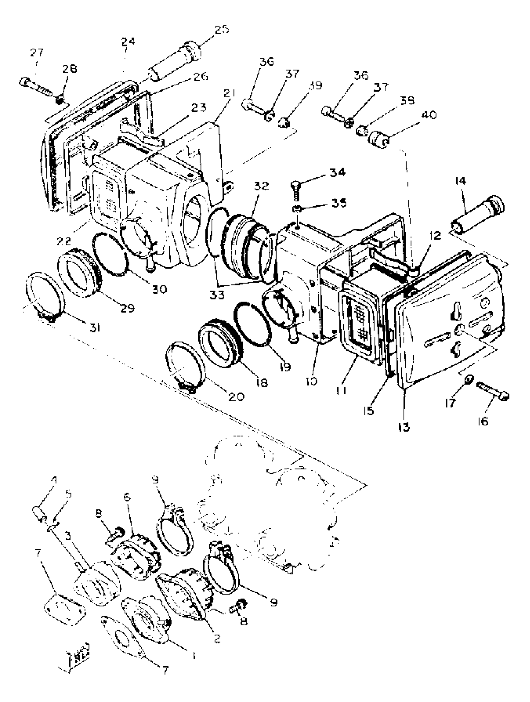
2
JOINT, CARBURETOR 1
2F0-13586-00-00
Unavailable
3
JOINT, CARBURETOR 2
2F0-13596-00-00
Unavailable
4
COVER, CARB.JOINT
2F0-13564-00-00
Unavailable
5
COVER, CARB.JOINT
2F0-13584-00-00
Unavailable
6
BOLT,SOCKET
91317-06020-00
Unavailable
8
JOINT, AIR CLNR 1
341-14453-00-00
Unavailable
9
SPRING, TENSION (256-14487-00)
90506-06006-00
Unavailable
10
CASE, AIR CLEANER 1
(1E1-14411-00-00)
Unavailable
11
CASE, AIR CLEANER 2
(1E1-14421-00-00)
Unavailable
15
WASHER, SPRING
92995-06100-00
Unavailable
16
JOINT, AIR CLNR 2
447-14463-01-00
Unavailable
17
SPRING, TENSION (8R4)
90506-06261-00
Unavailable
18
ELEMENT, AIR CLEANER
533-14451-01-00
Unavailable
19
PLATE, ELEMENT FTNG
533-14468-02-00
Unavailable
20
CAP, CLEANER CASE 1
(447-14412-01-00)
Unavailable
21
CAP, CLEANER CASE 2
447-14422-01-00
Unavailable
22
BOLT(3JP)
97017-06010-00
Unavailable
23
COLLAR
(1E1-14449-00-00)
Unavailable
