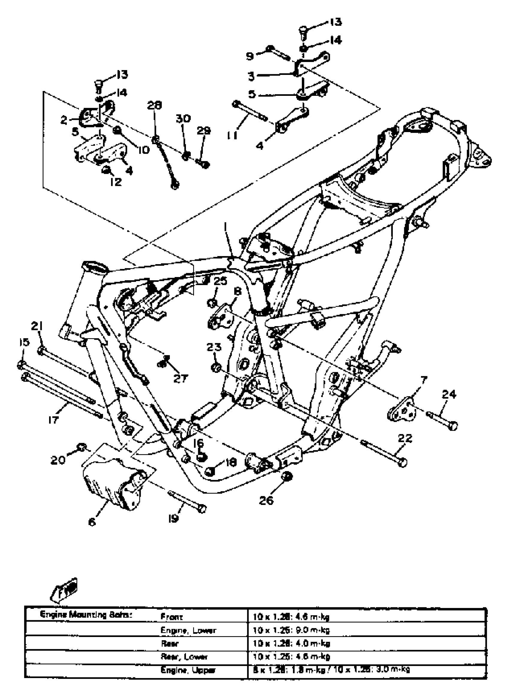
Yamaha XS650SE-114241 (XS650SE-114241) 1978 FRAME Diagram
#
Description
Price
1
FRAME
(2M0-21110-00-33)
Unavailable
2
STAY, ENGINE 1
447-21314-00-00
Unavailable
3
STAY, ENGINE 2
447-21315-00-00
Unavailable
4
STAY, ENGINE 4
256-21317-01-00
Unavailable
5
STAY, ENGINE 3
256-21316-01-00
Unavailable
11
STAY, ENGINE 5
447-21318-00-98
Unavailable
12
BOLT, WASHER BASED (3Y1)
90105-10139-00
Unavailable
16
STAY, ENGINE 6
447-21319-00-00
Unavailable
17
STAY, ENGINE 7
447-21387-00-00
Unavailable
18
BOLT, FLANGE(7LU)
95817-10070-00
Unavailable
19
BOLT, DOME HEAD
90106-10029-00
Unavailable
21
BOLT(30W)
90109-101A0-00
Unavailable
22
BAND, SWITCH CORD
25G-83936-01-00
Unavailable
23
BAND, SWITCH CORD
437-83936-11-00
Unavailable
24
REFLECTOR, FRONT 1
355-85111-01-00
Unavailable
25
YBS67-5 WASHER, SPRING
92990-05100-00
Unavailable
26
. WASHER, PLAIN
92990-05200-00
Unavailable
