- Partiron
- OEM Parts
- Yamaha
- motorcycle
- 1981
- XS650H (XS650) 1981
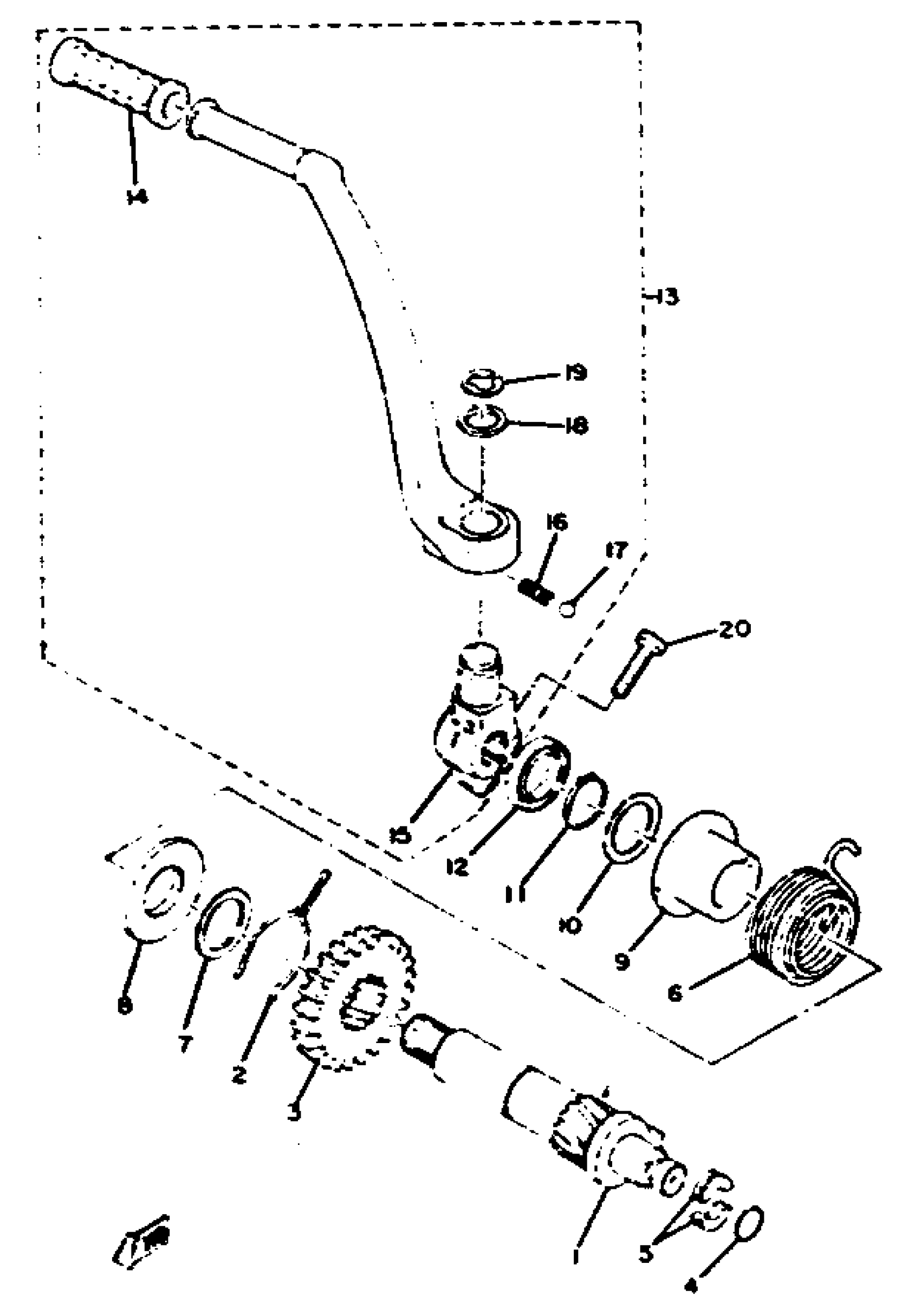
KICK STARTER
Yamaha XS650H (XS650) 1981 KICK STARTER Diagram
#
Description
Price
1
KICK AXLE ASSEMBLY
(256-15660-02-00)
Unavailable
2
CLIP
(90468-26044-00)
Unavailable
3
GEAR, KICK
306-15641-01-00
Unavailable
4
CLIP
(256-15673-00-00)
Unavailable
5
HOLDER, KICK GEAR
(256-15654-00-00)
Unavailable
6
SPRING, TORSION
90508-32062-00
Unavailable
7
SHIM (0.1MM)
611-45567-00-01
Unavailable
7
SHIM
(611-45567-00-03)
Unavailable
7
SHIM (0.5MM)
611-45567-00-05
Unavailable
8
SPACER (856-23858-00)
90560-25048-00
Unavailable
9
GUIDE, SPRING
256-15664-01-00
Unavailable
10
WASHER, PLATE(1FK)
90201-256K6-00
Unavailable
13
KICK CRANK ASSY
1JN-15610-00-00
Unavailable
14
COVER, KICK LEVER
156-15618-01-00
Unavailable
15
BOSS, KICK CRANK
(2M0-15621-00-00)
Unavailable
16
SPRING COMPRESSION278156220000
90501-12081-00
Unavailable
17
BALL (12R)
93507-32031-00
Unavailable
18
WASHER PLATE 278156130000
90201-15234-00
Unavailable
19
CIRCLIP
99006-10600-00
Unavailable
20
BOLT, HEXAGON
97013-08030-00
Unavailable
