- Partiron
- OEM Parts
- Yamaha
- motorcycle
- 1981
- XS650H (XS650) 1981
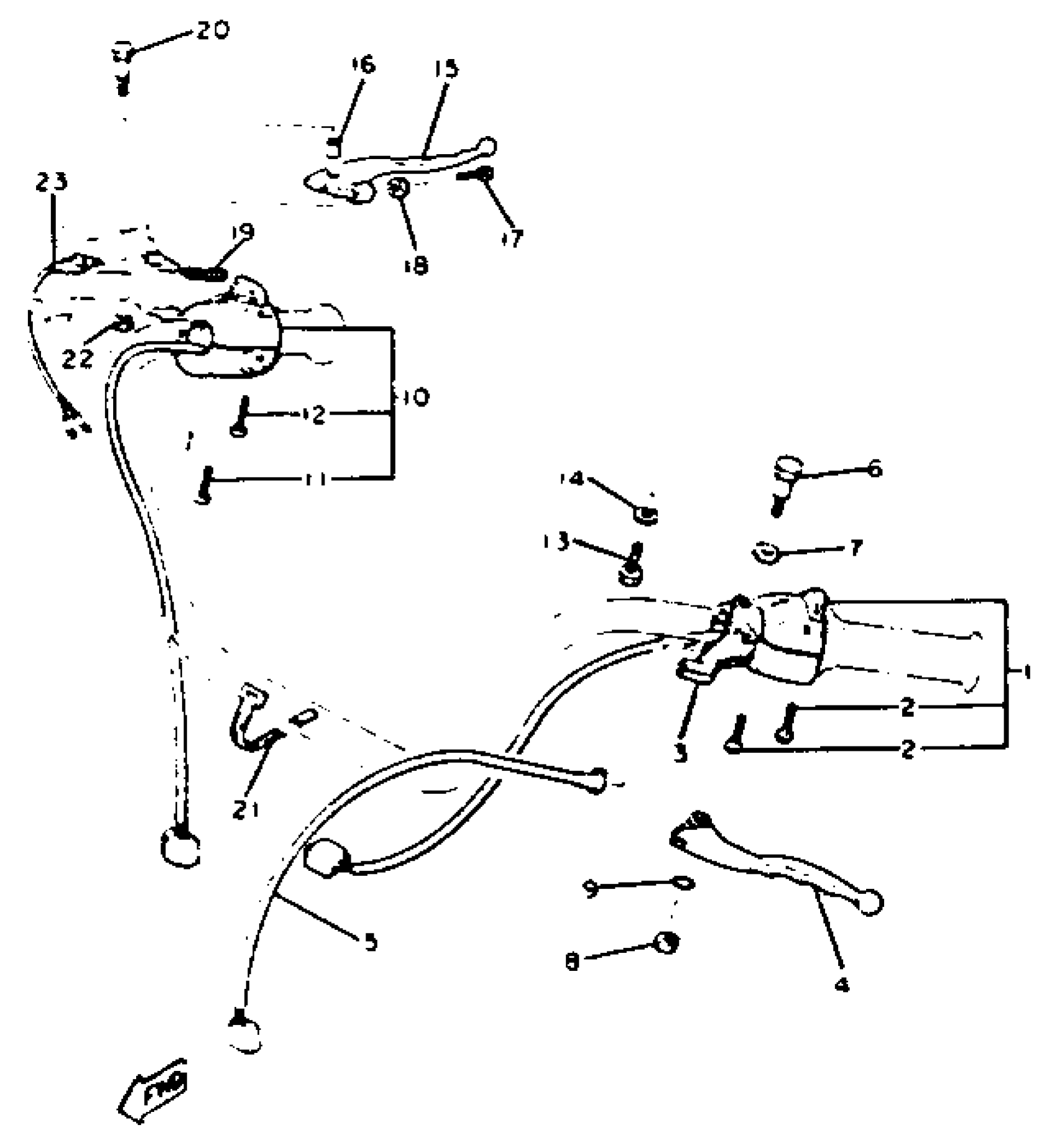
HANDLE SWITCH LEVER
Yamaha XS650H (XS650) 1981 HANDLE SWITCH LEVER Diagram
#
Description
Price
1
SWITCH, HANDLE 3
1T3-83973-00-00
Unavailable
5
SWITCH
3Y6-82917-00-00
Unavailable
10
SWITCH, HANDLE 2LR
2L0-83975-01-98
Unavailable
13
BOLT, HEXAGON
97007-06022-00
Unavailable
16
BUSH, SPEC''L NYLON
90386-08094-00
Unavailable
17
SCREW (2L0)
90149-06131-00
Unavailable
18
NUT HEXAGON 306839270000
90170-06010-00
Unavailable
19
SPRING COMPRESSION306839240000
90501-10312-00
Unavailable
20
BOLT (4L0)
90109-06577-00
Unavailable
21
BAND, SWITCH CORD
437-83936-01-00
Unavailable
23
FRONT STOP SWITCH ASSY
26H-83980-00-00
Unavailable
