- Partiron
- OEM Parts
- Yamaha
- motorcycle
- 1982
- XS400J (XS400) 1982
TURNSIGNAL
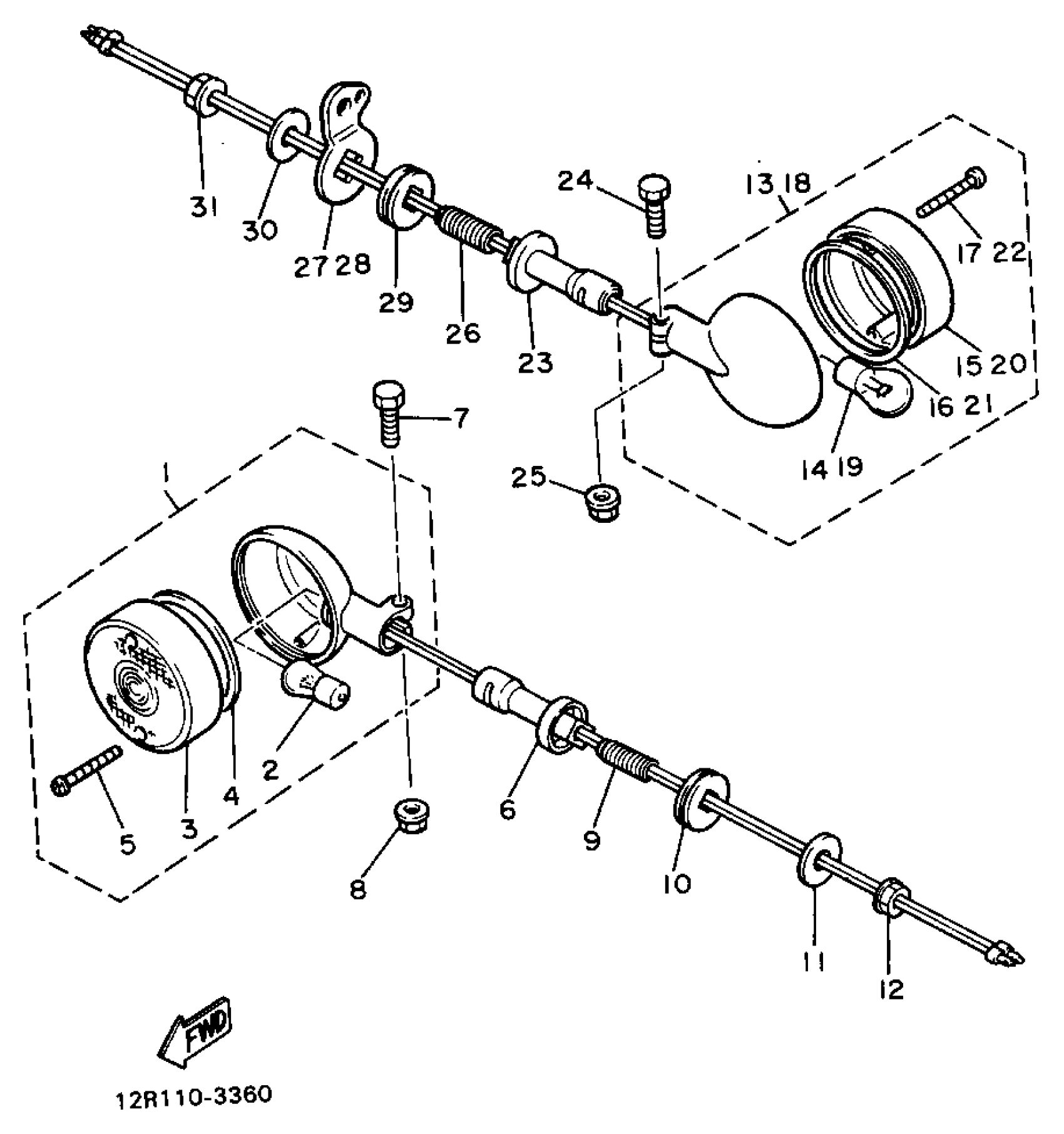
Yamaha XS400J (XS400) 1982 TURNSIGNAL Diagram
#
Description
Price
1
REAR FLASHER LIGHT ASSY
5K5-83330-K0-00
Unavailable
2
. BULB (12V-32CP)
256-83311-70-XX
Unavailable
3
LENS, FLASHER
4H7-83312-00-00
Unavailable
6
STAY, FLASHER 2
4X7-83328-00-00
Unavailable
9
BLT, FLSHR STY FTNG
4X7-83325-00-00
Unavailable
13
REAR FLASHER LIGHT ASSY
5K5-83330-K0-00
Unavailable
14
. BULB (12V-32CP)
256-83311-70-XX
Unavailable
15
LENS, FLASHER
4H7-83312-00-00
Unavailable
18
REAR FLASHER LIGHT ASSY
5K5-83330-K0-00
Unavailable
19
. BULB (12V-32CP)
256-83311-70-XX
Unavailable
20
LENS, FLASHER
4H7-83312-00-00
Unavailable
23
STAY, FLASHER 2
4X7-83328-00-00
Unavailable
26
BLT, FLSHR STY FTNG
4X7-83325-00-00
Unavailable
27
STAY, FLASHER
12R-83368-01-00
Unavailable
28
STAY, FLASHER
12R-83369-01-00
Unavailable
